AUDIO AND VISUAL SYSTEM


  1. OUTLINE


    1. Audio System


      1. The audio systems shown below are available:

        Audio System Audio Head Unit Speaker
        Lexus Display Audio System Radio Receiver Assembly 8 Speakers
        Navigation System 8 Speakers
        15 Speakers
    2. Audio Head Unit


      1. In consideration of the unity with the instrument panel, a uniquely sized audio head unit is provided.

      2. A Thin Film Transistor Liquid Crystal Display (TFT LCD) is used for the multi-display, enabling operation of the audio screen, Bluetooth hands-free screen, vehicle information screen, etc. using the Lexus display audio controller (remote operation board)*1 or remote touch*2.

        Tech Tips

        For details on the remote touch, refer to the navigation system/multi information system section. Click here


        • *1: Models with Lexus display audio system

        • *2: Models with navigation system

      3. Due to the change in the multi-display location, the Lexus display audio controller (remote operation board) is used to ensure operability.

        A0002QG
      4. The audio source can be switched on the audio source selection screen. The arrangement of the audio sources displayed on the audio source screen can be changed according to the frequency of use.

        A0002HME02
        Audio Source Selection Screen
        *1 Navigation System
        *2 Lexus Display Audio System
        *3 The illustrations shown are examples only. The illustrations may differ from the actual vehicle screens.
      5. The status of the currently selected audio source can be displayed on the multi-information display in the combination meter assembly.

      6. The MirrorLink function is provided. This function enables the user to operate their smartphone using the multi-display by connecting it to the system via a USB cable.*

        *: Models with Lexus display audio system

      7. Discs containing MPEG audio layer-3 (MP3) files, Windows Media Audio (WMA) files and Advanced Audio Coding (AAC) files can be played.

      8. Discs with the marks shown below can be played.

        A0003B4E01
        Text in Illustration
        *A Destination Package for Southeast Asia *B Models with Lexus Display Audio System (Destination Packages for South Africa, Southeast Asia and Taiwan)
        *C Models with Navigation System - -
    3. Digital Audio Broadcast (DAB) (Models for Australia and Destination Package for South Africa)


      1. Digital Audio Broadcast (DAB) reception is available. This mostly prevents broadcast interference, achieving clear reception with high quality sound.

      2. The time shift operation function can be used to play back DAB programs at a later time.

        Tech Tips

        The amount of playback possible depends on the bit rate of the DAB station to be recorded, the amount of DAB unit memory, and the time at which reception of the broadcast began.

    4. Sound Library (Models for China with Navigation System)


      1. A sound library function that can compress music sound data using Advanced Audio Coding (AAC) compression technology and record the data to the Hard Disk Drive (HDD) is provided.

      2. A Hard Disk Drive (HDD) is used in the radio receiver assembly. The HDD is available separately, enhancing serviceability. For details, refer to the Repair Manual.

        A0002MBE02
        Text in Illustration
        *1 Radio Receiver Assembly *2 Hard Disk Drive
    5. Automatic Sound Levelizer (ASL)


      1. The Automatic Sound Levelizer (ASL) function automatically adjusts the audio system volume level in order to compensate for increased vehicle noise (vehicle noise tends to increase as vehicle speed increases).

      2. Vehicle speed signals are received from the combination meter assembly and used for ASL control.

    6. Clari-Fi Music Restoration Technology (Models with Navigation System (with 15-speakers))


      1. Files such as an MP3 or AAC have lost the audio details of the original music source during the file compression process. The Clari-Fi technology is used to restore the lost audio details and optimize data.

      2. During playback of a compressed music file, the Clari-Fi technology improves the frequency characteristics, dynamic range, low frequency sounds, etc. of the music file in real time, recreating the wide soundstage of the original music source.

    7. USB/AUX Port System


      1. 2 USB ports are provided so that up to 2 of the following items can be available at once: USB memory device, portable audio player (USB type), iPhone, iPod classic, iPod, iPod nano or iPod touch.

      2. The USB system enables playback of video data stored on a USB memory device and the display of photo data. (Models with Lexus display audio system or navigation system*)

        *: Except models for Australia and China

      3. Videos stored on a video capable device such as an iPod or VTR, can be displayed on the multi-display by connecting the video capable device to the AUX port using a dedicated 4- pole AUX cable.

        A000305

        Tech Tips


        • Even if 3 or more USB devices are connected using a USB hub, only the first 2 connected USB devices will be recognized.

        • In order to display video from an iPod, it is necessary to connect the iPod to the USB and AUX ports using a dedicated iPod video cable and dedicated 4-pole AUX cable and select "video sound input cable" from the "iPod Settings" screen.

        • Depending on the specifications of the 4-pole AUX cable used for connecting a video capable device such as an iPod or VTR, the video function may not operate correctly. Use a dedicated 4-pole AUX cable as shown in the illustration when using the video function.

          A0002TLE01
        • iPhone, iPod, iPod classic, iPod nano and iPod touch are trademarks of Apple Inc., registered in the U.S. and other countries.

        • The following iPod, iPod nano, iPod classic, iPod touch and iPhone devices can be used with this system.


          • Made for
          • iPod touch (5th generation)*

          • iPod touch (4th generation)

          • iPod touch (3rd generation)

          • iPod touch (2nd generation)

          • iPod touch (1st generation)

          • iPod classic

          • iPod with video

          • iPod nano (7th generation)*

          • iPod nano (6th generation)

          • iPod nano (5th generation)

          • iPod nano (4th generation)

          • iPod nano (3rd generation)

          • iPod nano (2nd generation)

          • iPod nano (1st generation)

          • iPhone 5*

          • iPhone 4S

          • iPhone 4

          • iPhone 3GS

          • iPhone 3G

          • iPhone


          • *: iPod video not supported.

        • Depending on differences between models, software versions etc., some models may be incompatible with this system.

        • USB memory devices that meet the following specifications are supported:

          USB Communication Speed
          • USB 2.0, Full Speed (12 Mbps)

          • USB 2.0, High Speed (480 Mbps)

          File System FAT 16/32 (Windows)
          Device Class Mass Storage Class
          File Format MP3, WMA, AAC
      4. Photo data, which meets the following specifications, is supported:

        File Format JPEG
        Compatible Image Size Maximum 10MB
        Compatible Pixel Size Maximum 10,000,000 pixels
      5. Video data, which meets the following specifications, is supported:

        File Format WMV, AVI, MP4
        Compatible Image Size Maximum 1920 X 1080
        Compatible Pixel Size Maximum 60 i/30 p
    8. Bluetooth Audio System


      1. The Bluetooth audio system enables users to enjoy music stored on a portable audio player from the vehicle speakers via Bluetooth communication.

      2. The Bluetooth specifications and profiles required for operation are as follows:

        Specification / Profile Version
        Requirements Recommendations
        Bluetooth Specification Version 1.1 Version 3.0 + EDR
        Profile Advanced Audio Distribution Profile (A2DP) Version 1.0 or higher Version 1.2 or higher
        Audio/Video Remote Control Profile (AVRCP) Version 1.0 or higher Version 1.4 or higher
    9. Bluetooth Hands-free System


      1. The Bluetooth hands-free system allows the user to make or receive a call without taking their hands off the steering wheel when the system is linked with a Bluetooth-compatible cellular phone.

        Specification / Profile Version
        Requirements Recommendations
        Bluetooth Specification Version 1.1 Version 3.0 + EDR
        Profile Hands Free Profile (HFP) Version 1.0 or higher Version 1.6 or higher
        Object Push Profile (OPP) Version 1.1 or higher Version 1.2 or higher
        Phone Book Access Profile (PBAP) Version 1.0 or higher Version 1.1 or higher
        Message Access Profile (MAP)*1 - Version 1.0 or higher
        Serial Port Profile (SPP)*2*3 - Version 1.1 or higher
        Dial-up Networking Profile (DUN)*4 Version 1.1 or higher -

        • *1: Destination package for South Africa with navigation system

        • *2: Models for China with navigation system

        • *3: Models for Australia

        • *4: Models for China

        Tech Tips


        • The operation of the interrupt call function of the Bluetooth hands-free system may vary with the Bluetooth phone or the telephone company that is used.

          A0002QO "Bluetooth" is a trademark owned by Bluetooth SIG, Inc.
        • Some profiles described above may not be supported by the system depending on the audio head unit equipped.

        • If the specification of the connected Bluetooth phone is lower than the recommended or does not support the functions required, the available functions may be limited.

        • Registration and connection of a Bluetooth phone is not available when only Object Push Profile (OPP), Phone Book Access Profile (PBAP) and MAP (Message Access Profile) are supported.

      2. When a Bluetooth phone is connected to the audio head unit, e-mails and Short Message Service (SMS) messages received on the phone can be displayed or read out. In addition, it is possible to reply to the received e-mails and send Short Message Service (SMS) messages. (Messages may not be displayed depending on the message service or profile that the connected Bluetooth phone supports.)

    10. Status Display (Models with Lexus Display Audio System or Navigation System)


      1. The user can confirm the Wi-Fi and Bluetooth connection statuses, and signal strength and remaining battery level of a cellular phone which is connected by Bluetooth, using the status bar displayed on the screen. The status bar is displayed in all modes.

        A0002OME01
        Item Outline
        (1) G-BOOK network communication device Displays the communication device communicating with the G-BOOK network.
        (2) Telematics transceiver (data communication module) signal strength*1 Displays the signal strength of the telematics transceiver (data communication module).
        (3) Bluetooth connection status Displays the Bluetooth connection status between the audio head unit and cellular phone.
        (4) Cellular phone signal strength*2 Displays the signal strength of the cellular phone connected by Bluetooth.
        (5) Cellular phone battery level*2 Displays the battery level of the cellular phone connected by Bluetooth.

        • *1: Models for China with G-BOOK system

        • *2: May not be displayed depending on the Bluetooth specifications and profiles of the cellular phone.

    11. Steering Pad Switch


      1. Switches that the driver often uses are provided on the steering wheel for convenience.

    12. Cooler Control Switch Assembly (Rear Seat Audio Control Panel)


      1. A controller is provided on the rear seat center armrest assembly, enabling the rear seat occupants to adjust the volume and change the audio sources.

  2. MAJOR DIFFERENCE


    1. The new models have been modified from the previous models as shown below:


      1. Models for Europe (destination package for Russia) have been discontinued.

      2. The design of the steering pad switch assembly has been changed.

      3. Information from the audio system is now displayed on the multi-information display in the combination meter assembly.

  3. SPECIFICATION


    1. Audio System

      LHD Models
      Audio Head Unit Design Specification Destination
      Radio Receiver Assembly A0002H7

      Lexus Display Audio System:


      • Display Language Supported: English, Simplified Chinese and Traditional Chinese

      • AM/FM Tuner

      • Digital Sound Processor (DSP)

      • Automatic Sound Levelizer (ASL)

      • CD Player: Compatible with MP3, Windows Media Audio (WMA) and Advanced Audio Coding (AAC) files

      • CD-TEXT Display Function

      • Bluetooth Audio System

      • Bluetooth Hands-free System

      • Portable Audio Player (USB type) Interface

      • iPod/iPhone Interface

      • USB Memory Device Interface

      • USB Photo

      • MirrorLink Function

      • Stereo Jack Adapter (4-pole AUX cable supported)

      • Customizable vehicle settings can be changed

      • 8-speaker System

      • Unit: Fujitsu Ten

      • Stereo Amplifier: Pioneer

      China
      Radio Receiver Assembly A0002I9

      Lexus Display Audio System:


      • Display Language Supported: Taiwanese

      • AM/FM Tuner

      • Digital Sound Processor (DSP)

      • Automatic Sound Levelizer (ASL)

      • CD/DVD Player: Compatible with MP3, Windows Media Audio (WMA) and Advanced Audio Coding (AAC) files

      • CD-TEXT Display Function

      • Bluetooth Audio System

      • Bluetooth Hands-free System

      • Portable Audio Player (USB type) Interface

      • iPod/iPhone Interface

      • USB Memory Device Interface

      • USB Photo

      • MirrorLink Function

      • Stereo Jack Adapter (4-pole AUX cable supported)

      • Customizable vehicle settings can be changed

      • 8-speaker System

      • Unit: Fujitsu Ten

      • Stereo Amplifier: Pioneer

      Taiwan
      Radio Receiver Assembly A0003AC

      Navigation System:


      • Display Language Supported: English, Simplified Chinese and Traditional Chinese

      • AM/FM Tuner

      • Real-time Traffic Information of China (RTIC)

      • Digital Sound Processor (DSP)

      • Automatic Sound Levelizer (ASL)

      • CD/DVD Player: Compatible with MP3, Windows Media Audio (WMA) and Advanced Audio Coding (AAC) files

      • CD-TEXT Display Function

      • HDD Audio (Sound Library)

      • Bluetooth Audio System

      • Bluetooth Hands-free System

      • Portable Audio Player (USB type) Interface

      • iPod/iPhone Interface

      • USB Memory Device Interface

      • Stereo Jack Adapter (4-pole AUX cable supported)

      • Customizable vehicle settings can be changed

      • 8-speaker System

      • Unit: Pioneer

      • microSD Card (Disc Player Disc): DENSO

      • Stereo Amplifier: Pioneer

      China
      Radio Receiver Assembly A0003CW

      Navigation System:


      • Display Language Supported: English, Simplified Chinese and Traditional Chinese

      • AM/FM Tuner

      • Real-time Traffic Information of China (RTIC)

      • Digital Sound Processor (DSP)

      • Automatic Sound Levelizer (ASL)

      • Clari-Fi Music Restoration Technology

      • CD/DVD Player: Compatible with MP3, Windows Media Audio (WMA) and Advanced Audio Coding (AAC) files

      • CD-TEXT Display Function

      • HDD Audio (Sound Library)

      • Bluetooth Audio System

      • Bluetooth Hands-free System

      • Portable Audio Player (USB type) Interface

      • iPod/iPhone Interface

      • USB Memory Device Interface

      • Stereo Jack Adapter (4-pole AUX cable supported)

      • Customizable vehicle settings can be changed

      • 15-speaker System

      • Unit: Pioneer

      • microSD Card (Disc Player Disc): DENSO

      • Stereo Amplifier: Mark Levinson

      China
      Radio Receiver Assembly A0003AC

      Navigation System:


      • Display Language Supported: Taiwanese

      • AM/FM Tuner

      • Radio Data System Traffic Message Channel (RDS-TMC) Tuner

      • Digital Sound Processor (DSP)

      • Automatic Sound Levelizer (ASL)

      • CD/DVD Player: Compatible with MP3, Windows Media Audio (WMA) and Advanced Audio Coding (AAC) files

      • CD-TEXT Display Function

      • Bluetooth Audio System

      • Bluetooth Hands-free System

      • Portable Audio Player (USB type) Interface

      • iPod/iPhone Interface

      • USB Memory Device Interface

      • USB Video

      • USB Photo

      • Stereo Jack Adapter (4-pole AUX cable supported)

      • Customizable vehicle settings can be changed

      • 8-speaker System

      • Unit: Pioneer

      • microSD Card (Disc Player Disc): Aisin AW

      • Stereo Amplifier: Pioneer

      Taiwan
      Radio Receiver Assembly A0003CW

      Navigation System:


      • Display Language Supported: Taiwanese

      • AM/FM Tuner

      • Radio Data System Traffic Message Channel (RDS-TMC) Tuner

      • Digital Sound Processor (DSP)

      • Automatic Sound Levelizer (ASL)

      • Clari-Fi Music Restoration Technology

      • CD/DVD Player: Compatible with MP3, Windows Media Audio (WMA) and Advanced Audio Coding (AAC) files

      • CD-TEXT Display Function

      • Bluetooth Audio System

      • Bluetooth Hands-free System

      • Portable Audio Player (USB type) Interface

      • iPod/iPhone Interface

      • USB Memory Device Interface

      • USB Video

      • USB Photo

      • Stereo Jack Adapter (4-pole AUX cable supported)

      • Customizable vehicle settings can be changed

      • 15-speaker System

      • Unit: Pioneer

      • microSD Card (Disc Player Disc): Aisin AW

      • Stereo Amplifier: Mark Levinson

      Taiwan
      RHD Models
      Audio Head Unit Design Specification Destination
      Radio Receiver Assembly A00031V

      Lexus Display Audio System:


      • Display Language Supported: English

      • AM/FM Tuner

      • Digital Audio Broadcast (DAB) Tuner

      • Digital Sound Processor (DSP)

      • Automatic Sound Levelizer (ASL)

      • CD/DVD Player: Compatible with MP3, Windows Media Audio (WMA) and Advanced Audio Coding (AAC) files

      • CD-TEXT Display Function

      • Bluetooth Audio System

      • Bluetooth Hands-free System

      • Portable Audio Player (USB type) Interface

      • iPod/iPhone Interface

      • USB Memory Device Interface

      • USB Video

      • USB Photo

      • MirrorLink Function

      • Stereo Jack Adapter (4-pole AUX cable supported)

      • Customizable vehicle settings can be changed

      • 8-speaker System

      • Unit: Fujitsu Ten

      • Stereo Amplifier: Pioneer

      South Africa
      Radio Receiver Assembly A00030T

      Lexus Display Audio System:


      • Display Language Supported: English, Thai, Malay and Indonesian

      • AM/FM Tuner

      • Digital Sound Processor (DSP)

      • Automatic Sound Levelizer (ASL)

      • CD/DVD Player: Compatible with MP3, Windows Media Audio (WMA) and Advanced Audio Coding (AAC) files

      • CD-TEXT Display Function

      • Video-CD (VCD) Display Function

      • Bluetooth Audio System

      • Bluetooth Hands-free System

      • Portable Audio Player (USB type) Interface

      • iPod/iPhone Interface

      • USB Memory Device Interface

      • USB Video

      • USB Photo

      • MirrorLink Function

      • Stereo Jack Adapter (4-pole AUX cable supported)

      • Customizable vehicle settings can be changed

      • 8-speaker System

      • Unit: Fujitsu Ten

      • Stereo Amplifier: Pioneer

      Southeast Asia
      Radio Receiver Assembly A0002M7

      Navigation System:


      • Display Language Supported: English

      • AM/FM Tuner

      • Digital Audio Broadcast (DAB) Tuner

      • Radio Data System Traffic Message Channel (RDS-TMC) Tuner

      • Digital Sound Processor (DSP)

      • Automatic Sound Levelizer (ASL)

      • CD/DVD Player: Compatible with MP3, Windows Media Audio (WMA) and Advanced Audio Coding (AAC) files

      • CD-TEXT Display Function

      • Bluetooth Audio System

      • Bluetooth Hands-free System

      • Portable Audio Player (USB type) Interface

      • iPod/iPhone Interface

      • USB Memory Device Interface

      • Voice Recognition Search (USB Audio System)

      • Stereo Jack Adapter (4-pole AUX cable supported)

      • Customizable vehicle settings can be changed

      • 8-speaker System

      • Unit: Pioneer

      • microSD Card (Disc Player Disc): DENSO

      • Stereo Amplifier: Pioneer

      Australia
      Radio Receiver Assembly A0003CY

      Navigation System:


      • Display Language Supported: English

      • AM/FM Tuner

      • Digital Audio Broadcast (DAB) Tuner

      • Radio Data System Traffic Message Channel (RDS-TMC) Tuner

      • Digital Sound Processor (DSP)

      • Automatic Sound Levelizer (ASL)

      • Clari-Fi Music Restoration Technology

      • CD/DVD Player: Compatible with MP3, Windows Media Audio (WMA) and Advanced Audio Coding (AAC) files

      • CD-TEXT Display Function

      • Bluetooth Audio System

      • Bluetooth Hands-free System

      • Portable Audio Player (USB type) Interface

      • iPod/iPhone Interface

      • USB Memory Device Interface

      • Voice Recognition Search (USB Audio System)

      • Stereo Jack Adapter (4-pole AUX cable supported)

      • Customizable vehicle settings can be changed

      • 15-speaker System

      • Unit: Pioneer

      • microSD Card (Disc Player Disc): DENSO

      • Stereo Amplifier: Mark Levinson

      Australia
      Radio Receiver Assembly A0002ZD

      Navigation System:


      • Display Language Supported: English

      • AM/FM Tuner

      • Digital Audio Broadcast (DAB) Tuner

      • Radio Data System Traffic Message Channel (RDS-TMC) Tuner

      • Digital Sound Processor (DSP)

      • Automatic Sound Levelizer (ASL)

      • CD/DVD Player: Compatible with MP3, Windows Media Audio (WMA) and Advanced Audio Coding (AAC) files

      • CD-TEXT Display Function

      • Bluetooth Audio System

      • Bluetooth Hands-free System

      • Portable Audio Player (USB type) Interface

      • iPod/iPhone Interface

      • USB Memory Device Interface

      • USB Video

      • USB Photo

      • Voice Recognition Search (USB Audio System)

      • Stereo Jack Adapter (4-pole AUX cable supported)

      • Customizable vehicle settings can be changed

      • 8-speaker System

      • Unit: Pioneer

      • microSD Card (Disc Player Disc): Aisin AW

      • Stereo Amplifier: Pioneer

      South Africa
      Radio Receiver Assembly A0002LQ

      Navigation System:


      • Display Language Supported: English

      • AM/FM Tuner

      • Digital Audio Broadcast (DAB) Tuner

      • Radio Data System Traffic Message Channel (RDS-TMC) Tuner

      • Digital Sound Processor (DSP)

      • Automatic Sound Levelizer (ASL)

      • Clari-Fi Music Restoration Technology

      • CD/DVD Player: Compatible with MP3, Windows Media Audio (WMA) and Advanced Audio Coding (AAC) files

      • CD-TEXT Display Function

      • Bluetooth Audio System

      • Bluetooth Hands-free System

      • Portable Audio Player (USB type) Interface

      • iPod/iPhone Interface

      • USB Memory Device Interface

      • USB Video

      • USB Photo

      • Voice Recognition Search (USB Audio System)

      • Stereo Jack Adapter (4-pole AUX cable supported)

      • Customizable vehicle settings can be changed

      • 15-speaker System

      • Unit: Pioneer

      • microSD Card (Disc Player Disc): Aisin AW

      • Stereo Amplifier: Mark Levinson

      South Africa
      Radio Receiver Assembly A0002M7

      Navigation System:


      • Display Language Supported: English, Thai, Malay and Indonesian

      • AM/FM Tuner

      • Radio Data System Traffic Message Channel (RDS-TMC) Tuner

      • Digital Sound Processor (DSP)

      • Automatic Sound Levelizer (ASL)

      • CD/DVD Player: Compatible with MP3, Windows Media Audio (WMA) and Advanced Audio Coding (AAC) files

      • CD-TEXT Display Function

      • Video-CD (VCD) Display Function

      • Bluetooth Audio System

      • Bluetooth Hands-free System

      • Portable Audio Player (USB type) Interface

      • iPod/iPhone Interface

      • USB Memory Device Interface

      • USB Video

      • USB Photo

      • Stereo Jack Adapter (4-pole AUX cable supported)

      • Customizable vehicle settings can be changed

      • 8-speaker System

      • Unit: Pioneer

      • microSD Card (Disc Player Disc): Aisin AW

      • Stereo Amplifier: Pioneer

      Southeast Asia
      Radio Receiver Assembly A0003CY

      Navigation System:


      • Display Language Supported: English, Thai, Malay and Indonesian

      • AM/FM Tuner

      • Radio Data System Traffic Message Channel (RDS-TMC) Tuner

      • Digital Sound Processor (DSP)

      • Automatic Sound Levelizer (ASL)

      • Clari-Fi Music Restoration Technology

      • CD/DVD Player: Compatible with MP3, Windows Media Audio (WMA) and Advanced Audio Coding (AAC) files

      • CD-TEXT Display Function

      • Video-CD (VCD) Display Function

      • Bluetooth Audio System

      • Bluetooth Hands-free System

      • Portable Audio Player (USB type) Interface

      • iPod/iPhone Interface

      • USB Memory Device Interface

      • USB Video

      • USB Photo

      • Stereo Jack Adapter (4-pole AUX cable supported)

      • Customizable vehicle settings can be changed

      • 15-speaker System

      • Unit: Pioneer

      • microSD Card (Disc Player Disc): Aisin AW

      • Stereo Amplifier: Mark Levinson

      Southeast Asia
    2. 8-speaker System

      A000386E02
      Location Speaker Name Quantity Size Impedance Rated Input Power
      (1) Front No. 3 Speaker Assembly 1 6.5 cm (2.5 in.) 5 Ω 16 W
      (2) Front No. 2 Speaker Assembly 2 6.5 cm (2.5 in.) 4 Ω 20 W
      (3) Front No. 1 Speaker Assembly 2 18 cm (7.1 in.) 4 Ω 20 W
      (4) Rear Speaker Assembly 2 16 cm (6.2 in.) 4 Ω 20 W
      (5) Stereo Component Speaker Assembly 1 20 cm (7.8 in.) 2.5 Ω 32 W
    3. 15-speaker System

      A0002OOE02
      Location Speaker Name Quantity Size Impedance Rated Input Power
      (1) Front No. 3 Speaker Assembly 1+1 9 cm (3.5 in.) 8 Ω 4 W
      (2) Front No. 2 Speaker Assembly (1 + 1) X 2 9 cm (3.5 in.) 8 Ω 4 W
      (3) Front No. 1 Speaker Assembly 2 17 x 25 cm (7 x 10 in.) 5.2 Ω 9 W
      (4) Rear No. 2 Speaker Assembly 2 2.5 cm (0.9 in.) 4 Ω 0.5 W
      (5) Rear Speaker Assembly 2 17 cm (7 in.) 4.6 Ω 18 W
      (6) Rear Header Speaker Assembly 2 9 cm (3.5 in.) 8 Ω 4 W
      (7) Stereo Component Speaker Assembly 1 20 cm (7.8 in.) 6 Ω 8.5 W
    4. Lexus Display Audio Controller (Remote Operation Board)

      A0002O5E02
      Text in Illustration
      *a AUDIO Switch *b MENU Switch
      *c Return Switch *d Rotary Knob
      *e Rotary Switch (Cursor Operation) *f 4-way Switch (Cursor Operation)
      *g Push Switch (Enter) - -
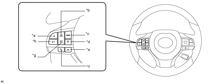
    5. Steering Pad Switch Assembly

      A00038ME02
      Text in Illustration
      *a Volume + Switch *b Seek Up Switch
      *c MODE Switch *d Voice Switch
      *e On Hook Switch *f Off Hook Switch
      *g Seek Down Switch *h Volume - Switch
    6. Cooler Control Switch Assembly (Rear Seat Audio Control Panel)

      A00038FE02
      Text in Illustration
      *1 Channel Up/Down Switch *2 Tune Up/Down Switch
      *3 Power Switch *4 Volume Up/Down Switch
      *5 Mode Switch - -
  4. MAIN FEATURES


    1. Lexus Display Audio Controller (Remote Operation Board)


      1. Press the AUDIO button or MENU button on the Lexus display audio controller (remote operation board) to start operation of the Lexus display audio system. Audio sources, such as radio and CD, can be operated on the audio screen. The set up function of the Lexus display audio system, the telephone function, the air conditioning system, etc. can be operated from the menu screen.

      2. The user interface of the Lexus display audio system is optimized for operation using the Lexus display audio controller (remote operation board).

        A0002NDE01
        Text in Illustration
        *a Channel Up/Down Switch *b Tune Up/Down Switch
        *c The illustrations shown are examples only. The illustrations may differ from the actual vehicle screens. - -
    2. Sound Library


      1. Tracks from a CD are recorded at 4 times normal play speed.

      2. Album, artist and title names for recorded tracks can be input or edited freely. These names can help you search for a track easily.

        Tech Tips


        • Recording equipment should be used only for lawful copying. You are advised to carefully confirm what is lawful copying in the country in which you are making a copy.

        • Copying of copyright material such as films or music is unlawful unless permitted by a legal exception or consent granted by the owners of the rights to the content.

    3. MirrorLink*1 Function


      1. To utilize the MirrorLink function, it is necessary to connect a compatible smartphone*2 to the radio receiver assembly using a USB cable.

      2. After a connection is established, the screen of the smartphone is displayed on the multi-display. Using this screen, the user can operate applications installed on the smartphone and listen to the audio of the smartphone via the vehicles speakers.

        Tech Tips

        *1: MirrorLink is a registered trademark of Car Connectivity Consortium.

        *2: This function is not available if the smartphone is not compliant with MirrorLink of Car Connectivity Consortium standards.

        A0002PEE02
        Text in Illustration
        *a MirrorLink Screen *b Smartphone
        *c Connection via USB cable *d The illustrations shown are examples only. The illustrations may differ from the actual vehicle screens.