AUDIO AND VISUAL SYSTEM


  1. OUTLINE


    1. Audio System


      1. The audio systems shown below are available:

        Audio System Audio Head Unit Speaker
        8-speaker Sound System Radio Receiver Assembly 8 Speakers
        8-speaker Surround Sound System Multi-media Module Receiver Assembly 8 Speakers
        HDD Navigation System 8 Speakers
        15 Speakers
    2. Audio Head Unit


      1. In consideration of the unity with the instrument panel, a uniquely sized audio head unit is provided.

      2. A Thin Film Transistor Liquid Crystal Display (TFT LCD) is used for the multi-display of the HDD navigation system, enabling operation of the audio screen, Bluetooth hands-free screen, vehicle information screen, etc. using the remote touch.

        Tech Tips

        For details on the remote touch, refer to the navigation system/multi information system section. Click here

      3. A sound library function that can compress music sound data using Advanced Audio Coding (AAC) compression technology and record the data to the Hard Disk Drive (HDD) is adopted.*


        • *: Models for China with HDD navigation system

      4. Discs containing MPEG audio layer-3 (MP3) files and Windows Media Audio (WMA) files can be played.

      5. Discs with the marks shown below can be played.

        A0002UT
    3. Digital Audio Broadcast (DAB) (Destination Package for Australia)


      1. Digital Audio Broadcast (DAB) reception is available. This mostly prevents broadcast interference, achieving clear reception with high quality sound.

      2. The time shift operation function can be used to play back programs at a later time.

        Tech Tips

        The amount of playback possible depends on the bit rate of the DAB station to be recorded, the amount of DAB unit memory, and the time at which reception of the broadcast began.

    4. Automatic Sound Levelizer (ASL)


      1. The Automatic Sound Levelizer (ASL) function automatically adjusts the audio system volume level in order to compensate for increased vehicle noise (vehicle noise tends to increase as vehicle speed increases).

      2. Vehicle speed signals are received from the combination meter assembly and used for ASL control.

    5. USB Audio System


      1. A USB port is provided that enables operation of a USB memory device, portable audio player (USB type), iPhone, iPod, iPod classic, iPod nano or iPod touch.

        A00032K

        Tech Tips


        • iPhone, iPod, iPod classic, iPod nano and iPod touch are trademarks of Apple Inc., registered in the U.S. and other countries.

        • The following iPod, iPod nano, iPod classic, iPod touch and iPhone devices can be used with this system.


          • Made for
          • iPod touch (4th generation)

          • iPod touch (3rd generation)

          • iPod touch (2nd generation)

          • iPod touch (1st generation)

          • iPod classic

          • iPod with video

          • iPod nano (6th generation)

          • iPod nano (5th generation)

          • iPod nano (4th generation)

          • iPod nano (3rd generation)

          • iPod nano (2nd generation)

          • iPod nano (1st generation)

          • iPhone 4

          • iPhone 3GS

          • iPhone 3G

          • iPhone

        • Depending on differences between models or software versions etc., some models might be incompatible with this system.

        • USB memory devices that meet the following specifications are supported:

          USB Communication Speed
          • USB 2.0, Full Speed (12 Mbps)

          • USB 2.0, High Speed (480 Mbps) (Except models with 8-speaker Sound System)

          File System FAT 16/32 (Windows)
          Device Class Mass Storage Class
          File Format MP3, WMA
    6. Bluetooth Audio System


      1. The Bluetooth audio system enables users to enjoy music played on a portable player from the vehicle speakers via wireless communication.


        • The Bluetooth specifications and profiles required for operation are as follows:

          Specification / Profile Version
          Bluetooth Specification Version 1.1 or higher Required
          Version 2.1 + EDR or higher Recommended
          Profile Advanced Audio Distribution Profile (A2DP) Version 1.0 or higher Required
          Advanced Audio Distribution Profile (A2DP) Version 1.2 or higher Recommended
          Audio/Video Remote Control Profile (AVRCP) Version 1.0 or higher Required
          Audio/Video Remote Control Profile (AVRCP) Version 1.4 or higher Recommended
    7. Bluetooth Hands-free System


      1. The Bluetooth hands-free system allows the user to make or receive a call without taking their hands off the steering wheel when the system is linked with a Bluetooth-compatible cellular phone.

        Specification / Profile Version
        Bluetooth Specification Version 1.1 or higher Required
        Version 2.1+EDR or higher Recommended
        Profile Hands Free Profile (HFP) Version 1.0 or higher Required
        Hands Free Profile (HFP) Version 1.5 or higher Recommended
        Dial-up Networking Profile (DUN) Version 1.1 or higher* Recommended
        Object Push Profile (OPP) Version 1.1 or higher Recommended
        Phone Book Access Profile (PBAP) Version 1.0 or higher Recommended
        Message Access Profile (MAP) Ver.1.0 or higher* Recommended

        *: Models with HDD navigation system

        Tech Tips


        • The operation of the interrupt call function of the Bluetooth hands-free system may vary with the Bluetooth phone or the telephone company that is used.

          A0002QO "Bluetooth" is a trademark owned by Bluetooth SIG, Inc.
        • Some profiles described above may not be supported in the system depending on the audio head unit equipped.

        • If the specification of the connected Bluetooth phone is lower than the recommended or does not support the functions required, the available functions may be limited.

        • Registration and connection of a Bluetooth phone is not available when only Dial-up Networking Profile (DUN), Object Push Profile (OPP), Phone Book Access Profile (PBAP) and MAP (Message Access Profile) are supported.

      2. When a Bluetooth phone is connected to the multi-media module receiver assembly, e-mails and Short Message Service (SMS) messages received on the phone can be displayed or read out. (Messages may not be displayed depending on the message service or profile that the connected Bluetooth phone supports.)

    8. Voice Recognition Search System


      1. Due to the Grapheme to Phoneme (G2P) function of converting sounds into text, a song in the USB audio system can be searched for by saying an artist name, album name, title or playlist name.

    9. Steering Pad Switch


      1. Switches that the driver often uses are provided on the steering wheel for convenience.

    10. Cooler Control Switch Assembly (Rear Seat Audio Control Panel)


      1. A controller is provided on the rear seat center armrest assembly, enabling the rear seat occupants to adjust the volume and change the audio sources.

  2. MAJOR DIFFERENCE


    1. The new models have been modified from the previous models as shown below:


      1. Audio systems for RHD models have been added.

      2. An 8-speaker surround sound system has been added.

  3. SPECIFICATION


    1. Audio System

      LHD Models:
      Audio Head Unit Design Specification Destination
      Radio Receiver Assembly A0002KA

      8-speaker Sound System:


      • AM/FM Tuner

      • Radio Data System Traffic Message Channel (RDS-TMC) Tuner

      • Digital Sound Processor (DSP)

      • Automatic Sound Levelizer (ASL)

      • 6-CD Changer: Compatible with MP3 and Windows Media Audio (WMA) files

      • CD-TEXT Display Function

      • Bluetooth Audio System

      • Bluetooth Hands-free System

      • Portable Audio Player (USB type) Interface

      • iPod / iPhone Interface

      • USB Memory Device Interface

      • Stereo Jack Adapter

      • 8-speaker System

      • Unit: Pioneer

      • Stereo Amplifier: Pioneer

      Russia
      Radio Receiver Assembly A0002UP

      8-speaker Sound System:


      • AM/FM Tuner

      • Digital Sound Processor (DSP)

      • Automatic Sound Levelizer (ASL)

      • 6-CD Changer: Compatible with MP3 and Windows Media Audio (WMA) files

      • CD-TEXT Display Function

      • Bluetooth Audio System

      • Bluetooth Hands-free System

      • Portable Audio Player (USB type) Interface

      • iPod / iPhone Interface

      • USB Memory Device Interface

      • Stereo Jack Adapter

      • 8-speaker System

      • Unit: Pioneer

      • Stereo Amplifier: Pioneer

      China and Taiwan
      Multi-media Module Receiver Assembly A00039F

      HDD Navigation System:


      • Display Language Supported: English, German, French, Italian, Spanish, Dutch, Norwegian, Swedish, Portuguese, Danish, Finnish, Polish, Greek, Russian, Czech, Romanian, Hungarian, Slovak, Turkish and Ukrainian

      • AM/FM Tuner

      • Radio Data System Traffic Message Channel (RDS-TMC) Tuner

      • Digital Sound Processor (DSP)

      • Automatic Sound Levelizer (ASL)

      • DVD Player: Compatible with MP3 and Windows Media Audio (WMA) files

      • CD-TEXT Display Function

      • Bluetooth Audio System

      • Bluetooth Hands-free System

      • Portable Audio Player (USB type) Interface

      • iPod / iPhone Interface

      • USB Memory Device Interface

      • Voice Recognition Search (USB Audio System)

      • Stereo Jack Adapter

      • Customizable vehicle settings can be changed

      • 8-speaker System

      • Unit: Fujitsu Ten/Hard Disk Drive: Aisin AW

      • Stereo Amplifier: Pioneer

      Russia
      Multi-media Module Receiver Assembly A0002UE

      HDD Navigation System:


      • Display Language Supported: English, German, French, Italian, Spanish, Dutch, Norwegian, Swedish, Portuguese, Danish, Finnish, Polish, Greek, Russian, Czech, Romanian, Hungarian, Slovak, Turkish and Ukrainian

      • AM/FM Tuner

      • Radio Data System Traffic Message Channel (RDS-TMC) Tuner

      • Digital Sound Processor (DSP)

      • Automatic Sound Levelizer (ASL)

      • DVD Player: Compatible with MP3 and Windows Media Audio (WMA) files

      • Bluetooth Audio System

      • Bluetooth Hands-free System

      • Portable Audio Player (USB type) Interface

      • iPod / iPhone Interface

      • USB Memory Device Interface

      • Voice Recognition Search (USB Audio System)

      • Stereo Jack Adapter

      • Customizable vehicle settings can be changed

      • 15-speaker System

      • Unit: Fujitsu Ten/Hard Disk Drive: Aisin AW

      • Stereo Amplifier: Mark Levinson

      Russia
      Multi-media Module Receiver Assembly A0002KH

      HDD Navigation System:


      • AM/FM Tuner

      • Real-time Traffic Information of China (RTIC)

      • Digital Sound Processor (DSP)

      • Automatic Sound Levelizer (ASL)

      • DVD Player: Compatible with MP3 and Windows Media Audio (WMA) files

      • HDD Audio (Sound Library)

      • CD-TEXT Display Function

      • Bluetooth Audio System

      • Bluetooth Hands-free System

      • Portable Audio Player (USB type) Interface

      • iPod / iPhone Interface

      • USB Memory Device Interface

      • Stereo Jack Adapter

      • Customizable vehicle settings can be changed

      • 8-speaker System

      • Unit: Fujitsu Ten/Hard Disk Drive: Denso

      • Stereo Amplifier: Pioneer

      China
      Multi-media Module Receiver Assembly A0002NN

      HDD Navigation System:


      • AM/FM Tuner

      • Real-time Traffic Information of China (RTIC)

      • Digital Sound Processor (DSP)

      • Automatic Sound Levelizer (ASL)

      • DVD Player: Compatible with MP3 and Windows Media Audio (WMA) files

      • HDD Audio (Sound Library)

      • CD-TEXT Display Function

      • Bluetooth Audio System

      • Bluetooth Hands-free System

      • Portable Audio Player (USB type) Interface

      • iPod / iPhone Interface

      • USB Memory Device Interface

      • Stereo Jack Adapter

      • Customizable vehicle settings can be changed

      • 15-speaker System

      • Unit: Fujitsu Ten/Hard Disk Drive: Denso

      • Stereo Amplifier: Mark Levinson

      China
      Multi-media Module Receiver Assembly A0002KH

      HDD Navigation System:


      • AM/FM Tuner

      • Radio Data System Traffic Message Channel (RDS-TMC) Tuner

      • Digital Sound Processor (DSP)

      • Automatic Sound Levelizer (ASL)

      • DVD Player: Compatible with MP3 and Windows Media Audio (WMA) files

      • CD-TEXT Display Function

      • Bluetooth Audio System

      • Bluetooth Hands-free System

      • Portable Audio Player (USB type) Interface

      • iPod / iPhone Interface

      • USB Memory Device Interface

      • Stereo Jack Adapter

      • Customizable vehicle settings can be changed

      • 8-speaker System

      • Unit: Fujitsu Ten/Hard Disk Drive: Denso

      • Stereo Amplifier: Pioneer

      Taiwan
      Multi-media Module Receiver Assembly A0002NN

      HDD Navigation System:


      • AM/FM Tuner

      • Radio Data System Traffic Message Channel (RDS-TMC) Tuner

      • Digital Sound Processor (DSP)

      • Automatic Sound Levelizer (ASL)

      • DVD Player: Compatible with MP3 and Windows Media Audio (WMA) files

      • CD-TEXT Display Function

      • Bluetooth Audio System

      • Bluetooth Hands-free System

      • Portable Audio Player (USB type) Interface

      • iPod / iPhone Interface

      • USB Memory Device Interface

      • Stereo Jack Adapter

      • Customizable vehicle settings can be changed

      • 15-speaker System

      • Unit: Fujitsu Ten/Hard Disk Drive: Denso

      • Stereo Amplifier: Mark Levinson

      Taiwan
      RHD Models:
      Audio Head Unit Design Specification Destination
      Multi-media Module Receiver Assembly A0002N1

      8-speaker Surround Sound System:


      • AM/FM Tuner

      • Digital Sound Processor (DSP)

      • Automatic Sound Levelizer (ASL)

      • DVD Player: Compatible with MP3 and Windows Media Audio (WMA) files

      • CD-TEXT Display Function

      • Bluetooth Audio System

      • Bluetooth Hands-free System

      • Portable Audio Player (USB type) Interface

      • iPod / iPhone Interface

      • USB Memory Device Interface

      • Stereo Jack Adapter

      • Customizable vehicle settings can be changed

      • 8-speaker System

      • Unit: Fujitsu Ten/Hard Disk Drive: Aisin AW

      • Stereo Amplifier: Pioneer

      Southeast Asia
      Multi-media Module Receiver Assembly A0002N1

      HDD Navigation System:


      • AM/FM Tuner

      • Digital Audio Broadcast (DAB) Tuner

      • Radio Data System Traffic Message Channel (RDS-TMC) Tuner

      • Digital Sound Processor (DSP)

      • Automatic Sound Levelizer (ASL)

      • DVD Player: Compatible with MP3 and Windows Media Audio (WMA) files

      • CD-TEXT Display Function

      • Bluetooth Audio System

      • Bluetooth Hands-free System

      • Portable Audio Player (USB type) Interface

      • iPod / iPhone Interface

      • USB Memory Device Interface

      • Stereo Jack Adapter

      • Customizable vehicle settings can be changed

      • 8-speaker System

      • Unit: Fujitsu Ten/Hard Disk Drive: DENSO

      • Stereo Amplifier: Pioneer

      Australia
      Multi-media Module Receiver Assembly A000353

      HDD Navigation System:


      • AM/FM Tuner

      • Digital Audio Broadcast (DAB) Tuner

      • Radio Data System Traffic Message Channel (RDS-TMC) Tuner

      • Digital Sound Processor (DSP)

      • Automatic Sound Levelizer (ASL)

      • DVD Player: Compatible with MP3 and Windows Media Audio (WMA) files

      • CD-TEXT Display Function

      • Bluetooth Audio System

      • Bluetooth Hands-free System

      • Portable Audio Player (USB type) Interface

      • iPod / iPhone Interface

      • USB Memory Device Interface

      • Stereo Jack Adapter

      • Customizable vehicle settings can be changed

      • 15-speaker System

      • Unit: Fujitsu Ten/Hard Disk Drive: DENSO

      • Stereo Amplifier: Mark Levinson

      Australia
      Multi-media Module Receiver Assembly A0003D7

      HDD Navigation System:


      • AM/FM Tuner

      • Radio Data System Traffic Message Channel (RDS-TMC) Tuner

      • Digital Sound Processor (DSP)

      • Automatic Sound Levelizer (ASL)

      • DVD Player: Compatible with MP3 and Windows Media Audio (WMA) files

      • CD-TEXT Display Function

      • Bluetooth Audio System

      • Bluetooth Hands-free System

      • Portable Audio Player (USB type) Interface

      • iPod / iPhone Interface

      • USB Memory Device Interface

      • Stereo Jack Adapter

      • Customizable vehicle settings can be changed

      • 8-speaker System

      • Unit: Fujitsu Ten/Hard Disk Drive: Aisin AW

      • Stereo Amplifier: Pioneer

      South Africa
      Multi-media Module Receiver Assembly A00033M

      HDD Navigation System:


      • AM/FM Tuner

      • Radio Data System Traffic Message Channel (RDS-TMC) Tuner

      • Digital Sound Processor (DSP)

      • Automatic Sound Levelizer (ASL)

      • DVD Player: Compatible with MP3 and Windows Media Audio (WMA) files

      • CD-TEXT Display Function

      • Bluetooth Audio System

      • Bluetooth Hands-free System

      • Portable Audio Player (USB type) Interface

      • iPod / iPhone Interface

      • USB Memory Device Interface

      • Stereo Jack Adapter

      • Customizable vehicle settings can be changed

      • 15-speaker System

      • Unit: Fujitsu Ten/Hard Disk Drive: Aisin AW

      • Stereo Amplifier: Mark Levinson

      South Africa
      Multi-media Module Receiver Assembly A0002N1

      HDD Navigation System:


      • AM/FM Tuner

      • Radio Data System Traffic Message Channel (RDS-TMC) Tuner

      • Digital Sound Processor (DSP)

      • Automatic Sound Levelizer (ASL)

      • DVD Player: Compatible with MP3 and Windows Media Audio (WMA) files

      • CD-TEXT Display Function

      • Bluetooth Audio System

      • Bluetooth Hands-free System

      • Portable Audio Player (USB type) Interface

      • iPod / iPhone Interface

      • USB Memory Device Interface

      • Stereo Jack Adapter

      • Customizable vehicle settings can be changed

      • 8-speaker System

      • Unit: Fujitsu Ten/Hard Disk Drive: Aisin AW

      • Stereo Amplifier: Pioneer

      Southeast Asia
      Multi-media Module Receiver Assembly A000353

      HDD Navigation System:


      • AM/FM Tuner

      • Radio Data System Traffic Message Channel (RDS-TMC) Tuner

      • Digital Sound Processor (DSP)

      • Automatic Sound Levelizer (ASL)

      • DVD Player: Compatible with MP3 and Windows Media Audio (WMA) files

      • CD-TEXT Display Function

      • Bluetooth Audio System

      • Bluetooth Hands-free System

      • Portable Audio Player (USB type) Interface

      • iPod / iPhone Interface

      • USB Memory Device Interface

      • Stereo Jack Adapter

      • Customizable vehicle settings can be changed

      • 15-speaker System

      • Unit: Fujitsu Ten/Hard Disk Drive: Aisin AW

      • Stereo Amplifier: Mark Levinson

      Southeast Asia
    2. 8-speaker System

      A0002UJE03
      Location Speaker Name Quantity Size Impedance Rated Input Power
      (1) Front No. 3 Speaker Assembly 1 6.5 cm (2.5 in.) 5 Ω 16 W
      (2) Front No. 2 Speaker Assembly 2 6.5 cm (2.5 in.) 4 Ω 20 W
      (3) Front No. 1 Speaker Assembly 2 18 cm (7.1 in.) 4 Ω 20 W
      (4) Rear Speaker Assembly 2 16 cm (6.2 in.) 4 Ω 20 W
      (5) Stereo Component Speaker Assembly 1 20 cm (7.8 in.) 2.5 Ω 32 W
    3. 15-speaker System

      A0002YGE03
      Location Speaker Name Quantity Size Impedance Rated Input Power
      (1) Front No. 3 Speaker Assembly 1+1 9 cm (3.5 in.) 8 Ω 4 W
      (2) Front No. 2 Speaker Assembly (1 + 1) X 2 9 cm (3.5 in.) 8 Ω 4 W
      (3) Front No. 1 Speaker Assembly 2 17 x 25 cm (7 x 10 in.) 5.2 Ω 9 W
      (4) Rear No. 2 Speaker Assembly 2 2.5 cm (0.9 in.) 4 Ω 0.5 W
      (5) Rear Speaker Assembly 2 17 cm (7 in.) 4.6 Ω 14 W
      (6) Rear Header Speaker Assembly 2 9 cm (3.5 in.) 8 Ω 4 W
      (7) Stereo Component Speaker Assembly 1 20 cm (7.8 in.) 6 Ω 8.5 W
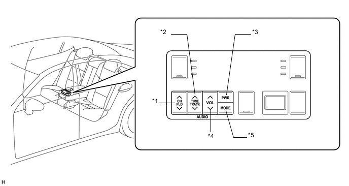
    4. Steering Pad Switch Assembly

      A0002QNE03
      Text in Illustration
      *1 Volume +/- Switch *2 MODE Switch
      *3 Seek Up/Down Switch *4 Voice Switch
      *5 Off Hook Switch *6 On Hook Switch
      *7 Voice Return Switch - -
    5. Cooler Control Switch Assembly (Rear Seat Audio Control Panel)

      A00038FE03
      Text in Illustration
      *1 Channel Up/Down Switch *2 Tune Up/Down Switch
      *3 Power Switch *4 Volume Up/Down Switch
      *5 Mode Switch - -
  4. MAIN FEATURES


    1. Sound Library


      1. Approximately 3000 tracks with a 5-minute track length average can be recorded to the HDD from audio discs using AAC encoding at 128 kbps (a maximum of 9999 tracks can be recorded if tracks with an average track length of less than 5 minutes are recorded or the tracks are encoded at less than 128 kbps).

      2. Tracks from a CD are recorded at 4 times normal play speed.

      3. Album, artist and title names for recorded tracks can be input or edited freely. These names can help you search for a track easily.

        Tech Tips


        • Recording equipment should be used only for lawful copying. You are advised to carefully confirm what is lawful copying in the country in which you are making a copy.

        • Copying of copyright material such as films or music is unlawful unless permitted by a legal exception or consent granted by the owners of the rights to the content.