AUDIO AND VISUAL SYSTEM


  1. OUTLINE


    1. Audio System


      1. The following audio systems are available:

        Audio System Audio Head Unit Speaker
        Lexus Display Audio System Radio Receiver Assembly 8 Speakers
        15-speaker Surround Sound System Radio Receiver Assembly 15 Speakers
        Navigation System Radio Receiver Assembly 8 Speakers
        15 Speakers
    2. Audio Head Unit


      1. In consideration of the unity with the instrument panel, a uniquely sized audio head unit is provided.

      2. A Thin Film Transistor Liquid Crystal Display (TFT LCD) is used for the multi-display, enabling operation of the audio screen, Bluetooth hands-free screen, vehicle information screen, etc. using the Lexus display audio controller (remote operation board)*1 or remote touch*2.

        Tech Tips

        *1: Models with Lexus display audio system

        *2: Models with 15-speaker surround sound system or navigation system

        For details on the remote touch, refer to the navigation system/multi-information system section. Click here

      3. Due to the change in the multi-display location, the Lexus display audio controller (remote operation board) is used to ensure operability. (Models with Lexus display audio system)

        A0002QG
      4. The audio source can be switched on the audio source selection screen. The arrangement of the audio sources displayed on the audio source screen can be changed according to the frequency of use.

        A0002UBE02
        Audio Source Selection Screen
        *1 15-speaker Surround Sound System or Navigation System
        *2 Lexus Display Audio System
        *3 The illustrations shown are examples only. The illustrations may differ from the actual vehicle screens.
      5. The status of the currently selected audio source can be displayed on the multi-information display in the combination meter assembly.

      6. The MirrorLink function is provided. This function enables the user to operate their smartphone using the multi-display by connecting it to the system via a USB cable. (Models with MirrorLink function)

      7. Discs containing MPEG audio layer-3 (MP3) files, Windows Media Audio (WMA) files and Advanced Audio Coding (AAC) files can be played.

      8. Discs with the marks shown below can be played.

        A0002I4C06
        *A Models with Lexus Display Audio System *B Models with 15-speaker Surround Sound System or Navigation System
        *C Destination Package for Southeast Asia *D Destination Packages for Taiwan and Southeast Asia with Lexus Display Audio System
    3. Digital Audio Broadcast (DAB) (Models with Digital Audio Broadcast (DAB) Tuner)


      1. Digital Audio Broadcast (DAB) reception is available. This mostly prevents broadcast interference, achieving clear reception with high quality sound.

      2. The time shift operation function can be used to play back DAB programs at a later time. (Except destination package for Hong Kong)

        Tech Tips

        The amount of playback possible depends on the bit rate of the DAB station to be recorded, the amount of DAB unit memory, and the time at which reception of the broadcast began.

    4. Sound Library (Models for China)


      1. A sound library function that can compress music sound data using Advanced Audio Coding (AAC) compression technology and record the data to the Hard Disk Drive (HDD) is provided.

      2. A Hard Disk Drive (HDD) is used in the radio receiver assembly. The HDD is available separately, enhancing serviceability. For details, refer to the Repair Manual.

        A0002MBE04
        *1 Radio Receiver Assembly
        *2 Hard Disk Drive
    5. USB/AUX Port


      1. 2 USB ports are provided so that up to 2 of the following items can be available at once: USB memory device, portable audio player (USB type), iPhone, iPod classic, iPod, iPod nano or iPod touch.

      2. The USB system enables playback of video data stored on a USB memory device and the display of photo data. (Models with Lexus display audio system (except destination package for Hong Kong) and destination packages for Taiwan, Southeast Asia and South Africa with navigation system and 15-speaker surround sound system)

      3. Videos stored on a video capable device such as an iPod or VTR, can be displayed on the multi-display by connecting the video capable device to the AUX port using a dedicated 4-pole AUX cable. (Except destination package for Hong Kong)

        A000305

        Tech Tips


        • Even if 3 or more USB devices are connected using a USB hub, only the first 2 connected USB devices will be recognized.

        • If 2 devices are connected to the USB ports, depending on the devices, both may not be able to be recognized by the system at the same time. (Models for Australia and China and destination packages for Hong Kong with navigation system)

        • In order to display video from an iPod, it is necessary to connect the iPod to the USB and AUX ports using a dedicated iPod video cable and dedicated 4-pole AUX cable and select "video sound input cable" from the "iPod Settings" screen.

        • Depending on the specifications of the 4-pole AUX cable used for connecting a video capable device such as an iPod or VTR, the video function may not operate correctly. Use a dedicated 4-pole AUX cable as shown in the illustration when using the video function.

          A0002TLE05
        • iPhone, iPod, iPod classic, iPod nano and iPod touch are trademarks of Apple Inc., registered in the U.S. and other countries.

        • The following iPod, iPod nano, iPod classic, iPod touch and iPhone devices can be used with this system.


        • Made for


          • iPod touch (5th generation)*1

          • iPod touch (4th generation)

          • iPod touch (3rd generation)

          • iPod touch (2nd generation)

          • iPod touch (1st generation)

          • iPod classic

          • iPod with video

          • iPod nano (7th generation)*1

          • iPod nano (6th generation)

          • iPod nano (5th generation)

          • iPod nano (4th generation)

          • iPod nano (3rd generation)

          • iPod nano (2nd generation)

          • iPod nano (1st generation)

          • iPhone 5S*1*2

          • iPhone 5C*1*2

          • iPhone 5*1

          • iPhone 4S

          • iPhone 4

          • iPhone 3GS

          • iPhone 3G

          • iPhone*3

        • *1: iPod video not supported.

          *2: Models with Lexus display audio system

          *3: Destination package for Hong Kong

      4. Depending on differences between models, software versions, etc., some models may be incompatible with this system.

      5. USB memory devices that meet the following specifications are supported:

        USB Communication Formats
        • USB 2.0, Full Speed (12 Mbps)

        • USB 2.0, High Speed (480 Mbps)

        File System FAT 16/32
        Correspondence Class Mass Storage Class
        File Format MP3, WMA, AAC
      6. Photo data, which meets the following specifications, is supported:

        File Format JPEG
        Compatible Image Size Maximum 10MB
        Compatible Pixel Size Maximum 10,000,000 pixels
      7. Video data, which meets the following specifications, is supported:

        File Format WMV, AVI, MP4
        Compatible Image Size Maximum 1920 X 1080
        Compatible Frame Rates Maximum 60 i/30 p
    6. Bluetooth Audio System


      1. The Bluetooth audio system enables users to enjoy music stored on a portable audio player from the vehicle speakers via Bluetooth communication.

      2. The Bluetooth specifications and profiles required for operation are as follows:

        Specification/Profile Version
        Requirements Recommendations
        Bluetooth Specification Version 2.0 Version 3.0 + EDR
        Profile Advanced Audio Distribution Profile (A2DP) Version 1.0 Version 1.2*1
        Version 1.3*2
        Audio/Video Remote Control Profile (AVRCP) Version 1.0 Version 1.4*1
        Version 1.5*2

        *1: Models with Lexus display audio system

        *2: Models with 15-speaker surround sound system or navigation system

    7. Bluetooth Hands-free System


      1. The Bluetooth hands-free system allows the user to make or receive a call without taking their hands off the steering wheel when the system is linked with a Bluetooth-compatible cellular phone.

      2. The Bluetooth specifications and profiles required for operation are as follows:

        Specification/Profile Version
        Requirements Recommendations
        Bluetooth Specification Version 2.0 Version 3.0 + EDR
        Profile Advanced Audio Distribution Profile (A2DP) Version 1.0 Version 1.2*1
        Version 1.3*2
        Audio/Video Remote Control Profile (AVRCP) Version 1.0 Version 1.4*1
        Version 1.5*2
        Hands Free Profile (HFP) Version 1.0 Version 1.6
        Object Push Profile (OPP) Version 1.1 Version 1.2
        Phone Book Access Profile (PBAP) Version 1.0 Version 1.1
        Message Access Profile (MAP)*3*4 - Version 1.0
        Dial-up Networking Profile (DUN)*5 - Version 1.2
        Personal Area Network Profile (PAN) - Version 1.0
        Serial Port Profile (SPP)*3*5 - Version 1.2

        *1: Models with Lexus display audio system

        *2: Models with 15-speaker surround sound system or navigation system

        *3: Models for Australia

        *4: Destination package for South Africa with navigation system

        *5: Models for China

        Tech Tips


        • The operation of the interrupt call function of the Bluetooth hands-free system may vary with the Bluetooth phone or the telephone company that is used.

          A0002QO "Bluetooth" is a trademark owned by Bluetooth SIG, Inc.
        • Some profiles described above may not be supported by the system depending on the audio head unit equipped.

        • If the specification of the connected Bluetooth phone is lower than the recommended or does not support the functions required, the available functions may be limited.

        • Registration and connection of a Bluetooth phone is not available when only Object Push Profile (OPP) and Phone Book Access Profile (PBAP) are supported.

        • When multiple Bluetooth-compatible devices are registered, the user can select different devices for the Bluetooth audio system and Bluetooth hands-free system.

      3. When a Bluetooth phone is connected to the audio head unit, e-mails and Short Message Service (SMS) messages received on the phone can be displayed or read out. In addition, it is possible to reply to the received e-mails and send Short Message Service (SMS) messages. (Messages may not be displayed depending on the message service or profile that the connected Bluetooth phone supports.)

    8. Status Display


      1. The user can confirm the telematics transceiver (data communication module) and Bluetooth connection statuses, and signal strength and remaining battery level of a cellular phone which is connected by Bluetooth, using the status bar displayed on the screen. The status bar is displayed in all modes.

        A0002NBE01
        *a Status Bar
        *b The illustrations shown are examples only. The illustrations may differ from the actual vehicle screens.
        Item Outline
        (1) G-BOOK network communication device*1 Displays the communication device communicating with the G-BOOK network.
        (2) Telematics transceiver (data communication module) signal strength*1 Displays the signal strength of the telematics transceiver (data communication module).
        (3) Bluetooth connection status Displays the Bluetooth connection status between the audio head unit and cellular phone.
        (4) Cellular phone signal strength*2 Displays the signal strength of the cellular phone connected by Bluetooth.
        (5) Cellular phone battery level*2 Displays the battery level of the cellular phone connected by Bluetooth.

        *1: Models for China

        *2: May not be displayed depending on the Bluetooth specifications and profiles of the cellular phone.

    9. Voice Recognition Search System (Models for Australia and Destination Packages for South Africa with Navigation System)


      1. Due to the Grapheme to Phoneme (G2P) function of converting sounds into text, songs on an iPod, iPod nano, iPod classic, iPod touch or iPhone device can be searched for by saying an artist name, album name, title or playlist name. Additionally, the adoption of the Gracenote MediaVOCS database improves the speech recognition ratio of the Grapheme to Phoneme (G2P) function.

        Tech Tips


        • Music recognition technology and related data are provided by Gracenote.

        • Gracenote is the industry standard in music recognition technology and related content delivery. For more information, please visit www.gracenote.com.

          A0003DS Gracenote, CDDB, MusicID, Playlist Plus, MediaVOCS, the Gracenote logo and logotype, and the "Powered by Gracenote" logo are either registered trademarks or trademarks of Gracenote, Inc. in the United States and/or other countries.
        • One or more patents owned by Gracenote apply to this product and service.

        • See the Gracenote website for a non-exhaustive list of applicable Gracenote patents.

    10. Automatic Sound Levelizer (ASL)


      1. The Automatic Sound Levelizer (ASL) function automatically adjusts the audio system volume level in order to compensate for increased vehicle noise (vehicle noise tends to increase as vehicle speed increases).

      2. Vehicle speed signals are received from the combination meter assembly and used for ASL control.

    11. Clari-Fi Music Restoration Technology (Models with 15-speaker Surround Sound System or Navigation System (with 15 Speaker Type))


      1. Files such as an MP3 or AAC have lost the audio details of the original music source during the file compression process. The Clari-Fi technology is used to restore the lost audio details and optimize data.

      2. During playback of a compressed music file, the Clari-Fi technology improves the frequency characteristics, dynamic range, low frequency sounds, etc. of the music file in real time, recreating the wide soundstage of the original music source.

    12. Multi-information Display


      1. Audio source modes, radio stations, audio tracks, etc. can be displayed on the multi-information display in the combination meter assembly.

      2. Switching the audio source mode, selecting radio stations or audio tracks, etc. can be performed by operating the multi-information display on the combination meter assembly.

      3. When a cellular phone connected to the system via Bluetooth receives a phone call, the call information is displayed on the multi-information display in the combination meter assembly. Operating the multi-information display while the call information is displayed enables the user to answer the phone call.

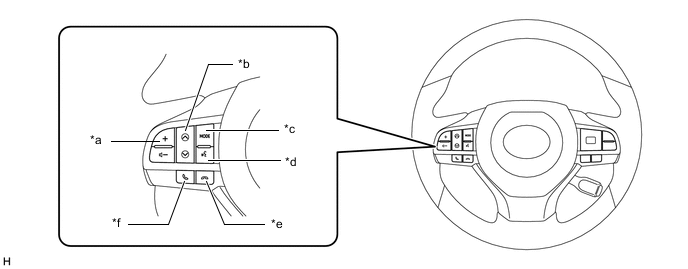
    13. Steering Pad Switch


      1. Switches that the driver often uses are provided on the steering wheel for convenience.

    14. Rear Control Switch (Rear Seat Audio Control Panel) (Models with 3-zone Control Air Conditioning System)


      1. A controller is provided on the rear seat center armrest assembly, enabling the rear seat occupants to adjust the volume and change the audio sources.

  2. SPECIFICATION


    1. Audio System

      LHD Models
      Design Specification Destination
      A0002MO

        Lexus Display Audio System:

      • Display Language Supported: English, Simplified Chinese and Traditional Chinese

      • AM/FM Tuner

      • Digital Sound Processor (DSP)

      • Automatic Sound Levelizer (ASL)

      • CD Player: Compatible with MP3, Windows Media Audio (WMA) and Advanced Audio Coding (AAC) files

      • CD-TEXT Display Function

      • Bluetooth Audio System

      • Bluetooth Hands-free System

      • Portable Audio Player (USB type) Interface

      • iPod/iPhone Interface

      • USB Memory Device Interface

      • MirrorLink Function

      • USB Video

      • USB Photo

      • Stereo Jack Adapter (4-pole AUX cable supported)

      • Customizable vehicle settings can be changed

      • 8-speaker System

      • Unit: Fujitsu Ten

      • Stereo Amplifier: Pioneer

      • Multi-display Size: 8-inch

      • Multi-display: Pioneer

      China
      A0002IZ

        Lexus Display Audio System:

      • Display Language Supported: Taiwanese

      • AM/FM Tuner

      • Digital Sound Processor (DSP)

      • Automatic Sound Levelizer (ASL)

      • CD/DVD Player: Compatible with MP3, Windows Media Audio (WMA) and Advanced Audio Coding (AAC) files

      • CD-TEXT Display Function

      • Bluetooth Audio System

      • Bluetooth Hands-free System

      • Portable Audio Player (USB type) Interface

      • iPod/iPhone Interface

      • USB Memory Device Interface

      • MirrorLink Function

      • USB Video

      • USB Photo

      • Stereo Jack Adapter (4-pole AUX cable supported)

      • Customizable vehicle settings can be changed

      • 8-speaker System

      • Unit: Fujitsu Ten

      • Stereo Amplifier: Pioneer

      • Multi-display Size: 8-inch

      • Multi-display: Pioneer

      Taiwan
      A00039A

        Navigation System:

      • Display Language Supported: English, Simplified Chinese and Traditional Chinese

      • AM/FM Tuner

      • Real-time Traffic Information of China (RTIC)

      • Digital Sound Processor (DSP)

      • Automatic Sound Levelizer (ASL)

      • CD/DVD Player: Compatible with MP3, Windows Media Audio (WMA) and Advanced Audio Coding (AAC) files

      • CD-TEXT Display Function

      • HDD Audio (Sound Library)

      • Bluetooth Audio System

      • Bluetooth Hands-free System

      • Portable Audio Player (USB type) Interface

      • iPod/iPhone Interface

      • USB Memory Device Interface

      • Stereo Jack Adapter (4-pole AUX cable supported)

      • Customizable vehicle settings can be changed

      • 8-speaker System

      • Unit: Pioneer

      • microSD Card (Disc Player Disc): Denso

      • Hard Disk Drive: Pioneer

      • Stereo Amplifier: Pioneer

      • Multi-display Size: 8-inch

      • Multi-display: Pioneer

      China
      A0003B3

        Navigation System:

      • Display Language Supported: English, Simplified Chinese and Traditional Chinese

      • AM/FM Tuner

      • Real-time Traffic Information of China (RTIC)

      • Digital Sound Processor (DSP)

      • Automatic Sound Levelizer (ASL)

      • Clari-Fi Music Restoration Technology

      • CD/DVD Player: Compatible with MP3, Windows Media Audio (WMA) and Advanced Audio Coding (AAC) files

      • CD-TEXT Display Function

      • HDD Audio (Sound Library)

      • Bluetooth Audio System

      • Bluetooth Hands-free System

      • Portable Audio Player (USB type) Interface

      • iPod/iPhone Interface

      • USB Memory Device Interface

      • Stereo Jack Adapter (4-pole AUX cable supported)

      • Customizable vehicle settings can be changed

      • 15-speaker System

      • Unit: Pioneer

      • microSD Card (Disc Player Disc): Denso

      • Hard Disk Drive: Pioneer

      • Stereo Amplifier: Mark Levinson

      • Multi-display Size: 8-inch

      • Multi-display: Pioneer

      China
      A00039A

        Navigation System:

      • Display Language Supported: Taiwanese

      • AM/FM Tuner

      • Radio Data System Traffic Message Channel (RDS-TMC) Tuner

      • Digital Sound Processor (DSP)

      • Automatic Sound Levelizer (ASL)

      • CD/DVD Player: Compatible with MP3, Windows Media Audio (WMA) and Advanced Audio Coding (AAC) files

      • CD-TEXT Display Function

      • Bluetooth Audio System

      • Bluetooth Hands-free System

      • Portable Audio Player (USB type) Interface

      • iPod/iPhone Interface

      • USB Memory Device Interface

      • USB Video

      • USB Photo

      • Stereo Jack Adapter (4-pole AUX cable supported)

      • Customizable vehicle settings can be changed

      • 8-speaker System

      • Unit: Pioneer

      • microSD Card (Disc Player Disc): Aisin AW

      • Stereo Amplifier: Pioneer

      • Multi-display Size: 8-inch

      • Multi-display: Pioneer

      Taiwan
      A0003B3

        Navigation System:

      • Display Language Supported: Taiwanese

      • AM/FM Tuner

      • Radio Data System Traffic Message Channel (RDS-TMC) Tuner

      • Digital Sound Processor (DSP)

      • Automatic Sound Levelizer (ASL)

      • Clari-Fi Music Restoration Technology

      • CD/DVD Player: Compatible with MP3, Windows Media Audio (WMA) and Advanced Audio Coding (AAC) files

      • CD-TEXT Display Function

      • Bluetooth Audio System

      • Bluetooth Hands-free System

      • Portable Audio Player (USB type) Interface

      • iPod/iPhone Interface

      • USB Memory Device Interface

      • USB Video

      • USB Photo

      • Stereo Jack Adapter (4-pole AUX cable supported)

      • Customizable vehicle settings can be changed

      • 15-speaker System

      • Unit: Pioneer

      • microSD Card (Disc Player Disc): Aisin AW

      • Stereo Amplifier: Mark Levinson

      • Multi-display Size: 8-inch

      • Multi-display: Pioneer

      Taiwan
      RHD Models
      Design Specification Destination
      A0002YH

        Lexus Display Audio System:

      • Display Language Supported: English, Simplified Chinese and Traditional Chinese

      • AM/FM Tuner

      • Digital Sound Processor (DSP)

      • Automatic Sound Levelizer (ASL)

      • CD Player: Compatible with MP3, Windows Media Audio (WMA) and Advanced Audio Coding (AAC) files

      • CD-TEXT Display Function

      • Bluetooth Audio System

      • Bluetooth Hands-free System

      • Portable Audio Player (USB type) Interface

      • iPod/iPhone Interface

      • USB Memory Device Interface

      • Stereo Jack Adapter

      • Customizable vehicle settings can be changed

      • 8-speaker System

      • Unit: Fujitsu Ten

      • Stereo Amplifier: Pioneer

      • Multi-display Size: 8-inch

      • Multi-display: Pioneer

      Hong Kong
      A000347

        Lexus Display Audio System:

      • Display Language Supported: English, Thai, Malay and Indonesian

      • AM/FM Tuner

      • Digital Sound Processor (DSP)

      • Automatic Sound Levelizer (ASL)

      • CD/DVD Player: Compatible with MP3, Windows Media Audio (WMA) and Advanced Audio Coding (AAC) files

      • CD-TEXT Display Function

      • Video-CD (VCD) Display Function

      • Bluetooth Audio System

      • Bluetooth Hands-free System

      • Portable Audio Player (USB type) Interface

      • iPod/iPhone Interface

      • USB Memory Device Interface

      • MirrorLink Function

      • USB Video

      • USB Photo

      • Stereo Jack Adapter (4-pole AUX cable supported)

      • Customizable vehicle settings can be changed

      • 8-speaker System

      • Unit: Fujitsu Ten

      • Stereo Amplifier: Pioneer

      • Multi-display Size: 8-inch

      • Multi-display: Pioneer

      Southeast Asia
      A0003B6

        15-speaker Surround Sound System:

      • Display Language Supported: English, Thai, Malay and Indonesian

      • AM/FM Tuner

      • Digital Sound Processor (DSP)

      • Automatic Sound Levelizer (ASL)

      • Clari-Fi Music Restoration Technology

      • CD/DVD Player: Compatible with MP3, Windows Media Audio (WMA) and Advanced Audio Coding (AAC) files

      • CD-TEXT Display Function

      • Bluetooth Audio System

      • Bluetooth Hands-free System

      • Portable Audio Player (USB type) Interface

      • iPod/iPhone Interface

      • USB Memory Device Interface

      • USB Video

      • USB Photo

      • Stereo Jack Adapter (4-pole AUX cable supported)

      • Customizable vehicle settings can be changed

      • 15-speaker System

      • Unit: Pioneer

      • Stereo Amplifier: Mark Levinson

      • Multi-display Size: 8-inch

      • Multi-display: Pioneer

      India
      A0002LR

        Navigation System:

      • Display Language Supported: English

      • AM/FM Tuner

      • Digital Audio Broadcast (DAB) Tuner

      • Radio Data System Traffic Message Channel (RDS-TMC) Tuner

      • Digital Sound Processor (DSP)

      • Automatic Sound Levelizer (ASL)

      • CD/DVD Player: Compatible with MP3, Windows Media Audio (WMA) and Advanced Audio Coding (AAC) files

      • CD-TEXT Display Function

      • Bluetooth Audio System

      • Bluetooth Hands-free System

      • Portable Audio Player (USB type) Interface

      • iPod/iPhone Interface

      • USB Memory Device Interface

      • Voice Recognition Search (USB Audio System)

      • Stereo Jack Adapter (4-pole AUX cable supported)

      • Customizable vehicle settings can be changed

      • 8-speaker System

      • Unit: Pioneer

      • microSD Card (Disc Player Disc): Denso

      • Stereo Amplifier: Pioneer

      • Multi-display Size: 8-inch

      • Multi-display: Pioneer

      Australia
      A0002T6

        Navigation System:

      • Display Language Supported: English

      • AM/FM Tuner

      • Digital Audio Broadcast (DAB) Tuner

      • Radio Data System Traffic Message Channel (RDS-TMC) Tuner

      • Digital Sound Processor (DSP)

      • Automatic Sound Levelizer (ASL)

      • Clari-Fi Music Restoration Technology

      • CD/DVD Player: Compatible with MP3, Windows Media Audio (WMA) and Advanced Audio Coding (AAC) files

      • CD-TEXT Display Function

      • Bluetooth Audio System

      • Bluetooth Hands-free System

      • Portable Audio Player (USB type) Interface

      • iPod/iPhone Interface

      • USB Memory Device Interface

      • Voice Recognition Search (USB Audio System)

      • Stereo Jack Adapter (4-pole AUX cable supported)

      • Customizable vehicle settings can be changed

      • 15-speaker System

      • Unit: Pioneer

      • microSD Card (Disc Player Disc): Denso

      • Stereo Amplifier: Mark Levinson

      • Multi-display Size: 8-inch

      • Multi-display: Pioneer

      Australia
      A0002LR

        Navigation System:

      • Display Language Supported: English, Simplified Chinese and Traditional Chinese

      • AM/FM Tuner

      • Digital Sound Processor (DSP)

      • Automatic Sound Levelizer (ASL)

      • CD/DVD Player: Compatible with MP3, Windows Media Audio (WMA) and Advanced Audio Coding (AAC) files

      • CD-TEXT Display Function

      • Bluetooth Audio System

      • Bluetooth Hands-free System

      • Portable Audio Player (USB type) Interface

      • iPod/iPhone Interface

      • USB Memory Device Interface

      • Stereo Jack Adapter

      • Customizable vehicle settings can be changed

      • 8-speaker System

      • Unit: Pioneer

      • microSD Card (Disc Player Disc): Denso

      • Stereo Amplifier: Pioneer

      • Multi-display Size: 8-inch

      • Multi-display: Pioneer

      Hong Kong
      A0002LR

        Navigation System:

      • Display Language Supported: English, Thai, Malay and Indonesian

      • AM/FM Tuner

      • Radio Data System Traffic Message Channel (RDS-TMC) Tuner

      • Digital Sound Processor (DSP)

      • Automatic Sound Levelizer (ASL)

      • CD/DVD Player: Compatible with MP3, Windows Media Audio (WMA) and Advanced Audio Coding (AAC) files

      • CD-TEXT Display Function

      • Video-CD (VCD) Display Function

      • Bluetooth Audio System

      • Bluetooth Hands-free System

      • Portable Audio Player (USB type) Interface

      • iPod/iPhone Interface

      • USB Memory Device Interface

      • USB Video

      • USB Photo

      • Stereo Jack Adapter (4-pole AUX cable supported)

      • Customizable vehicle settings can be changed

      • 8-speaker System

      • Unit: Pioneer

      • microSD Card (Disc Player Disc): Aisin AW

      • Stereo Amplifier: Pioneer

      • Multi-display Size: 8-inch

      • Multi-display: Pioneer

      Southeast Asia
      A0002T6

        Navigation System:

      • Display Language Supported: English, Thai, Malay and Indonesian

      • AM/FM Tuner

      • Radio Data System Traffic Message Channel (RDS-TMC) Tuner

      • Digital Sound Processor (DSP)

      • Automatic Sound Levelizer (ASL)

      • Clari-Fi Music Restoration Technology

      • CD/DVD Player: Compatible with MP3, Windows Media Audio (WMA) and Advanced Audio Coding (AAC) files

      • CD-TEXT Display Function

      • Video-CD (VCD) Display Function

      • Bluetooth Audio System

      • Bluetooth Hands-free System

      • Portable Audio Player (USB type) Interface

      • iPod/iPhone Interface

      • USB Memory Device Interface

      • USB Video

      • USB Photo

      • Stereo Jack Adapter (4-pole AUX cable supported)

      • Customizable vehicle settings can be changed

      • 15-speaker System

      • Unit: Pioneer

      • microSD Card (Disc Player Disc): Aisin AW

      • Stereo Amplifier: Mark Levinson

      • Multi-display Size: 8-inch

      • Multi-display: Pioneer

      Southeast Asia
      A0002HP

        Navigation System:

      • Display Language Supported: English

      • AM/FM Tuner

      • Digital Audio Broadcast (DAB) Tuner

      • Radio Data System Traffic Message Channel (RDS-TMC) Tuner

      • Digital Sound Processor (DSP)

      • Automatic Sound Levelizer (ASL)

      • CD/DVD Player: Compatible with MP3, Windows Media Audio (WMA) and Advanced Audio Coding (AAC) files

      • CD-TEXT Display Function

      • Bluetooth Audio System

      • Bluetooth Hands-free System

      • Portable Audio Player (USB type) Interface

      • iPod/iPhone Interface

      • USB Memory Device Interface

      • USB Video

      • USB Photo

      • Voice Recognition Search (USB Audio System)

      • Stereo Jack Adapter (4-pole AUX cable supported)

      • Customizable vehicle settings can be changed

      • 8-speaker System

      • Unit: Pioneer

      • microSD Card (Disc Player Disc): Aisin AW

      • Stereo Amplifier: Pioneer

      • Multi-display Size: 8-inch

      • Multi-display: Pioneer

      South Africa
      A0002P4

        Navigation System:

      • Display Language Supported: English

      • AM/FM Tuner

      • Digital Audio Broadcast (DAB) Tuner

      • Radio Data System Traffic Message Channel (RDS-TMC) Tuner

      • Digital Sound Processor (DSP)

      • Automatic Sound Levelizer (ASL)

      • Clari-Fi Music Restoration Technology

      • CD/DVD Player: Compatible with MP3, Windows Media Audio (WMA) and Advanced Audio Coding (AAC) files

      • CD-TEXT Display Function

      • Bluetooth Audio System

      • Bluetooth Hands-free System

      • Portable Audio Player (USB type) Interface

      • iPod/iPhone Interface

      • USB Memory Device Interface

      • USB Video

      • USB Photo

      • Voice Recognition Search (USB Audio System)

      • Stereo Jack Adapter (4-pole AUX cable supported)

      • Customizable vehicle settings can be changed

      • 15-speaker System

      • Unit: Pioneer

      • microSD Card (Disc Player Disc): Aisin AW

      • Stereo Amplifier: Mark Levinson

      • Multi-display Size: 8-inch

      • Multi-display: Pioneer

      South Africa
    2. 8-speaker System

      A000386N02
      Location Speaker Name Quantity Size Impedance Rated Input Power
      (1) Front No. 3 Speaker Assembly 1 6.5 cm (2.5 in.) 5 Ω 16 W
      (2) Front No. 2 Speaker Assembly 2 6.5 cm (2.5 in.) 4 Ω 20 W
      (3) Front No. 1 Speaker Assembly 2 18 cm (7.1 in.) 4 Ω 20 W
      (4) Rear Speaker Assembly 2 16 cm (6.2 in.) 4 Ω 20 W
      (5) Stereo Component Speaker Assembly 1 20 cm (7.8 in.) 2.5 Ω 32 W
    3. 15-speaker System

      A0002OON02
      Location Speaker Name Quantity Size Impedance Rated Input Power
      (1) Front No. 3 Speaker Assembly 1+1 9 cm (3.5 in.) 8 Ω 4 W
      (2) Front No. 2 Speaker Assembly (1 + 1) X 2 9 cm (3.5 in.) 8 Ω 4 W
      (3) Front No. 1 Speaker Assembly 2 17 x 25 cm (7 x 10 in.) 5.2 Ω 9 W
      (4) Rear No. 2 Speaker Assembly 2 2.5 cm (0.9 in.) 4 Ω 0.5 W
      (5) Rear Speaker Assembly 2 17 cm (7 in.) 4.6 Ω 18 W
      (6) Rear Header Speaker Assembly 2 9 cm (3.5 in.) 8 Ω 4 W
      (7) Stereo Component Speaker Assembly 1 20 cm (7.8 in.) 6 Ω 8.5 W
    4. Lexus Display Audio Controller (Remote Operation Board)

      A0002O5C01
      *a AUDIO Switch *b MENU Switch
      *c Back Switch *d Rotary Knob
      *e Rotary Switch (Cursor Operation) *f 4-way Switch (Cursor Operation)
      *g Push Switch (Enter) - -
    5. Steering Pad Switch Assembly

      A0002UGC03
      *a Volume +/- Switch *b Seek +/- Switch
      *c MODE Switch *d Voice Switch
      *e On Hook Switch *f Off Hook Switch
    6. Rear Control Switch (Rear Seat Audio Control Panel)

      A00037SC01
      *a Channel Up/Down Switch *b Tune Up/Down Switch
      *c Volume Up/Down Switch *d Power Switch
      *e Mode Switch - -
  3. MAIN FEATURES


    1. Lexus Display Audio Controller (Remote Operation Board)


      1. Press the AUDIO button or MENU button on the Lexus display audio controller (remote operation board) to start operation of the Lexus display audio system. Audio sources, such as radio and CD, can be operated on the audio screen. The set up function of the Lexus display audio system, telephone function, the air conditioning system, etc. can be operated from the menu screen.

      2. The user interface of the Lexus display audio system is optimized for operation using the Lexus display audio controller (remote operation board).

        A00030GE01
        *1 Audio Screen
        *2 MENU Screen
        *3 The illustrations shown are examples only. The illustrations may differ from the actual vehicle screens.
    2. Sound Library


      1. Tracks from a CD are recorded at 4 times normal play speed.

      2. Album, artist and title names for recorded tracks can be input or edited freely. These names can help you search for a track easily.

        Tech Tips


        • Recording equipment should be used only for lawful copying. You are advised to carefully confirm what is lawful copying in the country in which you are making a copy.

        • Copying of copyright material such as films or music is unlawful unless permitted by a legal exception or consent granted by the owners of the rights to the content.

    3. MirrorLink*1 Function


      1. To utilize the MirrorLink function, it is necessary to connect a compatible smartphone*2 to the radio receiver assembly using a USB cable.

      2. After a connection is established, the screen of the smartphone is displayed on the multi-display. Using this screen, the user can operate applications installed on the smartphone and listen to the audio of the smartphone via the vehicles speakers.

        Tech Tips


        • *1: MirrorLink is a registered trademark of Car Connectivity Consortium LLC.

        • *2: To use this function, a compatible device with a compatible application must be connected to the system. Furthermore, compatible devices and applications may differ depending on which version of MirrorLink is installed to the audio head unit. (The version of MirrorLink installed to the vehicle cannot be directly confirmed. See the following table for details.)

        Compatible devices and applications
        MirrorLink Version Manufacturer Device Application
        Ver.1.0 Nokia 701, N8 or N9
        • Nokia Drive

        • Nokia Music

        Samsung Galaxy S3 DriveLink
        Ver.1.1 or later For details, refer to http://carconnectivity.org/ and http://www.mirrorlink.com/
        A0002PEE03