БЛОК ДВИГАТЕЛЯ ДЕТАЛЬНОЕ ОПИСАНИЕ


  1. КОНСТРУКЦИЯ


    1. Крышка головки блока цилиндров


      1. Используется литая алюминиевая крышка головки блока цилиндров, отличающаяся малым весом и высокой прочностью.

      2. Внутрь крышки головки блока цилиндров установлена маслоподводящая трубка. Это обеспечивает смазывание скользящих деталей и, тем самым, повышает надежность.

        A01IM5IE01
    2. Прокладка головки блока цилиндров


      1. Используется трехслойная металлическая прокладка головки блока цилиндров.

    3. Головка блока цилиндров в сборе и кожух распредвала в сборе


      1. Конструкция головки блока цилиндров упрощена за счет разделения кожуха распредвала (шейки распредвала) и головки блока цилиндров.

      2. Головка блока цилиндров изготовлена из алюминия и снабжена шатровой камерой сгорания. Свеча зажигания располагается в центре камеры сгорания, в результате чего обеспечивается улучшение детонационной характеристики двигателя.

      3. Угол между впускными и выпускными клапанами уменьшен и составляет 29°. Благодаря этому головка блока цилиндров стала более компактной.

      4. Применение свечей зажигания с резьбой M12 позволило увеличить диаметры впускных и выпускных клапанов. Как следствие, повышена эффективность системы впуска и выпуска.

      5. Для улучшения детонационной характеристики и повышения эффективности впуска используется камера сгорания с конической зоной завихрения. Кроме того, за счет этого улучшаются рабочие характеристики двигателя, и повышается экономия топлива.

      6. Для уменьшения расстояния между форсунками и впускными клапанами в головку блока цилиндров устанавливаются форсунки с удлиненными соплами. Таким образом, предотвращается прилипание топлива к стенкам впускных каналов, и снижается токсичность отработавших газов (содержание CH).

        A01ILT4E01
      7. С целью снижения общей площади поверхности стенок впускных каналов используются объединенные впускные каналы с общей стенкой. Благодаря этому предотвращается прилипание топлива к стенкам впускных каналов, и, как следствие, снижается токсичность отработавших газов (содержание CH).

        A01ILHQE01
    4. Блок цилиндров в сборе


      1. Применен компактный облегченный алюминиевый блок цилиндров с расстоянием 7 мм (0,276 дюйма) между отверстиями цилиндров.

      2. В канал для картерных газов внутри блока цилиндров встроен маслоотделитель. Он отделяет моторное масло от картерных газов, замедляя ухудшение характеристик и снижая расход моторного масла.

      3. При этом из-за небольшой толщины гильз расточка отверстий цилиндров недопустима. Чтобы улучшить сцепление гильз с головкой блока цилиндров, применяются шероховатые гильзы, изготовленные таким образом, что их литые наружные стороны образуют большую неровную поверхность. Улучшенное сцепление обеспечивает повышение теплопередачи, в результате чего снижается общая температура, и ослабляется тепловая деформация отверстий цилиндров.

        A01ILPIE02
        Обозначения на рисунке
        *1 Маслоотделитель *2 Блок цилиндров
        *3 Шероховатая гильза (шероховатая наружная поверхность литой гильзы) *4 Вентиляционный кожух № 1 (крышка маслоотделителя)
      4. За счет применения смещенного коленчатого вала центры отверстий смещены по отношению к оси коленчатого вала на 8 мм (0,315 дюйма) в сторону впуска. Поэтому уменьшается боковое усилие, действующее на стенки цилиндров при подаче максимального давления, что способствует экономии топлива.

        A01IM6UE01
    5. Поршень


      1. Поршень изготавливается из алюминиевого сплава, обеспечивающего легкость и компактность.

      2. Головка поршня имеет коническую завихряющую форму, обеспечивающую эффективное сгорание топлива.

      3. Используются полностью плавающие поршневые пальцы.

      4. Чтобы обеспечить сопротивление абразивному изнашиванию, канавка верхнего кольца имеет твердое анодированное покрытие.

      5. Для снижения потерь на трение юбка поршня имеет пластмассовое покрытие.

      6. Для снижения трения и уменьшения расхода топлива применяются поршневые кольца низкого напряжения.

      7. Для снижения трения и массы конструкции применяются узкие поршневые кольца.

      8. Компрессионное кольцо № 1 со скосом на внутренней поверхности обеспечивает снижение количества картерных газов.

      9. Поверхности маслосъемного кольца и компрессионного кольца № 1 имеют покрытие, нанесенное осаждением из паров, что улучшает их износостойкость.

        A01ILLME01
    6. Шатун и подшипник шатуна


      1. Для снижения массы шатуны изготавливаются из высокопрочной стали.

      2. Крепление осуществляется с помощью удлиняющихся при затяжке стягивающих болтов.

      3. Для уменьшения трения оптимизирована ширина подшипников коленчатого вала.

      4. Благодаря микроканавкам на поверхности вкладыша подшипника шатуна достигается оптимальный масляный зазор. Как следствие, облегчается запуск холодного двигателя, и ослабляются вибрации двигателя.

        A01ILNBE02
        Обозначения на рисунке
        *1 Шатуны *2 Удлиняющийся при затяжке стягивающий болт
        *3 Микроканавки *4 Подшипник шатуна
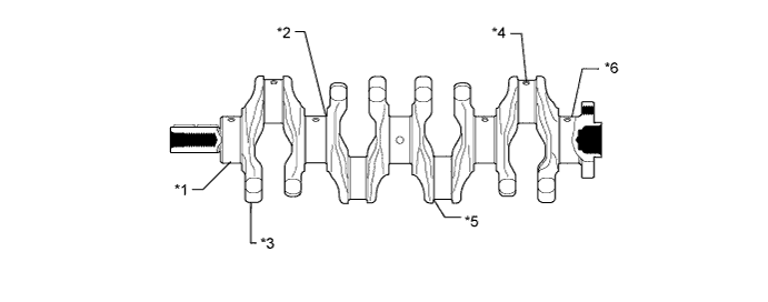
    7. Коленчатый вал и подшипник коленчатого вала


      1. Коленчатый вал имеет 5 шеек и 8 противовесов.

      2. За счет повышения точности механической обработки коренных и шатунных шеек коленчатого вала минимизируется шероховатость поверхностей, и снижается трение.

      3. Все галтели шатунных и коренных шеек отверждены, чтобы обеспечивалась необходимая прочность.

        A01IM7QE02
        Обозначения на рисунке
        *1 Шейка № 1 *2 Галтель коренной шейки
        *3 Противовес *4 Смазочное отверстие
        *5 Галтель шатунной шейки *6 Шейка № 5
      4. Для уменьшения трения оптимизирована ширина подшипников коленчатого вала.

      5. На каждом подшипнике коленчатого вала (верхнем коренном подшипнике) предусмотрена смазочная канавка. Смазочная канавка имеет большую глубину в центре и меньшую по краям, что уменьшает количество масла, вытекающего из подшипника коленчатого вала. В результате уменьшены размеры масляного насоса, и снижено трение.

      6. Благодаря микроканавкам на поверхности вкладыша подшипника коленчатого вала достигается оптимальный масляный зазор. Как следствие, облегчается запуск холодного двигателя, и ослабляются вибрации двигателя.

        A01IM7KE01
    8. Масляный поддон


      1. Картер с ребрами жесткости изготавливается из алюминиевого сплава.

      2. Масляный поддон № 2 изготавливается из стали.

      3. Чтобы повысить компактность двигателя, масляный насос в сборе устанавливается в картер с ребрами жесткости.

      4. Конструкция картера с ребрами жесткости позволяет снимать его без снятия масляного поддона № 2 и масляного насоса, что облегчает проведение технического обслуживания.

      5. В картер с ребрами жесткости встроены кронштейны компрессора системы кондиционирования.

        A01ILN3E01
        Обозначения на рисунке
        *1 Картер с ребрами жесткости в сборе *2 Масляный насос в сборе
        *3 Поддон картера № 2 - -
    9. Клапанный механизм


      1. За счет увеличения суммарной площади каналов повышена эффективность впуска и выпуска.

      2. В данном двигателе используются роликовые рычаги привода клапанов № 1 со встроенными игольчатыми подшипниками. Это позволяет снизить трение, возникающее между кулачками или качающимся кулачком и поверхностями (рычагами привода клапанов № 1), которые выталкивают клапаны вниз, и, тем самым, повысить экономию топлива.

      3. Благодаря применению механизмов регулировки зазора в приводах клапанов постоянно поддерживается нулевой зазор за счет использования давления масла и упругой силы.

      4. Распредвал (впускных клапанов) и распредвал № 2 (выпускных клапанов) приводятся в движение цепью.

      5. Данный двигатель оснащен системой VALVEMATIC, которая бесступенчато регулирует высоту подъема и рабочий угол впускных клапанов, а также двойной электронной системой изменения фаз газораспределения (двойной системой VVT-i), которая регулирует фазы газораспределения впускных и выпускных клапанов. За счет согласованного управления эти системы оптимально регулируют фазы газораспределения и высоту подъема впускных клапанов в соответствии с условиями движения. Благодаря этому достигается снижение расхода топлива и токсичности отработавших газов, а также улучшение рабочих характеристик двигателя.

        A01ILVLE01
        Обозначения на рисунке
        *1 Цепь в сборе *2 Зубчатое колесо распредвала в сборе (контроллер VVT-i выпускных клапанов)
        *3 Натяжитель цепи № 1 в сборе *4 Башмак натяжителя цепи
        *5 Зубчатое колесо распредвала в сборе (контроллер VVT-i впускных клапанов) *6 Успокоитель цепи № 1
        *7 Распредвал № 2 (распредвал выпускных клапанов) *8 Распредвал (распредвал впускных клапанов)
        *9 Контроллер бесступенчатого подъема клапанов в сборе *10 Механизм VALVEMATIC
        *11 Выпускной клапан *12 Впускной клапан
        *13 Роликовый рычаг привода клапана № 1 в сборе *14 Механизм регулировки зазора в приводе клапана в сборе
        *15 Клапан - -
    10. Распредвал


      1. Распредвал (впускных клапанов) и распредвал № 2 (выпускных клапанов) изготавливаются из чугунного сплава.

      2. Чтобы обеспечить подачу моторного масла в двойную систему VVT-i, в распредвале (впускных клапанов) и распредвале № 2 (выпускных клапанов) предусмотрены каналы для масла.

      3. Для изменения фаз газораспределения впускных и выпускных клапанов в передней части распредвала (впускных клапанов) и распредвала № 2 (выпускных клапанов) установлено зубчатое колесо распредвала в сборе (контроллер VVT-i).

      4. Наряду с использованием роликовых рычагов привода клапанов № 1 кулачок получил скошенный профиль с углублениями радиусом R. Это привело к увеличению высоты подъема клапана в момент открывания и по окончании закрывания и, как следствие, к улучшению рабочих характеристик.

      5. В задней части распредвала (впускных клапанов) и распредвала № 2 (выпускных клапанов) имеется задающий ротор для датчика положения коленчатого вала № 1 (датчика положения распредвала).

        A01IM82E01
    11. Цепь в сборе и натяжитель цепи № 1 в сборе


      1. Применение роликовой цепи с шагом 8 мм (0,315 дюйма) позволило сделать двигатель более компактным.

      2. Цепь смазывается масляной форсункой. Положение масляной форсунки указано в разделе "Крышка цепного привода газораспределительного механизма".

      3. Для непрерывного поддержания требуемого натяжения цепи натяжитель цепи № 1 использует пружину и давление масла. Натяжитель цепи № 1 ослабляет шум, создаваемый цепью в сборе.

      4. Натяжитель цепи № 1 в сборе представляет собой невозвратный храповой механизм.

      5. Для повышения удобства технического обслуживания конструкция натяжителя цепи № 1 дает возможность снимать и устанавливать его снаружи крышки цепного привода газораспределительного механизма.

        A01ILW8E01
        Обозначения на рисунке
        *1 Цепь в сборе *2 Натяжитель цепи № 1 в сборе
        *3 Башмак натяжителя цепи *4 Успокоитель цепи № 1
    12. Механизм регулировки зазора в приводе клапана в сборе


      1. Механизм регулировки зазора в приводе клапана располагается в центре вращения роликового рычага привода клапана № 1 и состоит, главным образом, из плунжера, пружины плунжера, запорного шарика и пружины запорного шарика.

      2. Для приведения в действие механизма регулировки зазора используются давление масла, подаваемого головкой блока цилиндров, и встроенная пружина. Давление масла и сила пружины, действующая на плунжер, прижимают роликовый рычаг привода клапана № 1 в сборе к кулачку или качающемуся кулачку, регулируя зазор в приводе, создаваемый во время открывания и закрывания клапана. Как следствие, ослабляется шум двигателя.

        A01ILXSE02
        Обозначения на рисунке
        *1 Кулачок *2 Рычаг привода клапана № 1
        *3 Канал для масла *4 Механизм регулировки зазора в приводе клапана в сборе
        *5 Роликовый рычаг *6 Качающийся кулачок
        *7 Плунжер *8 Запорный шарик
        *9 Пружина запорного шарика *10 Пружина плунжера

        Tech Tips

        В связи с применением механизма регулировки зазора регулировать зазор в приводе клапанов не требуется.

    13. Крышка цепного привода газораспределительного механизма в сборе


      1. Применяется литая алюминиевая крышка цепного привода газораспределительного механизма.

      2. Крышка цепного привода газораспределительного механизма используется не только в клапаном механизме, но и в системе охлаждения (для насоса системы охлаждения и канала охлаждающей жидкости). Благодаря такой объединенной конструкции сокращается количество деталей и уменьшается вес.

      3. Для облегчения подачи масла в крышке цепного привода газораспределительного механизма предусмотрен канал для масла.

      4. В крышку цепного привода газораспределительного механизма вмонтирована масляная форсунка.

      5. Кроме того, крышка цепного привода газораспределительного механизма снабжена индикатором натяжения приводного ремня.

        A01ILUBE01
        Обозначения на рисунке
        *1 Крышка цепного привода газораспределительного механизма *2 Прокладка насоса системы охлаждения
        *3 Насос системы охлаждения в сборе - -
        *a Индикатор натяжения приводного ремня *b Канал охлаждающей жидкости
        *c Канал для масла *d Масляная форсунка цепного привода газораспределительного механизма
        *e Вид A - -
    14. Зубчатое колесо распредвала в сборе (контроллер VVT-i)


      1. Каждое зубчатое колесо распредвала в сборе (контроллер VVT-i) состоит из корпуса, приводимого в движение цепным приводом газораспределительного механизма, и направляющего элемента, соединенного с распредвалом (впускных клапанов) или распредвалом № 2 (выпускных клапанов).

      2. Как со стороны впуска, так и со стороны выпуска используется 4-лопастный направляющий элемент.

      3. Давление масла, поступающего из канала опережения или канала запаздывания распредвала (впускных клапанов) и распредвала № 2 (выпускных клапанов), заставляет вращаться по окружности направляющий элемент зубчатого колеса распредвала в сборе (контроллера VVT-i), вследствие чего непрерывно изменяются фазы газораспределения впускных и выпускных клапанов.

      4. Когда двигатель останавливается, стопорный штифт фиксирует распредвал (впускных клапанов) в положении наибольшего запаздывания, а распредвал № 2 (выпускных клапанов) – в положении наибольшего опережения, гарантируя надлежащий запуск двигателя.

      5. Зубчатое колесо распредвала (контроллер VVT-i) со стороны выпуска снабжено вспомогательной пружиной центробежного регулятора опережения. Когда двигатель останавливается, эта пружина создает крутящий момент в направлении опережения, тем самым обеспечивая вхождение в зацепление стопорного штифта.

        A01IM7XE01
        A01IM1DE01
    15. Механизм VALVEMATIC


      1. В клапанном механизме со стороны впуска используется механизм VALVEMATIC. Механизм VALVEMATIC приводится в действие контроллером бесступенчатого подъема клапанов в сборе.

      2. Кулачок на распредвале нажимает на роликовый рычаг и качающийся кулачок, который вращается таким же образом, как роликовый рычаг. Затем качающийся кулачок нажимает на рычаг привода клапана № 1, открывая впускной клапан.

        A01ILS0E02
        Обозначения на рисунке
        *1 Демпфер мертвого хода рычага привода клапана в сборе *2 Механизм VALVEMATIC
        *3 Контроллер бесступенчатого подъема клапанов в сборе *4 Качающийся кулачок
        *5 Роликовый рычаг *6 Рычаг привода клапана № 1
      3. Приводной вал передает линейное перемещение контроллера бесступенчатого подъема клапанов на ползун, который находится внутри роликового рычага и качающегося кулачка. Так как роликовый рычаг удерживается на месте демпфером мертвого хода рычага привода клапана, спиральные шлицы ползуна и спиральные шлицы внутри роликового рычага вызывают вращение ползуна. В результате ползун вращает качающийся кулачок. Поворот качающегося кулачка непрерывно изменяется в целях бесступенчатого регулирования высоты подъема и рабочего угла впускного клапана.

        A01IM0WE01
        Обозначения на рисунке
        *1 Контроллер бесступенчатого подъема клапанов в сборе *2 Приводной вал
        *3 Демпфер мертвого хода рычага привода клапана в сборе *4 Качающийся кулачок
        *5 Рычаг привода клапана № 1 *6 Роликовый рычаг
      4. Контроллер бесступенчатого подъема клапанов нажимает на приводной вал, и качающийся кулачок поворачивается против часовой стрелки, если смотреть со стороны контроллера бесступенчатого подъема клапанов. В результате давление на рычаг привода клапана № 1 снижается, и высота подъема клапана уменьшается.

        A01ILUGE01
        Обозначения на рисунке
        *1 Контроллер бесступенчатого подъема клапанов в сборе *2 Приводной вал
        *3 Демпфер мертвого хода рычага привода клапана в сборе *4 Качающийся кулачок
        *5 Рычаг привода клапана № 1 *6 Роликовый рычаг
        A01IM2WE01
      5. Контроллер бесступенчатого подъема клапанов притягивает приводной вал, и качающийся кулачок поворачивается по часовой стрелке, если смотреть со стороны контроллера бесступенчатого подъема клапанов. В результате давление на рычаг привода клапана № 1 возрастает, и высота подъема клапана также увеличивается.

        A01IM1XE01
        Обозначения на рисунке
        *1 Контроллер бесступенчатого подъема клапанов в сборе *2 Приводной вал
        *3 Демпфер мертвого хода рычага привода клапана в сборе *4 Качающийся кулачок
        *5 Рычаг привода клапана № 1 *6 Роликовый рычаг
        A01IM8VE01
    16. Поликлиновой ремень


      1. Узлы вспомогательного оборудования приводятся в движение приводным ленточным ремнем, который представляет собой отдельный поликлиновой ремень. В результате снижаются общая длина, масса и число деталей двигателя.

        A01ILN6E02
        Обозначения на рисунке (для моделей с кондиционером)
        *1 Шкив коленчатого вала *2 Шкив генератора
        *3 Шкив насоса системы охлаждения *4 Шкив компрессора системы кондиционирования
        A01IM1TE02
        Обозначения на рисунке (для моделей без кондиционера)
        *1 Шкив коленчатого вала *2 Шкив генератора
        *3 Шкив насоса системы охлаждения - -