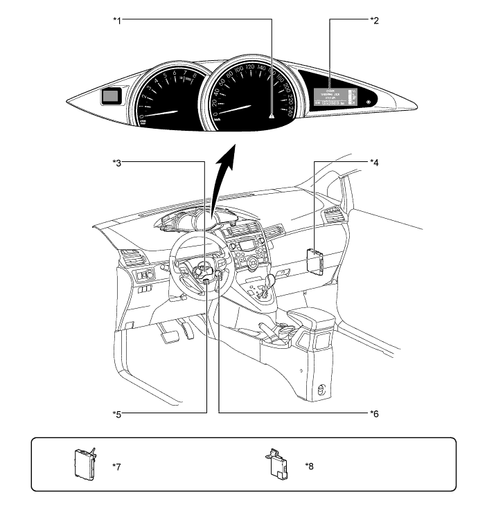
СИСТЕМА БЛОКИРОВКИ РУЛЕВОГО УПРАВЛЕНИЯ РАСПОЛОЖЕНИЕ ДЕТАЛЕЙ

A01ILVGE01
Обозначения на рисунке
*1 Главная контрольная лампа аварийного состояния *2 Мультиинформационный дисплей
*3 Привод блокировки рулевого управления в сборе *4 ЭБУ распределения питания
*5 ЭБУ блокировки рулевого управления *6 Выключатель зажигания
*7 ЭБУ сертификации *8 Блок идентификационного кода (ЭБУ кода иммобилайзера)