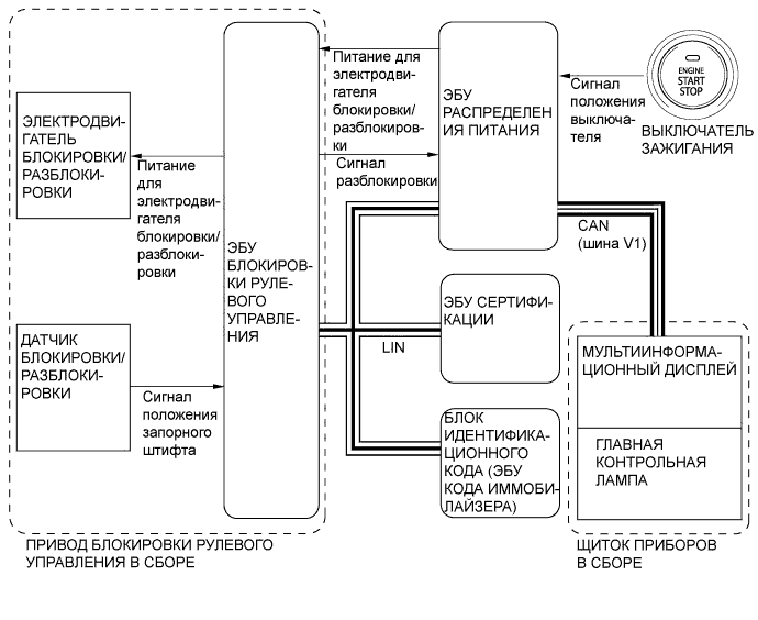
СИСТЕМА БЛОКИРОВКИ РУЛЕВОГО УПРАВЛЕНИЯ СХЕМА СИСТЕМЫ

A01IM4EE02