ENGINE UNIT DETAILS


  1. CONSTRUCTION


    1. Cylinder Head Cover Sub-assembly


      1. A lightweight and high-strength aluminum die-cast cylinder head cover is used.

      2. An oil delivery pipe is installed inside the cylinder head cover. This ensures lubrication to the sliding parts, improving reliability.

        A01IM5IE01
    2. Cylinder Head Gasket


      1. A triple-layer metal type cylinder head gasket is used.

    3. Cylinder Head Sub-assembly and Camshaft Housing Sub-assembly


      1. The cylinder head structure has been simplified by separating the camshaft housing sub-assembly (cam journal portion) from the cylinder head.

      2. The cylinder head, which is made of aluminum, contains a pentroof-type combustion chamber. The spark plug is located in the center of the combustion chamber in order to improve the engine's anti-knocking performance.

      3. The angle of the intake and exhaust valves is narrowed and set at 29° to permit a compact cylinder head.

      4. Spark plugs with an M12 thread size are used in order to increase the diameter of the intake and exhaust valves. As a result, improved intake and exhaust efficiency has been achieved.

      5. A taper squish combustion chamber is used to improve anti-knocking performance and intake efficiency. In addition, engine performance and fuel economy have been improved.

      6. Long nozzle type fuel injector assemblies are installed in the cylinder head to reduce the distance from the fuel injector assembly to the intake valve, thus preventing the fuel from adhering to the intake port walls, and reducing HC exhaust emissions.

        A01ILT4E01
      7. A siamese type intake port is used to reduce the overall surface area of the intake port walls. This prevents the fuel from adhering to the intake port walls, thus reducing HC exhaust emissions.

        A01ILHQE01
    4. Cylinder Block Sub-assembly


      1. An aluminum cylinder block with a 7 mm (0.276 in.) distance between the cylinder bores is used to achieve a compact and lightweight configuration.

      2. An oil separator is provided in the blowby gas passage inside the cylinder block. This separates the engine oil from the blowby gas in order to reduce the degradation and consumption of volume of the engine oil.

      3. It is not possible to bore the block with this liner. The liners are the spiny type, which have been manufactured so that their casting exterior form a large irregular surface in order to enhance the adhesion between the liners and the aluminum cylinder block. The enhanced adhesion helps heat dissipation, resulting in a lower overall temperature and reduced heat deformation of the cylinder bores.

        A01ILPIE02
        Text in Illustration
        *1 Oil Separator *2 Cylinder Block
        *3 Spiny-type Liner (Irregularly shaped outer casting surface of liner) *4 No. 1 Ventilation Case (Oil Separator Cover)
      4. Through the use of the offset crankshaft, the bore center is shifted 8 mm (0.315 in.) towards the intake, in relation to the crankshaft center. Thus, the side force to cylinder wall has been reduced when the maximum pressure is applied, which contributes to fuel economy.

        A01IM6UE01
    5. Piston


      1. The piston is made of aluminum alloy to be compact and lightweight.

      2. The piston head portion is a taper squish shape and accomplishes fuel combustion efficiency.

      3. Full floating type piston pins are used.

      4. The groove of the top ring is applied with hard anodizing treatment to ensure abrasion resistance.

      5. The piston skirt portion is applied with resin coating to reduce friction loss.

      6. Low-tension piston rings are used to reduce friction and achieve excellent fuel economy.

      7. Narrow-width piston rings are used to reduce weight and friction.

      8. A Physical Vapor Deposition (PVD) coating has been applied to the surface of the No. 1 compression ring and oil ring, in order to improve its wear resistance.

      9. Depending on a models, either No. 1 compression ring of Type A or Type B is used.

        A01ILHXE01
        Text in Illustration
        *A Type A *B Type B
        *1 Piston Ring *2 No. 1 Compression Ring
        *3 No. 2 Compression Ring *4 Oil Ring
        *a Taper Squish Shape *b Hard Anodizing Treatment
        *c Resin Coating *d PVD Coating
    6. Connecting Rod Sub-assembly and Connecting Rod Bearing


      1. The connecting rods are made of high-strength steel weight reduction.

      2. Plastic region tightening bolts are used.

      3. The crankshaft bearings have been optimized in width to reduce friction.

      4. The lining surface of the connecting rod bearing has been micro-grooved to provide an optimal amount of oil clearance. As a result, cold-engine cranking performance has been improved and engine vibrations have been reduced.

        A01ILNBE02
        Text in Illustration
        *1 Connecting Rod Sub-assembly *2 Plastic Region Tightening Bolt
        *3 Micro-grooved *4 Connecting Rod Bearing
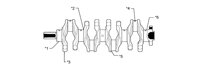
    7. Crankshaft and Crankshaft Bearing


      1. The crankshaft has 5 journals and 8 balance weights.

      2. The pins and journals have been machined with increased precision and the surface roughness has been minimized to reduce friction.

      3. All pins and journal fillets have been hardened to improve their strength.

        A01IM7QE02
        Text in Illustration
        *1 No. 1 Journal *2 Journal Fillet
        *3 Balance Weight *4 Oil Hole
        *5 Pin Fillet *6 No. 5 Journal
      4. The crankshaft bearings have been optimized in width to reduce friction.

      5. An oil groove is provided on each crankshaft bearing (upper main bearing). The oil groove is deep at the center and is shallow at the edges to reduce the amount of oil that will leak from the crankshaft bearing. As a result, the size of the oil pump is reduced, minimizing friction.

      6. The lining surface of the crankshaft bearing has been micro-grooved to provide an optimal amount of oil clearance. As a result, cold-engine cranking performance has been improved and engine vibrations have been reduced.

        A01IM7KE01
    8. Oil Pan


      1. The stiffening crankcase assembly is made of aluminum alloy.

      2. The No. 2 oil pan sub-assembly is made of steel.

      3. The oil pump assembly is installed in the stiffening crankcase assembly to make the engine compact.

      4. To improve serviceability, the stiffening crankcase assembly has been designed so that it can be removed without removing the No. 2 oil pan sub-assembly and the oil pump assembly.

      5. The air conditioning compressor brackets are integrated into the stiffening crankcase assembly.

        A01ILN3E01
        Text in Illustration
        *1 Stiffening Crankcase Assembly *2 Oil Pump Assembly
        *3 No. 2 Oil Pan Sub-assembly - -
    9. Valve Mechanism


      1. Intake and exhaust efficiency has been increased due to the larger total port areas.

      2. This engine uses No. 1 valve rocker arm sub-assembly (roller rocker arm) with built-in needle bearings. This reduces the friction that occurs between the cams or oscillating cam and the areas (No. 1 valve rocker arm sub-assembly) that push the valves down, thus improving fuel economy.

      3. The valve lash adjuster assemblies, which maintain a constant zero valve clearance through the use of oil pressure and spring force, are used.

      4. The camshaft (intake camshaft) and No. 2 camshaft (exhaust camshaft) are driven by a chain sub-assembly.

      5. This engine uses the VALVEMATIC that effects continuously variable control of the amount of intake valve lift and intake valve action angle, and the Dual Variable Valve Timing-intelligent (Dual VVT-i) system that controls the intake and exhaust valve timing. Through coordinate control, these systems optimally control the valve timing and amount of intake valve lift in accordance with the driving conditions. This achieves lower fuel consumption, higher engine performance, and fewer exhaust emissions.

        A01ILVLE01
        Text in Illustration
        *1 Chain Sub-assembly *2 Camshaft Timing Gear Assembly (Exhaust VVT-i Controller)
        *3 No. 1 Chain Tensioner Assembly *4 Chain Tensioner Slipper
        *5 Camshaft Timing Gear Assembly (Intake VVT-i Controller) *6 No. 1 Chain Vibration Damper
        *7 No. 2 Camshaft (Exhaust Camshaft) *8 Camshaft (Intake Camshaft)
        *9 Continuously Variable Valve Lift Controller Assembly *10 VALVEMATIC Mechanism
        *11 Exhaust Valve *12 Intake Valve
        *13 No. 1 Valve Rocker Arm Sub-assembly (Roller Rocker Arm) *14 Valve Lash Adjuster Assembly
        *15 Valve - -
    10. Camshaft


      1. The camshaft (intake camshaft) and No. 2 camshaft (exhaust camshaft) are made of a cast iron alloy.

      2. An oil passage is provided in the camshaft (intake camshaft) and No. 2 camshaft (exhaust camshaft) in order to supply engine oil to the Dual VVT-i system.

      3. A camshaft timing gear assembly (VVT-i controller) has been installed on each front of the camshaft (intake camshaft) and No. 2 camshaft (exhaust camshaft) to vary the timing of the intake and exhaust valves.

      4. Together with the use of the No. 1 valve rocker arm sub-assembly, the cam profile has been designed with an indented R (radius). This results in increased valve lift when the valve begins to open and finishes closing, helping to achieve enhanced output performance.

      5. A timing rotor for the No. 1 crank position sensor (camshaft position sensor) is provided at each back end of the camshaft (intake camshaft) and No. 2 camshaft (exhaust camshaft).

        A01IM82E01
    11. Chain Sub-assembly and No. 1 Chain Tensioner Assembly


      1. A roller chain with an 8 mm (0.315 in.) pitch is used to make the engine more compact.

      2. The chain sub-assembly is lubricated by a timing chain oil jet. See the Timing Chain Cover Sub-assembly for the location of the timing chain oil jet.

      3. The No. 1 chain tensioner assembly uses a spring and oil pressure to maintain proper chain tension at all times. The No. 1 chain tensioner assembly suppresses noise generated by the chain sub-assembly.

      4. The No. 1 chain tensioner assembly is a ratchet type with a non-return mechanism.

      5. To achieve excellent serviceability, the No. 1 chain tensioner assembly is constructed so that it can be removed and installed from the outside of the timing chain cover sub-assembly.

        A01ILW8E01
        Text in Illustration
        *1 Chain Sub-assembly *2 No. 1 Chain Tensioner Assembly
        *3 Chain Tensioner Slipper *4 No. 1 Chain Vibration Damper
    12. Valve Lash Adjuster Assembly


      1. The valve lash adjuster assembly, which is located at the fulcrum of the No.1 valve rocker arm sub-assembly, consists primarily of a plunger, a plunger spring, a check ball, and a check ball spring.

      2. The engine oil supplied by the cylinder head and the built-in spring actuate the valve lash adjuster assembly. The oil pressure and the spring force that act on the plunger push the No. 1 valve rocker arm sub-assembly against the cam or oscillating cam, in order to adjust the valve clearance created during the opening and closing of the valve. As a result, engine noise has been reduced.

        A01ILXSE02
        Text in Illustration
        *1 Cam *2 No. 1 Valve Rocker Arm Sub-assembly
        *3 Oil Passage *4 Valve Lash Adjuster Assembly
        *5 Roller Arm *6 Oscillating Cam
        *7 Plunger *8 Check Ball
        *9 Check Ball Spring *10 Plunger Spring

        Tech Tips

        Valve clearance adjustment is not necessary because a valve lash adjuster assembly is used.

    13. Timing Chain Cover Sub-assembly


      1. An aluminum die-cast timing chain cover is used.

      2. The timing chain cover has an integrated construction consisting of the cooling system (water pump assembly and water passage). Thus, the number of parts has been reduced for weight reduction.

      3. The oil passage is provided on the timing chain cover sub-assembly to simplify the oil passage.

      4. The timing chain oil jet is provided in the timing chain cover sub-assembly.

      5. A drive belt tension gauge is provided on the timing chain cover sub-assembly.

        A01ILUBE01
        Text in Illustration
        *1 Timing Chain Cover *2 Water Pump Gasket
        *3 Water Pump Assembly - -
        *a Drive Belt Tension Gauge *b Water Passage
        *c Oil Passage *d Timing Chain Oil Jet
        *e View from A - -
    14. Camshaft Timing Gear Assembly (VVT-i Controller)


      1. Each camshaft timing gear assembly (VVT-i controller) consists of a housing driven from the timing chain and a vane coupled with the camshaft (intake camshaft) or No. 2 camshaft (exhaust camshaft).

      2. Both the intake and exhaust sides have a 4-blade vane.

      3. The oil pressure sent from the advanced or retarded side path at the camshaft (intake camshaft) and No. 2 camshaft (exhaust camshaft) causes rotation in the camshaft timing gear assembly (VVT-i controller) vane circumferential direction to vary the intake and exhaust valve timing continuously.

      4. When the engine is stopped, a lock pin locks the camshaft (intake camshaft) at the most retarded end and the No. 2 camshaft (exhaust camshaft) at the most advanced end, to ensure that the engine starts properly.

      5. An advance assist spring is provided on the exhaust side camshaft timing gear assembly (VVT-i controller). This spring applies torque in the advance direction when the engine is stopped, thus ensuring the engagement of the lock pin.

        A01IM7XE01
        A01IM1DE01
    15. VALVEMATIC Mechanism


      1. The valve mechanism for the intake side uses the VALVEMATIC mechanism. The VALVEMATIC mechanism is operated by the continuously variable valve lift controller assembly.

      2. The cam on the camshaft pushes the roller arm, and the oscillating cam that rotates in the same way as the roller arm. Then, the oscillating cam pushes on the No. 1 valve rocker arm sub-assembly, in order to open the intake valve.

        A01ILS0E02
        Text in Illustration
        *1 Valve Rocker Arm Lost Motion Damper Sub-assembly *2 VALVEMATIC Mechanism
        *3 Continuously Variable Valve Lift Controller Assembly *4 Oscillating Cam
        *5 Roller Arm *6 No. 1 Valve Rocker Arm Sub-assembly
      3. The control shaft transmits the linear movement of the continuously variable valve lift controller assembly to the slider located inward of the roller arm and oscillating cam. Because the roller arm is held in place by the valve rocker arm lost motion damper sub-assembly, the slider's helical splines and the helical splines inside the roller arm cause the slider to rotate. As a result, the slider rotates the oscillating cam. The rotation of the oscillating cam varies continuously in order to continuously vary the amount of intake valve lift and intake valve action angle.

        A01IM0WE01
        Text in Illustration
        *1 Continuously Variable Valve Lift Controller Assembly *2 Control Shaft
        *3 Valve Rocker Arm Lost Motion Damper Sub-assembly *4 Oscillating Cam
        *5 No. 1 Valve Rocker Arm Sub-assembly *6 Roller Arm
      4. As the continuously variable valve lift controller assembly pushes on the control shaft, the oscillating cam rotates counterclockwise as seen from the continuously variable valve lift controller assembly. As a result, the pressing exerted on the No. 1 valve rocker arm sub-assembly decreases, thus reducing the amount of valve lift.

        A01ILUGE01
        Text in Illustration
        *1 Continuously Variable Valve Lift Controller Assembly *2 Control Shaft
        *3 Valve Rocker Arm Lost Motion Damper Sub-assembly *4 Oscillating Cam
        *5 No. 1 Valve Rocker Arm Sub-assembly *6 Roller Arm
        A01IM2WE01
      5. As the continuously variable valve lift controller assembly pulls on the control shaft, the oscillating cam rotates clockwise as seen from the continuously variable valve lift controller assembly. As a result, the pressure exerted on the No. 1 valve rocker arm sub-assembly increases, thus increasing the amount of valve lift.

        A01IM1XE01
        Text in Illustration
        *1 Continuously Variable Valve Lift Controller Assembly *2 Control Shaft
        *3 Valve Rocker Arm Lost Motion Damper Sub-assembly *4 Oscillating Cam
        *5 No. 1 Valve Rocker Arm Sub-assembly *6 Roller Arm
        A01IM8VE01
    16. V-ribbed Belt


      1. Accessory components are driven by a serpentine belt consisting of a single V-ribbed belt. This reduces the overall engine length, weight and number of engine parts.

        A01ILN6E02
        Text in Illustration (Models with Air Conditioning:)
        *1 Crankshaft Pulley *2 Generator Pulley
        *3 Water Pump Pulley *4 Air Conditioning Compressor Pulley
        A01IM1TE02
        Text in Illustration (Models without Air Conditioning:)
        *1 Crankshaft Pulley *2 Generator Pulley
        *3 Water Pump Pulley - -