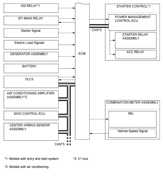
SFI SYSTEM SYSTEM DIAGRAM

A01IM5ZE01
A01ILT2E01
A01ILFGE07