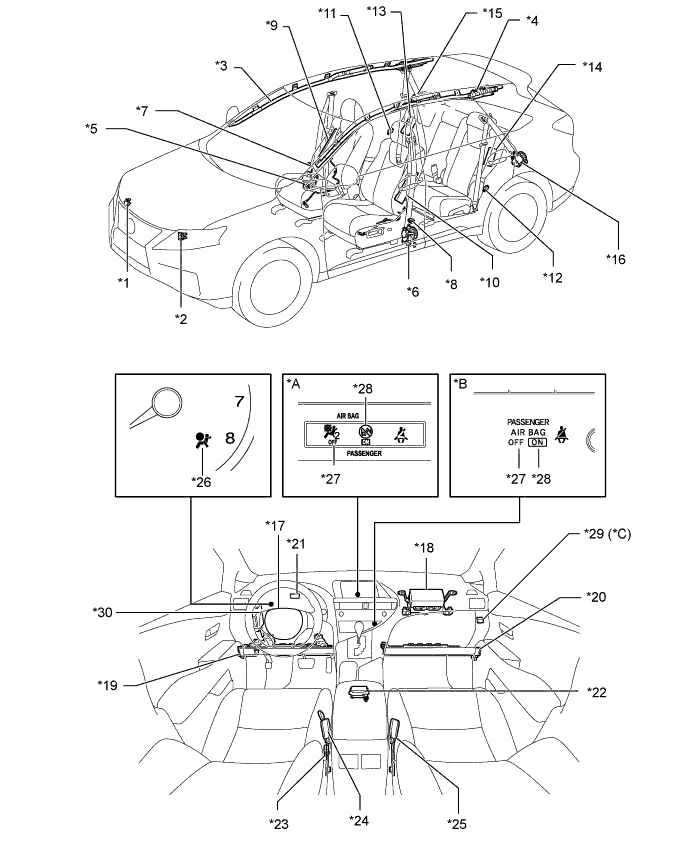
| *A | Для моделей со щитком приборов и функцией выключения системы SRS | *B | Для моделей с многофункциональным дисплеем и функцией выключения системы SRS |
| *C | Для моделей с функцией выключения системы SRS | - | - |
| *1 | Правый передний датчик системы SRS | *2 | Левый передний датчик системы SRS |
| *3 | Правая подушка безопасности занавесочного типа в сборе | *4 | Левая подушка безопасности занавесочного типа в сборе |
| *5 | Правый передний ремень с катушкой и преднатяжителем в сборе | *6 | Левый передний ремень с катушкой и преднатяжителем в сборе |
| *7 | Правый боковой датчик системы SRS | *8 | Левый боковой датчик системы SRS |
| *9 | Боковая подушка безопасности передних сидений со стороны пассажира в сборе | *10 | Боковая подушка безопасности передних сидений со стороны водителя в сборе |
| *11 | Правый задний боковой датчик системы SRS | *12 | Левый задний боковой датчик системы SRS |
| *13 | Правая боковая подушка безопасности задних сидений в сборе | *14 | Левая боковая подушка безопасности задних сидений в сборе |
| *15 | Правый задний ремень безопасности с катушкой и преднатяжителем в сборе | *16 | Левый задний ремень безопасности с катушкой и преднатяжителем в сборе |
| *17 | Накладка рулевого колеса (пиропатрон со стороны водителя) | *18 | Передняя подушка безопасности пассажира в сборе |
| *19 | Подушка безопасности для защиты коленей водителя в сборе | *20 | Подушка безопасности для защиты коленей переднего пассажира в сборе |
| *21 | Мультиинформационный дисплей | *22 | Блок управления системы SRS |
| *23 | Датчик положения сиденья | *24 | Замок ремня безопасности левого переднего сиденья в сборе |
| *25 | Замок ремня безопасности правого переднего сиденья в сборе | *26 | Контрольная лампа аварийного состояния SRS |
| *27 | Контрольная лампа AIRBAG OFF | *28 | Контрольная лампа AIRBAG ON |
| *29 | Выключатель системы SRS | *30 | ЭБУ распределения питания |
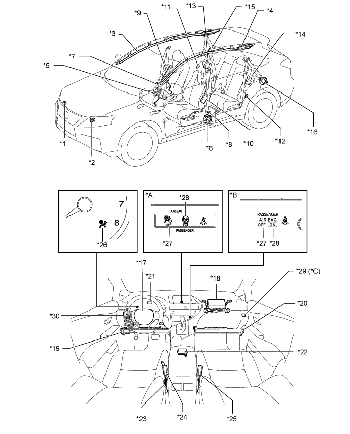
| *A | Для моделей со щитком приборов и функцией выключения системы SRS | *B | Для моделей с многофункциональным дисплеем и функцией выключения системы SRS |
| *C | Для моделей с функцией выключения системы SRS | - | - |
| *1 | Правый передний датчик системы SRS | *2 | Левый передний датчик системы SRS |
| *3 | Правая подушка безопасности занавесочного типа в сборе | *4 | Левая подушка безопасности занавесочного типа в сборе |
| *5 | Правый передний ремень с катушкой и преднатяжителем в сборе | *6 | Левый передний ремень с катушкой и преднатяжителем в сборе |
| *7 | Правый боковой датчик системы SRS | *8 | Левый боковой датчик системы SRS |
| *9 | Боковая подушка безопасности передних сидений со стороны пассажира в сборе | *10 | Боковая подушка безопасности передних сидений со стороны водителя в сборе |
| *11 | Правый задний боковой датчик системы SRS | *12 | Левый задний боковой датчик системы SRS |
| *13 | Правая боковая подушка безопасности задних сидений в сборе | *14 | Левая боковая подушка безопасности задних сидений в сборе |
| *15 | Правый задний ремень безопасности с катушкой и преднатяжителем в сборе | *16 | Левый задний ремень безопасности с катушкой и преднатяжителем в сборе |
| *17 | Накладка рулевого колеса (пиропатрон со стороны водителя) | *18 | Передняя подушка безопасности пассажира в сборе |
| *19 | Подушка безопасности для защиты коленей водителя в сборе | *20 | Подушка безопасности для защиты коленей переднего пассажира в сборе |
| *21 | Мультиинформационный дисплей | *22 | Блок управления системы SRS |
| *23 | Датчик положения сиденья | *24 | Замок ремня безопасности левого переднего сиденья в сборе |
| *25 | Замок ремня безопасности правого переднего сиденья в сборе | *26 | Контрольная лампа аварийного состояния SRS |
| *27 | Контрольная лампа AIRBAG OFF | *28 | Контрольная лампа AIRBAG ON |
| *29 | Выключатель системы SRS | *30 | ЭБУ распределения питания |