СИСТЕМА ВПУСКА ДЕТАЛЬНОЕ ОПИСАНИЕ


  1. КОНСТРУКЦИЯ


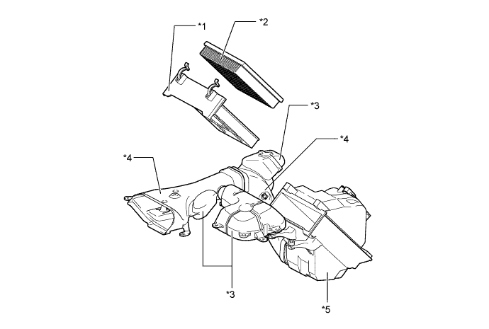
    1. Воздушный фильтр в сборе


      1. Используется бумажный фильтрующий элемент воздушного фильтра.

      2. Для снижения уровня шума, создаваемого воздухом на впуске, на входной патрубок воздушного фильтра установлен резонатор.

        A019WB2E01
        Обозначения на рисунке
        *1 Крышка воздушного фильтра в сборе *2 Фильтрующий элемент воздушного фильтра в сборе (бумажный)
        *3 Резонатор *4 Впускной патрубок воздушного фильтра
        *5 Корпус воздушного фильтра в сборе - -
    2. Корпус дроссельной заслонки


      1. В корпусе дроссельной заслонки объединены датчик положения и электродвигатель привода дроссельной заслонки. При этом в нем отсутствуют тросы управления. Такая конструкция способствует значительному повышению качества управления дроссельной заслонкой.

      2. Для управления дроссельной заслонкой используется электродвигатель постоянного тока с превосходной характеристикой и минимальной потребляемой мощностью. ECM изменяет продолжительность включения для каждого направления и амплитуду тока, протекающего через электродвигатель привода дроссельной заслонки, тем самым регулируя угол поворота дроссельной заслонки.

        A019WTJE02
        Обозначения на рисунке
        *1 Электродвигатель привода дроссельной заслонки *2 Датчик положения дроссельной заслонки
    3. Уравнительный бачок воздухозаборника


      1. Для уменьшения веса конструкции уравнительный бачок воздухозаборника изготовлен из пластмассы.

      2. На уравнительном бачке воздухозаборника установлен датчик разрежения для системы рециркуляции отработавших газов (РОГ).

        A019WKGE01
        Обозначения на рисунке
        *1 Датчик разрежения EFI в сборе
    4. Впускной коллектор


      1. Для изготовления впускного коллектора используется легкий алюминиевый сплав.

      2. Прокладки между впускными коллекторами № 1 и № 2 и головкой имеют резиновое покрытие. Они обеспечивают превосходную износостойкость.

        A019WKBE06
        Обозначения на рисунке
        *1 Прокладка № 1 между впускным коллектором и головкой *2 Прокладка № 2 между впускным коллектором и головкой
        *a Резиновое покрытие *b Сечение A - A