БЛОК ДВИГАТЕЛЯ ДЕТАЛЬНОЕ ОПИСАНИЕ


  1. КОНСТРУКЦИЯ


    1. Крышка головки блока цилиндров


      1. Используются облегченные, но по-прежнему высокопрочные алюминиевые крышки головки блока цилиндров.

      2. Внутрь каждой крышки головки блока цилиндров установлена маслоподводящая трубка. Это обеспечивает смазывание скользящих деталей роликовых рычагов привода клапанов № 1 и, тем самым, повышает надежность.

        A019WDIE01
        Обозначения на рисунке
        *1 Маслоподводящая трубка *2 Крышка головки блока цилиндров
        *3 Прокладка крышки головки блока цилиндров - -
    2. Прокладка правой головки блока цилиндров и прокладка левой головки блока цилиндров № 2


      1. Используются многослойные стальные прокладки головки блока цилиндров. Для улучшения герметичности и повышения долговечности по краю каждого отверстия цилиндра прокладки располагается шайба.

        A019WMZE02
        Обозначения на рисунке
        *1 Шайба - -
        *a Передняя часть двигателя *b Для правого ряда цилиндров
        *c Для левого ряда цилиндров *d Сечение A - A
    3. Правая головка блока цилиндров и левая головка блока цилиндров


      1. Конструкция головки блока цилиндров упрощена за счет разделения шейки распредвала (кожуха распредвала) и головки блока цилиндров.

      2. Головка блока цилиндров изготовлена из алюминия и содержит шатровые камеры сгорания. Свеча зажигания располагается в центре камеры сгорания, в результате чего обеспечивается улучшение детонационной характеристики двигателя.

      3. Впускные каналы размещаются внутри, а выпускные каналы снаружи левого и правого рядов цилиндров.

      4. Для улучшения детонационной характеристики и повышения эффективности впуска используется камера сгорания с конической зоной завихрения. Кроме того, за счет этого улучшаются рабочие характеристики двигателя, и повышается экономия топлива.

      5. С целью снижения общей площади поверхности стенок впускных каналов используются объединенные впускные каналы с общей стенкой. Благодаря этому предотвращается прилипание топлива к стенкам впускных каналов, и, как следствие, снижается токсичность отработавших газов (содержание CH).

        A019WMRE07
        Обозначения на рисунке
        *1 Отверстие для свечи зажигания *2 Впускной клапан
        *3 Выпускной клапан *4 Кожух распредвала
        *5 Верхний впускной канал - -
        *a Со стороны впуска *b Со стороны выпуска
        *c Вид снизу *d Сечение A - A
        *e Зона конического завихрения - -

        Tech Tips

        На следующем рисунке показаны различия впускных каналов с общей стенкой и независимых каналов.

        A019WR1E02
        Обозначения на рисунке
        *A Объединенные каналы с общей стенкой *B Независимые каналы
    4. Блок цилиндров в сборе


      1. Блок цилиндров изготовлен из алюминиевого сплава и поэтому имеет малую массу.

      2. Благодаря тому, что цилиндры в блоке цилиндров расположены под углом 60° со сдвигом 36,6 мм (1,441 дюйма), а шаг отверстий составляет 105,5 мм (4,15 дюйма), снижены размеры блока (ширина и длина) при сохранении рабочего объема.

      3. Внутри левого и правого рядов цилиндров расположены установочные контакты 2 датчиков детонации.

        A019WDLE05
        Обозначения на рисунке
        *1 Контакт датчика детонации - -
        *a 60° *b 36,6 мм (1,441 дюйма)
        *c 105,5 мм (4,15 дюйма) - -
      4. Между отверстиями цилиндров предусмотрен канал охлаждающей жидкости. Благодаря такой конструкции, позволяющей охлаждающей жидкости перетекать между отверстиями цилиндров, поддерживается одинаковая температура стенок цилиндров.

        A019WMKE03
        Обозначения на рисунке
        *1 Канал охлаждающей жидкости
      5. За счет использования тонких литых чугунных гильз и изготовления блока цилиндров в виде единого узла удалось добиться уменьшения его размеров. Расточка цилиндров в блоке, содержащим гильзы данного типа, недопустима.

      6. Чтобы улучшить сцепление гильз с головкой блока цилиндров, применяются шероховатые гильзы, изготовленные таким образом, что их литые наружные стороны образуют большую неровную поверхность. Улучшенное сцепление обеспечивает повышение теплопередачи, в результате чего снижается общая температура, и ослабляется тепловая деформация отверстий цилиндров.

        A019WTPE03
        Обозначения на рисунке
        *1 Гильза *2 Блок цилиндров
        *a Шероховатая наружная поверхность литой гильзы *b Сечение A - A
    5. Поршни


      1. Поршни изготавливаются из алюминиевого сплава.

      2. Днища поршней имеют коническую завихряющую форму, обеспечивающую эффективное сгорание топлива.

      3. Для снижения потерь от трения юбка поршня имеет пластмассовое покрытие.

      4. Чтобы обеспечить сопротивление абразивному изнашиванию, канавка верхнего кольца покрыта алюмитом.

      5. Благодаря повышению точности механообработки отверстий цилиндров в блоке используются поршни только одного размера.

        A019WULE01
        Обозначения на рисунке
        *a Метка передней стороны *b Полимерное покрытие
        *c Коническая завихряющая форма *d Алюмитовое покрытие
    6. Шатуны


      1. Для снижения массы используются кованые высокопрочные шатуны.

      2. Для минимизации смещения крышек шатунов во время сборки на сопрягаемых поверхностях крышек шатунов установлены штифты.

      3. Удлиняющиеся при затяжке стягивающие болты, используемые для крепления шатунов, обеспечивают снижение массы конструкции.

      4. Подшипники шатунов изготавливаются из алюминия.

      5. Для уменьшения трения снижена ширина подшипников шатунов.

        A019WLBE02
        Обозначения на рисунке
        *1 Удлиняющийся при затяжке стягивающий болт *2 Штифт
    7. Коленчатый вал


      1. Коленчатый вал изготавливается из кованой стали, характеризующейся превосходной прочностью и износостойкостью.

      2. Он имеет 4 коренных шейки и 5 противовесов.

        A019WVAE04
        Обозначения на рисунке
        *1 Шейка № 1 *2 Шейка № 2
        *3 Шейка № 3 *4 Шейка № 4
        *5 Противовес - -
        *a Передняя сторона двигателя - -
    8. Подшипник и крышка подшипника коленчатого вала


      1. Коренные подшипники коленчатого вала изготавливаются из алюминиевого сплава.

      2. Аналогично подшипникам шатунов, поверхность вкладышей подшипников коленчатого вала покрыта микроканавками, что обеспечивает оптимальный масляный зазор. Как следствие, облегчается запуск холодного двигателя, и снижается вибрация двигателя.

      3. На внутренней окружности верхних подшипников коленчатого вала предусмотрена смазочная канавка.

      4. Крышки подшипников коленчатого вала для каждой шейки закреплены с помощью 4-х удлиняющихся при затяжке стягивающих болтов. Кроме того, для повышения надежности каждая крышка зафиксирована сбоку.

        A019WEOE04
        Обозначения на рисунке
        *1 Удлиняющийся при затяжке стягивающий болт *2 Крышка подшипника коленчатого вала
        *3 Уплотнительная шайба *4 Верхний подшипник коленчатого вала
        *5 Нижний подшипник коленчатого вала *6 Смазочная канавка
        *7 Поверхность с микроканавками - -
    9. Шкив коленчатого вала


      1. Благодаря жесткости шкива коленчатого вала со встроенным резиновым демпфером крутильных колебаний снижается шум.

        A019WPZE02
        Обозначения на рисунке
        *1 Резиновый демпфер крутильных колебаний
    10. Масляный поддон


      1. Масляный поддон № 1 изготавливается из алюминиевого сплава.

      2. Масляный поддон № 2 изготавливается из стали.

      3. Для упрочнения конструкции масляный поддон № 1 крепится к блоку цилиндров и кожуху трансмиссии.

      4. Корпус масляного фильтра объединен с масляным поддоном.

        A019WF9E01
        Обозначения на рисунке
        *1 Масляный поддон № 1 *2 Масляный поддон № 2
        *3 Корпус масляного фильтра - -
    11. Клапанный механизм


      1. Каждый цилиндр двигателя имеет 2 впускных и 2 выпускных клапана. За счет увеличения суммарной площади каналов повышена эффективность системы впуска и выпуска.

      2. В данном двигателе используются роликовые рычаги привода клапанов со встроенными игольчатыми подшипниками. Это позволяет снизить трение, возникающее между кулачками и поверхностями роликовых рычагов привода, которые выталкивают клапаны вниз, и, тем самым, повысить экономию топлива.

      3. Благодаря применению гидравлических механизмов регулировки зазора в приводах клапанов постоянно поддерживается нулевой зазор за счет использования давления масла и упругой силы.

      4. Распредвалы впускных клапанов приводятся в движение коленчатым валом посредством первичного цепного привода газораспределительного механизма. Распредвалы выпускных клапанов приводятся в движение распредвалом впускных клапанов соответствующего ряда посредством вторичного цепного привода.

      5. В данном двигателе используется электронная система изменения фаз газораспределения (VVT-i), которая управляет распредвалами впускных клапанов, оптимизируя фазы газораспределения в соответствии с условиями движения. Благодаря этому достигается снижение расхода топлива и токсичности отработавших газов, а также улучшение рабочих характеристик двигателя.

        A019WGJE01
        Обозначения на рисунке
        *1 Цепь № 2 в сборе (вторичного привода) *2 Распредвал (правый, впускных клапанов)
        *3 Распредвал № 3 (левый, впускных клапанов) *4 Роликовый рычаг привода клапана № 1 в сборе
        *5 Держатель пружины клапана *6 Пружина клапана
        *7 Тарелка пружины клапана *8 Гидравлический механизм регулировки зазора в приводе клапана в сборе
        *9 Клапан *10 Направляющая втулка клапана
        *11 Распредвал № 4 (левый, выпускных клапанов) *12 Цепь в сборе (первичного привода)
        *13 Распредвал № 2 (правый, выпускных клапанов) - -
    12. Фазы газораспределения

      Распредвал впускных клапанов Открыто -11-29° до ВМТ
      Закрыто 101-61° после НМТ
      Распредвал выпускных клапанов Открыто 36° до НМТ
      Закрыто 8° после ВМТ
      A019WCPE01
    13. Распредвал


      1. Распредвалы изготавливаются из чугунного сплава.

      2. Чтобы обеспечить подачу моторного масла в систему VVT-i, в распредвалах впускных клапанов предусмотрены каналы для масла.

      3. На передней части распредвалов установлены зубчатые колеса распредвалов в сборе (левое и правое), регулирующие фазы газораспределения впускных клапанов.

      4. Наряду с использованием роликовых рычагов привода клапанов № 1 в сборе изменен профиль кулачков. Это привело к увеличению высоты подъема клапана в момент открывания и по окончании закрывания и, как следствие, к улучшению рабочих характеристик.

        A019WBEE01
        Обозначения на рисунке
        *1 Распредвал № 2 (правый, выпускных клапанов) *2 Распредвал (правый, впускных клапанов)
        *3 Задающий ротор *4 Зубчатое колесо распредвала в сборе
        *5 Распредвал № 3 (левый, впускных клапанов) *6 Распредвал № 4 (левый, выпускных клапанов)
        *a Увеличенная высота подъема клапана *b Измененный профиль подъема кулачка распредвала
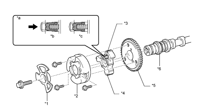
    14. Зубчатое колесо распредвала в сборе (на впуске)


      1. Каждое зубчатое колесо распредвала впускных клапанов включает наружный корпус, который приводится в движение звездочкой цепного привода газораспределительного механизма, и направляющий элемент в сборе, соединенный с каждым распредвалом впускных клапанов.

      2. В зубчатом колесе распредвала используется направляющий элемент с 3 кулачками.

      3. Когда двигатель останавливается, каждое зубчатое колесо распредвала впускных клапанов блокируется своим стопорным штифтом в положении наибольшего запаздывания. Это обеспечивает превосходную пусковую характеристику двигателя.

      4. Давление масла, поступающего из каналов распредвалов впускных клапанов со стороны опережения или запаздывания, заставляет направляющий элемент вращаться относительно звездочки цепного привода газораспределительного механизма, вследствие чего непрерывно изменяются фазы газораспределения.

        A019WOGE04
        Обозначения на рисунке
        *1 Задающий ротор *2 Наружный корпус
        *3 Стопорный штифт *4 Направляющий элемент в сборе (соединен с распредвалом (впускных клапанов))
        *5 Звездочка цепного привода газораспределительного механизма *6 Распредвал (впускных клапанов)
        *a Давление масла *b Двигатель работает
        *c Двигатель остановлен - -
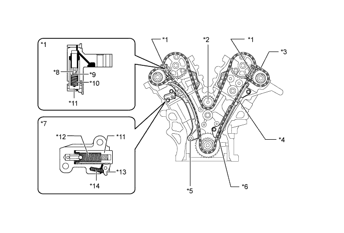
    15. Цепи в сборе и натяжители цепей в сборе


      1. В первичном и вторичных цепных приводах газораспределительного механизма используются роликовые цепи с шагом 9,525 мм (0,375 дюйма).

      2. Цепи привода смазываются масляной форсункой.

      3. Цепь первичного привода снабжена натяжителем цепи, а каждая цепь вторичного привода имеет натяжитель цепи № 2.

      4. Для постоянного поддержания надлежащего натяжения в натяжителях цепей обоих типов используется пружина и давление масла. Натяжители ослабляют шум, создаваемый цепями привода.

      5. Натяжитель цепи (первичного привода) представляет собой невозвратный храповой механизм.

        A019WIHE01
        Обозначения на рисунке
        *1 Натяжитель цепи № 2 в сборе (вторичного привода) *2 Промежуточная цепная шестерня в сборе
        *3 Цепь № 2 в сборе (вторичного привода) *4 Цепь в сборе (первичного привода)
        *5 Башмак натяжителя цепи *6 Успокоитель цепи № 1
        *7 Натяжитель цепи в сборе (первичного привода) *8 Шарик
        *9 Пружина шарика *10 Основная пружина
        *11 Плунжер *12 Пружина
        *13 Кулачок *14 Пружина кулачка
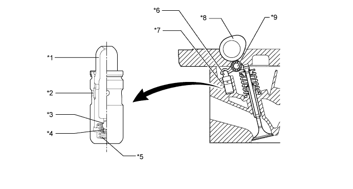
    16. Гидравлический механизм регулировки зазора в приводе клапана в сборе


      1. Гидравлические механизмы регулировки зазора расположены в центре вращения роликовых рычагов привода клапанов. Каждый из них состоит, главным образом, из плунжера, пружины плунжера, запорного шарика и пружины запорного шарика.

      2. Для приведения в действие гидравлического механизма регулировки зазора используются давление моторного масла, подаваемого головкой блока цилиндров, и встроенная пружина. Давление масла и сила пружины, действующая на плунжер, прижимают роликовый рычаг привода клапана № 1 к кулачку, регулируя зазор между штоком клапана и роликовым рычагом привода клапана № 1. Это предотвращает создание шума во время открывания и закрывания клапанов. Как следствие, ослабляется шум двигателя.

        A019WGIE03
        Обозначения на рисунке
        *1 Плунжер *2 Канал для масла
        *3 Запорный шарик *4 Пружина запорного шарика
        *5 Пружина плунжера *6 Гидравлический механизм регулировки зазора в приводе клапана в сборе
        *7 Канал для масла *8 Кулачок
        *9 Роликовый рычаг привода клапана № 1 в сборе - -
    17. Кронштейны опор


      1. Обеспечивающие поддержку двигателя опоры расположены в 4 точках: спереди, сзади, справа и слева. Расположение и характеристики всех опор двигателя оптимизированы, что обеспечивает низкий уровень шума и вибрации.

      2. С целью снижения шума и вибрации, а также для достижения плавности хода и хорошей управляемости в качестве передней, правой и левой опор двигателя используются составные опоры с жидким наполнителем.

      3. Для регулирования перемещения двигателя в направлении крена используется реактивная штанга.

        A019WNJE01
        Обозначения на рисунке
        *1 Реактивная штанга *2 Кронштейн реактивной штанги
        *3 Передняя опора двигателя (составная опора двигателя с жидким наполнителем) *4 Левая опора двигателя (составная опора двигателя с жидким наполнителем)
        *5 Правая опора двигателя (составная опора двигателя с жидким наполнителем) *6 Задняя опора
    18. Поликлиновой ремень


      1. Насос системы охлаждения приводится в движение одним поликлиновым ремнем.

      2. Благодаря автоматическому регулятору натяжения не требуется регулировать натяжение ремня.

        A019WBGE01
        Обозначения на рисунке
        *1 Шкив насоса системы охлаждения *2 Шкив коленчатого вала
        *3 Опорный ролик автоматического регулятора натяжения - -
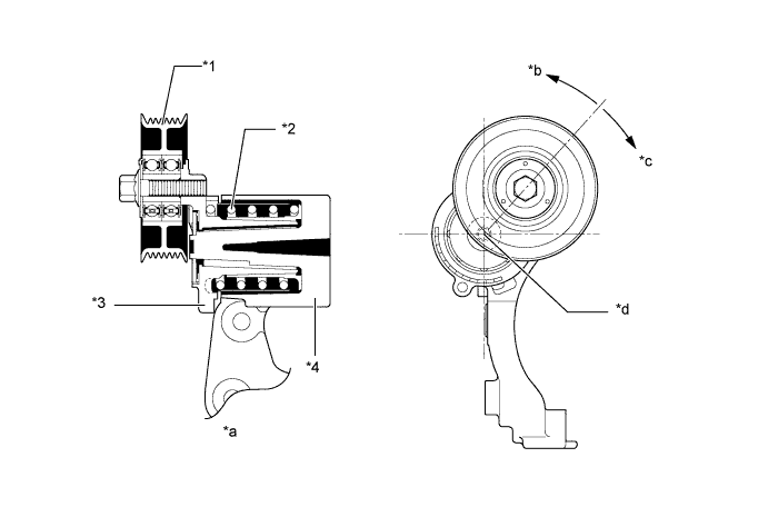
    19. Натяжитель поликлинового ремня в сборе


      1. Требуемое натяжение поликлинового ремня поддерживается стяжной пружиной, входящей в натяжитель ремня.

        A019WNRE01
        Обозначения на рисунке
        *1 Опорный ролик *2 Пружина
        *3 Рычаг *4 Кронштейн
        *a Поперечное сечение *b Направление вытяжения ремня
        *c Направление натяжения ремня *d Ось поворота