ОСОБЕННОСТИ ОБОРУДОВАНИЕ


  1. ОПИСАНИЕ


    1. Стабилизирующее ребро


      1. На рассеивателях заднего блока фонарей используются ребра аэродинамической стабилизации. Эти ребра создают воздушные вихри вблизи автомобиля, обеспечивая устойчивость рулевого управления при движении.

      2. Проходящий мимо стабилизирующего ребра воздух образует спиралевидные завихрения. Благодаря этим завихрениям воздух прижимается к кузову с обеих сторон, облегчая управление автомобилем.

        A019WFUE01
        Обозначения на рисунке
        *a Стабилизирующее ребро *b Завихрения
        A019WSS Поток воздуха A019WEA Удерживают автомобиль с обеих сторон
    2. Система подогрева рулевого колеса


      1. Система подогрева рулевого колеса обеспечивает поддержание заданной температуры обитой кожей части рулевого колеса после приведения в действие соответствующего выключателя.

        A019WCDE01
        Обозначения на рисунке
        *1 Устройство управления подогревателем рулевого колеса в сборе *2 Выключатель подогревателя рулевого колеса
        *3 Контрольная лампа - -
        A019WJX Нагреваемая часть - -
    3. Переключатель мультиинформационного дисплея (переключатель на рулевом колесе в сборе)


      1. С помощью переключателя мультиинформационного дисплея (переключателя на рулевом колесе) пользователь может переключать и настраивать различные функции, используя единственный переключатель. Данный переключатель содержит переключатель меню и переключатель ENTER.

        A019WT8E01
        Обозначения на рисунке
        *1 Переключатель мультиинформационного дисплея (переключатель на рулевом колесе в сборе) *2 Переключатель меню
        *3 Переключатель ENTER - -
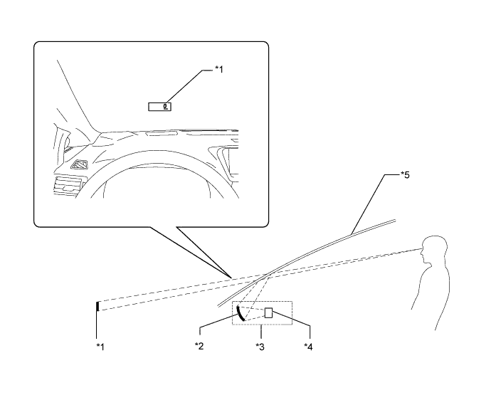
    4. Индикация на ветровом стекле


      1. Блок индикации на ветровом стекле проецирует изображение с точечного жидкокристаллического дисплея, встроенного в ЭБУ зеркала щитка приборов, примерно на 2 м (6,6 фута) перед водителем посредством вогнутого зеркала и ветрового стекла, обеспечивая водителя различной информацией.

        A019WKYE01
        Обозначения на рисунке
        *1 Изображение на дисплее *2 Вогнутое зеркало
        *3 Блок индикации на ветровом стекле *4 Точечный жидкокристаллический дисплей
        *5 Ветровое стекло - -
    5. Аудиосистема с дисплеем Lexus


      1. Аудиосистема с дисплеем Lexus представляет собой радиоприемник, оснащенный дисплеем с диагональю 7,0 дюйма, который обеспечивает удобство в использовании.

      2. Предусмотрено следующее: AM/FM-тюнер, проигрыватель компакт-дисков, гнезда AUX (USB и iPod), система громкой связи стандарта Bluetooth, функция аудиосистемы Bluetooth и функция монитора заднего вида.

    6. Панель дистанционного управления (для моделей с аудиосистемой с дисплеем Lexus)


      1. Панель дистанционного управления обеспечивает интуитивное управление с использованием многофункционального дисплея.

    7. Система навигации с жестким диском


      1. Система навигации с жесткий диском представляет собой приемник системы навигации, оснащенный дисплеем с диагональю 8,0 дюйма и сенсорным пультом дистанционного управления, которые обеспечивают удобство в использовании.

      2. Предусмотрено следующее: AM/FM-тюнер, проигрыватель DVD-дисков, гнезда AUX (USB и iPod), система громкой связи стандарта Bluetooth, функция аудиосистемы Bluetooth и функция монитора системы помощи при парковке.

      3. С помощью глобальной системы позиционирования (GPS) и картографических данных на жестком диске система навигации определяет положение автомобиля и обозначает его на карте, отображаемой на экране.

    8. Сенсорный пульт дистанционного управления (для моделей с системой навигации на жестком диске)


      1. Сенсорный пульт дистанционного управления обеспечивает интуитивное управление с использованием многофункционального дисплея.

      2. Сенсорный пульт дистанционного управления передает на руку пользователя усилие обратной связи в соответствии с положением указателя на дисплее.

      3. Точная обратная связь, тактильные ощущения и качественное управление, обеспечиваемые данной системой, гарантируют превосходную управляемость.

    9. Развлекательно-информационная система для задних пассажиров


      1. Развлекательно-информационная система для задних пассажиров включает два 7-дюймовых дисплея, обеспечивающих видеоизображение высокого качества для пассажиров на задних сиденьях.

        A019WQ9E01
        Обозначения на рисунке
        *1 Левый телевизионный дисплей в сборе *2 Правый телевизионный дисплей в сборе
    10. Светодиодная система фар (СИД)


      1. Функцию ближнего света выполняет светодиодная система фар, обеспечивающая мгновенное включение и имеющая продолжительный срок службы.

    11. Предаварийная система безопасности


      1. Предаварийная система безопасности втягивает ремни безопасности передних сидений, переводит систему управления тормозами в режим ожидания усилителя экстренного тормоза и осуществляет предаварийное включение тормозов* перед столкновением, чтобы уменьшить удар для водителя и переднего пассажира.

        *: кроме моделей с комплектном дополнительного оборудования для Австралии, Таиланда и Тайваня

        A019WHBE01
    12. Монитор бокового вида системы помощи при парковке


      1. Монитор бокового вида системы помощи при парковке отображает на 8,0-дюймовом жидкокристаллическом дисплее изображение с боковой телекамеры, установленной со стороны переднего пассажира, уменьшая "мертвую зону" обзора для водителя.

        A019WJ7E01
        Обозначения на рисунке
        *1 Боковая телекамера *2 Зона обзора
    13. Варианты окраски кузова и цвета отделки салона

      Таблица комбинаций цветов
      Окраска кузова Внутренняя Обивка сиденья
      Индекс цвета Название цвета Название цвета Индекс цвета Отделка деревом Ткань Кожа
      077 Жемчужно-белый, блестящий Слоновой кости 456B/012B Умеренно-коричневый
      Светло-серый 201B Темно-серый -
      Черный 201B Темно-серый
      Гранат 201B Темно-серый -
      Дубленая кожа 201B Умеренно-коричневый -
      083* Белый зеркальный чешуйчатый Nova Светло-серый 201B Темно-серый -
      Черный 201B Темно-серый -
      Гранат 201B Темно-серый -
      Дубленая кожа 201B Умеренно-коричневый -
      1J4 Платиново-серебристый металлик Слоновой кости 456B/012B Умеренно-коричневый
      Светло-серый 201B Темно-серый -
      Черный 201B Темно-серый
      Гранат 201B Темно-серый -
      Дубленая кожа 201B Умеренно-коричневый -
      1H9 Ртутно-серый металлик Слоновой кости 456B/012B Умеренно-коричневый
      Светло-серый 201B Темно-серый -
      Черный 201B Темно-серый
      Гранат 201B Темно-серый -
      Дубленая кожа 201B Умеренно-коричневый -
      212 Черный Слоновой кости 456B/012B Умеренно-коричневый
      Светло-серый 201B Темно-серый -
      Черный 201B Темно-серый
      Гранат 201B Темно-серый -
      Дубленая кожа 201B Умеренно-коричневый -
      217 Звездно-черный зеркальный чешуйчатый Слоновой кости 456B/012B Умеренно-коричневый
      Светло-серый 201B Темно-серый -
      Черный 201B Темно-серый
      Гранат 201B Темно-серый -
      Дубленая кожа 201B Умеренно-коричневый -
      3S0 Гранатово-красный слюдяной Слоновой кости 456B/012B Умеренно-коричневый
      Светло-серый 201B Темно-серый -
      Черный 201B Темно-серый
      Гранат 201B Темно-серый -
      Дубленая кожа 201B Умеренно-коричневый -
      4V3 Огненно-агатовый слюдяной металлик Слоновой кости 456B/012B Умеренно-коричневый
      Светло-серый 201B Темно-серый
      Черный 201B Темно-серый
      Гранат 201B Темно-серый -
      Дубленая кожа 201B Умеренно-коричневый -
      4U7 Глянцевый серовато-бежевый металлик Слоновой кости 456B/012B Умеренно-коричневый
      Светло-серый 201B Темно-серый
      Черный 201B Темно-серый
      Гранат 201B Темно-серый -
      Дубленая кожа 201B Умеренно-коричневый -
      8V3 Слюдяная ляпис-лазурь Слоновой кости 456B/012B Умеренно-коричневый
      Светло-серый 201B Темно-серый -
      Черный 201B Темно-серый
      Гранат 201B Темно-серый -
      Дубленая кожа 201B Умеренно-коричневый -
      Черный и светло-серый* 201B Умеренный серебристый -

      Tech Tips


      • ○: функция доступна

      • -: функция недоступна

      • *: для комплектации "F SPORT"