СИСТЕМА ОХЛАЖДЕНИЯ ОБЩИЕ СВЕДЕНИЯ


  1. ОПИСАНИЕ


    1. Система охлаждения представляет собой герметизированную систему с принудительной циркуляцией. Расширительный бачок не находится под давлением.

    2. В кожухе приемника охлаждающей жидкости размещен термостат с перепускным клапаном, поддерживающий требуемое распределение температуры в системе охлаждения.

    3. Управление вентилятором системы охлаждения осуществляет система управления, в которой ECM оптимальным образом регулирует частоту вращения вентилятора. Подробная информация приведена на стр. Click here.

    4. Жидкостным охладителем системы РОГ комплектуются все модели, за исключением специальных вариантов комплектации для Китая и Гонконга.

    5. Для повышения эффективности замены охлаждающей жидкости двигателя приемник охлаждающей жидкости снабжен краном для слива. Более подробную информацию см. в руководстве по ремонту.

    6. Используется фирменная охлаждающая жидкость SLLC (охлаждающая жидкость с увеличенным сроком замены) от компании TOYOTA.

      A019WSQE02
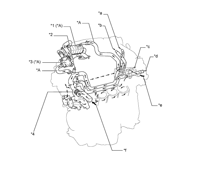
      Обозначения на рисунке
      *A Модели с системой рециркуляции охлаждаемых отработавших газов - -
      *1 Охладитель РОГ *2 Сливной кран в сборе (клапан выпуска воздуха)
      *3 Клапан РОГ *4 Термостат
      *a К корпусу дроссельной заслонки *b От корпуса дроссельной заслонки
      *c К блоку радиатора отопителя в сборе *d От блока радиатора отопителя в сборе
      *e К радиатору в сборе *f От радиатора в сборе
  2. ОСНОВНЫЕ ОТЛИЧИЯ


    1. По сравнению с предыдущими новые модели имеют следующие особенности:


      1. Установка системы рециркуляции охлаждаемых отработавших газов на автомобилях, специально комплектуемых для Китая и Гонконга, прекращена.

      2. Контур системы охлаждения двигателя на автомобилях, специально комплектуемых для Китая и Гонконга, изменен.

  3. ТЕХНИЧЕСКИЕ ХАРАКТЕРИСТИКИ


    1. Охлаждающая жидкость двигателя


      1. Используется фирменная жидкость TOYOTA SLLC. Интервалы между заменами указаны в таблице ниже:

        Тип охлаждающей жидкости Фирменная охлаждающая жидкость SLLC от компании TOYOTA или следующая
        Периодичность техобслуживания Первая замена 160000 км (100000 миль)
        Последующие замены Каждые 80000 км (50000 миль) пробега
        Цвет Розовый

        Tech Tips

        аналогичная высококачественная охлаждающая жидкость на основе этиленгликоля (а не на силикатной, аминовой, нитритной или борнокислой основе), изготовленная по гибридной технологии органических кислот с длительным сроком годности (охлаждающая жидкость, изготовленная по гибридной технологии органических кислот, состоит из низкофосфатных соединений и органических кислот).

      2. Жидкость SLLC полностью готова к применению (содержит 50% охлаждающей жидкости и 50% деионизированной воды), поэтому разбавлять ее перед добавлением или заменой не требуется.

      3. Если охлаждающая жидкость LLC (красного цвета), которой первоначально был заправлен автомобиль, заменяется на SLLC (розового цвета), можно использовать новый интервал техобслуживания (каждые 80000 км / 50000 миль пробега).

    2. Термостат

      Температура открывания термостата 80–84°C (176–183°F)