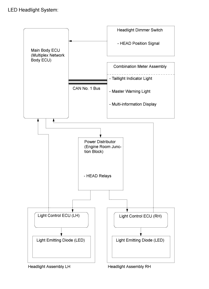
LIGHTING SYSTEM SYSTEM DIAGRAM

A019WS2E02
A019WAIE04
A019WRKE04
A019WKLE01
A019WJRE01
A019WARE01
A019WQLE01
A019WLHE04
A019WDEE03