MIRROR SYSTEM PARTS LOCATION

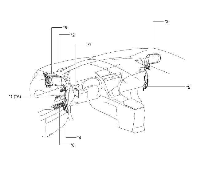
A019WLJE01
Text in Illustration (LHD Models with Electric Remote Mirror:)
*A Models with Seat Memory Function - -
*1 Front Seat Memory Switch LH *2

Outer Rear View Mirror Assembly LH

- Retract Motor

- Mirror Adjustment Motor

- Mirror Position Sensor

- Mirror Heater

- Foot Light

- EC Mirror Cell

*3

Outer Rear View Mirror Assembly RH

- Retract Motor

- Mirror Adjustment Motor

- Mirror Position Sensor

- Mirror Heater

- Foot Light

- EC Mirror Cell

*4 Outer Mirror Control ECU LH
*5 Outer Mirror Control ECU RH *6 No. 1 Engine Room Junction Block
*7 Main Body ECU (Multiplex Network Body ECU) *8 Multiplex Network Master Switch Assembly
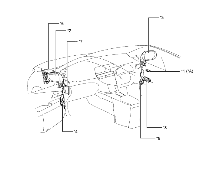
A019WO3E01
Text in Illustration (RHD Models with Electric Remote Mirror:)
*A Models with Seat Memory Function - -
*1 Front Seat Memory Switch RH *2

Outer Rear View Mirror Assembly LH

- Retract Motor

- Mirror Adjustment Motor

- Mirror Position Sensor

- Mirror Heater

- Foot Light

- EC Mirror Cell

*3

Outer Rear View Mirror Assembly RH

- Retract Motor

- Mirror Adjustment Motor

- Mirror Position Sensor

- Mirror Heater

- Foot Light

- EC Mirror Cell

*4 Outer Mirror Control ECU LH
*5 Outer Mirror Control ECU RH *6 No. 1 Engine Room Junction Block
*7 Main Body ECU (Multiplex Network Body ECU) *8 Multiplex Network Master Switch Assembly
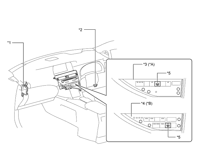
A019WLYE01
Text in Illustration (LHD Models with Mirror Heater System:)
*A HDD Navigation System *B Lexus Display Audio System
*C 9-speaker Sound System - -
*1 Air Conditioning Amplifier *2 DLC3
*3 Multi-Media Module Receiver Assembly *4 Radio Receiver Assembly
*5 Rear Defogger Switch and Mirror Heater Switch - -
A019WL3E01
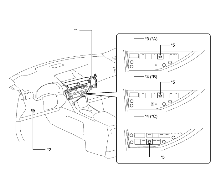
Text in Illustration (RHD Models with Mirror Heater System:)
*A HDD Navigation System *B 9-speaker Sound System
*1 Air Conditioning Amplifier *2 DLC3
*3 Multi-Media Module Receiver Assembly *4 Radio Receiver Assembly
*5 Rear Defogger Switch and Mirror Heater Switch - -