WINDSHIELD / WINDOW GLASS SYSTEM PARTS LOCATION

A019WVVE01
Text in Illustration (LHD Models with Rear Window Defogger System:)
*A HDD Navigation System *B Lexus Display Audio System
*C 9-speaker Sound System - -
*1 Engine Room Junction Block Assembly *2

Back Window Glass

- Rear Window Defogger Wire

*3 DLC3 *4 Air Conditioning Amplifier
*5 Multi-Media Module Receiver Assembly *6 Radio Receiver Assembly
*7 Rear Defogger Switch and Mirror Heater Switch - -
A019WW9E01
Text in Illustration (RHD Models with Rear Window Defogger System:)
*A HDD Navigation System *B 9-speaker Sound System
*1 Engine Room Junction Block Assembly *2

Back Window Glass

- Rear Window Defogger Wire

*3 Air Conditioning Amplifier *4 DLC3
*5 Multi-Media Module Receiver Assembly *6 Radio Receiver Assembly
*7 Rear Defogger Switch and Mirror Heater Switch - -
A019WRHE01
Text in Illustration (Models with Front Wiper Deicer System:)
*A LHD Models *B RHD Models
*1

Windshield Glass

- Windshield Deicer Wire

*2 Engine Room Junction Block Assembly
A019WGAE01
Text in Illustration (LHD Models with Front Wiper Deicer System:)
*A 9-speaker Sound System *B Lexus Display Audio System
*C HDD Navigation System - -
*1 Front Wiper Deicer Switch *2 Main Body ECU (Multiplex Network Body ECU)
*3 DLC3 *4 Air Conditioning Amplifier
*5 Front Wiper Deicer Switch - -
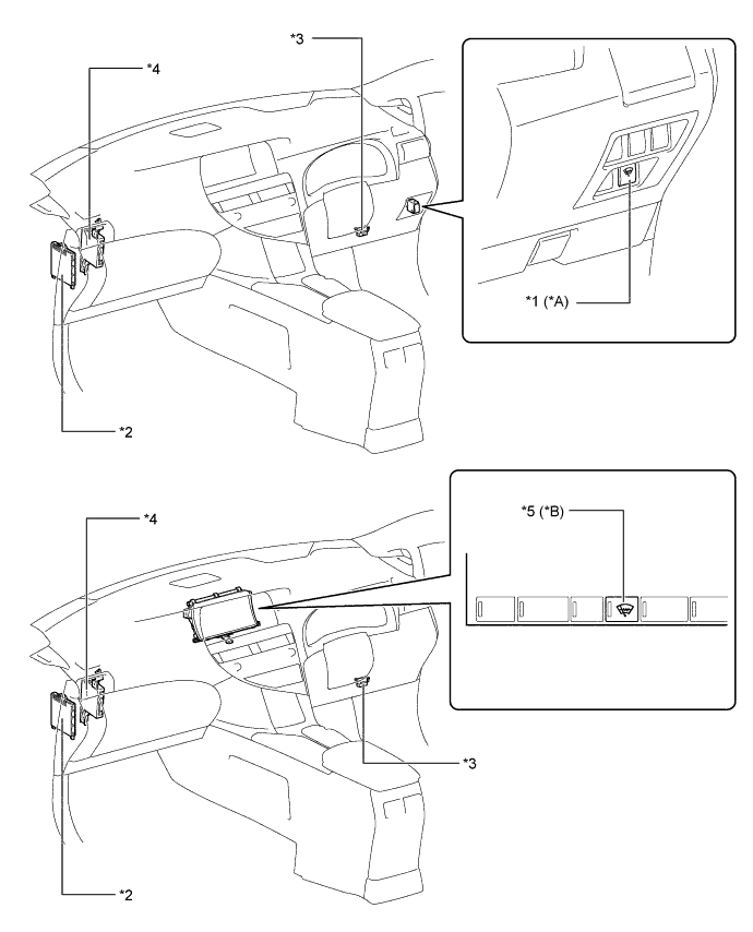
A019WAHE01
Text in Illustration (RHD Models with Front Wiper Deicer System:)
*A 9-speaker Sound System *B HDD Navigation System
*1 Front Wiper Deicer Switch *2 Main Body ECU (Multiplex Network Body ECU)
*3 DLC3 *4 Air Conditioning Amplifier
*5 Front Wiper Deicer Switch - -