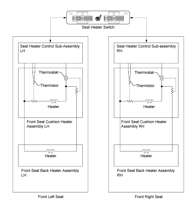
SEAT HEATER SYSTEM SYSTEM DIAGRAM

A019WPRE02