THEFT DETERRENT PARTS LOCATION

A019WVFE01
A019WGQE01
A019WQQE01
Text in Illustration
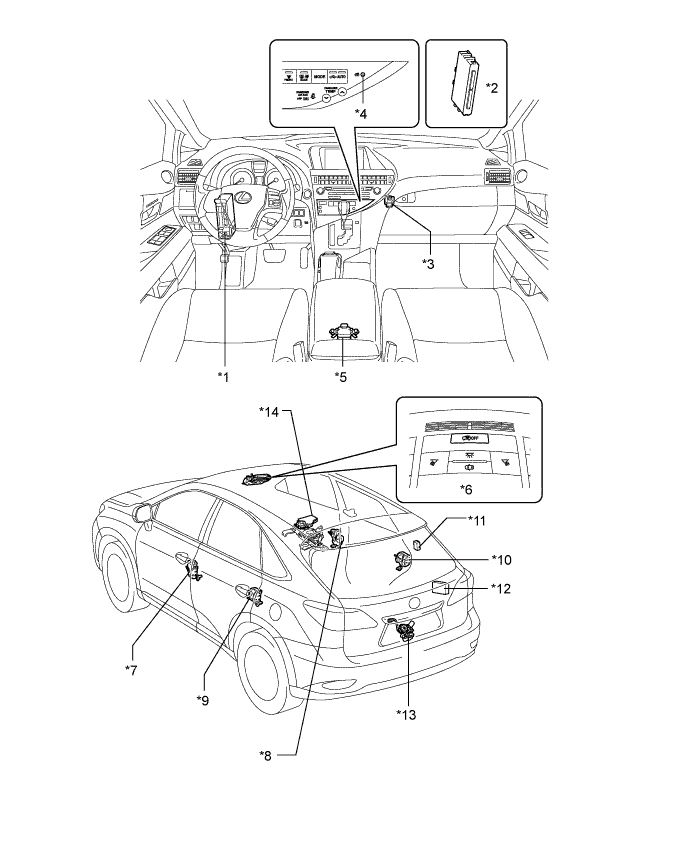
*1 Main Body ECU (Multiplex Network Body ECU) *2 Certification ECU (Smart Key ECU Assembly)*
*3 Turn Signal Flasher Assembly *4

Air Conditioning Control Panel

- Security Indicator Light

*5

Yawrate Sensor

- Tilt Sensor (Models with tilt sensor)

*6

Map Light Assembly (Models with intrusion sensor)

- Intrusion Sensor

- Intrusion Sensor Cancel Switch

*7 Front Door Lock Assembly LH *8 Front Door Lock Assembly RH
*9 Rear Door Lock Assembly LH *10 Rear Door Lock Assembly RH
*11 Door Control Receiver *12 Self-power Siren (Models with self-power siren)
*13

Back Door Lock Assembly

- Back Door Courtesy Switch

*14

Power Back Door Motor Unit (Models with Power Back Door System)

- Power Back Door ECU

*15

Engine Room Junction Block Assembly

- S-HORN Relay

- HORN Relay

*16

Engine Hood Lock Assembly

- Engine Hood Courtesy Switch

*17 Security Horn *18 Low Pitched Horn
19 High Pitched Horn - -

*: Refer to the Service Bulletin for the installation position of the part.