| *1 | Cooler Compressor Assembly - A/C Inverter - Compressor Motor |
*2 | Cooler Condenser Assembly |
| *3 | Air Conditioning Pressure Sensor | *4 | High Pressure Service Valve |
| *5 | Low Pressure Service Valve | *6 | Electric Water Pump |
| *7 | Smog Ventilation Sensor (Models with Navigation System) | *8 | Ambient Temperature Sensor |
| *9 | A/C W/P Relay | - | - |
| *A | LHD Models | *B | RHD Models |
| *C | Models with HDD Navigation System | *D | Models with Lexus Display Audio System |
| *E | Models with HDD Navigation System or Lexus Display Audio System | *F | Models with 9-speaker Sound System |
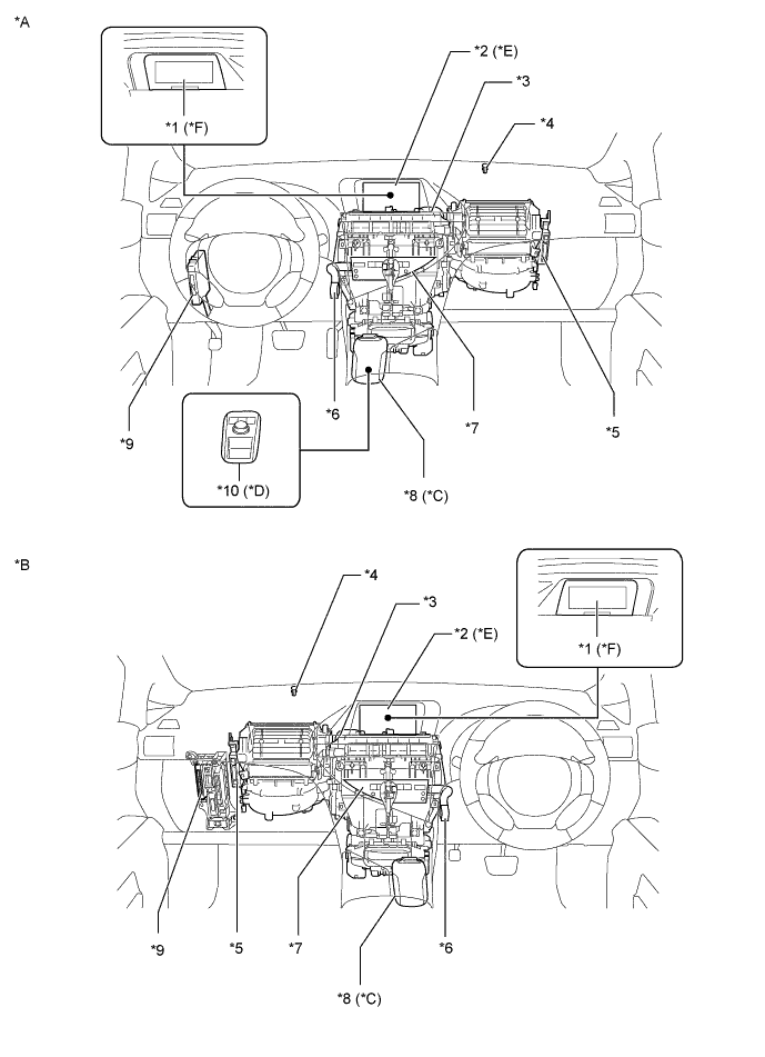
| *1 | Accessory Meter Assembly | *2 | Multi Display Assembly |
| *3 | Air Conditioning Unit | *4 | Automatic Light Control Sensor |
| *5 | Air Conditioning Amplifier | *6 | Room Temperature Sensor |
| *7 | Air Conditioning Control Panel | *8 | Remote Touch |
| *9 | Power Management Control ECU | *10 | Remote Operation Board |
| *A | LHD Models | *B | RHD Models |
| *1 | Air Conditioning Unit | *2 | Evaporator |
| *3 | Air Inlet Control Servo Motor | *4 | Air Outlet Control Servo Motor |
| *5 | Blower with Fan Motor Sub-assembly | *6 | Air Mix Control Servo Motor (Front Passenger Side) |
| *7 | Heater Radiator Unit Sub-assembly | *8 | Evaporator Temperature Sensor (Cooler Thermistor) |
| *9 | Air Mix Control Servo Motor (Driver Side) | - | - |