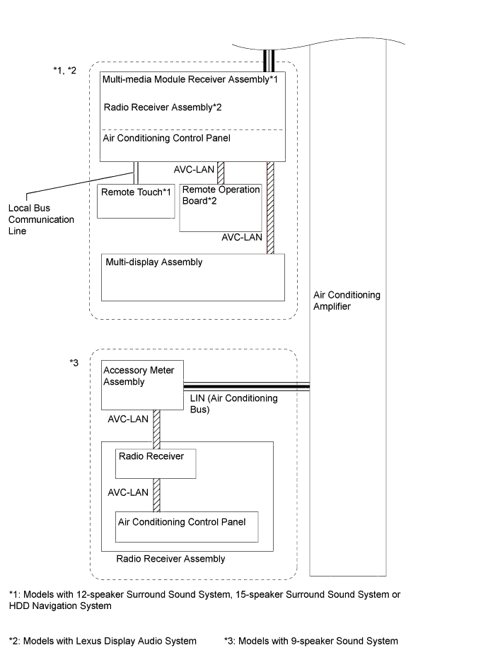
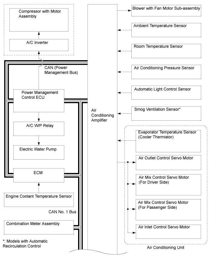
AIR CONDITIONING SYSTEM SYSTEM DIAGRAM

A019WGUE04
A019WPDE01