PARKING ASSIST MONITOR SYSTEM DETAILS


  1. FUNCTION OF MAIN COMPONENTS

    Component Function
    Parking Assist ECU*1
    • Transmits visual signals, which are composed of a view of the area behind the vehicle taken with the rear television camera assembly and parking assist guide lines, to the multi-display.

    • Transmits visual signals, which are composed of a view of the front passenger side area of the vehicle taken with the side television camera assembly and path lines, to the multi-display.

    Multi-media Module Receiver Assembly Receives signals from the remote touch and outputs a signal to the parking assist ECU.*1
    Displays the image of the area behind the vehicle sent from the rear television camera assembly using the multi-display. The image is combined with the parking assist guide lines that are calculated based on signals from the steering angle sensor.*2

    Multi-display Assembly

    - Multi-display

    Rear Parking Assist Display Receives visual signals, which are composed of a view of the area behind the vehicle with parking assist guide lines overlaid from the parking assist ECU*1 or multi-media module receiver assembly*2, and displays them on the multi-display.
    Side Parking Assist Display
    • Receives visual signals, which are composed of a view of the front passenger side area of the vehicle with parking assist path lines overlaid from the parking assist ECU, and displays them on the multi-display.

    • Switches the display mode between manual and automatic modes.

    • Switches the monitor range between an overall side view and forward view.

    Rear Television Camera Assembly Captures images of the area behind the vehicle and outputs visual signals to the parking assist ECU.*1
    Captures images of the area behind the vehicle and outputs visual signals to the multi-media module receiver assembly.*2
    Side Television Camera Assembly*1 Captures images of the front passenger side area of the vehicle and outputs visual signals to the parking assist ECU.
    Steering Pad Switch Assembly Side Parking Assist Monitor Main Switch*1 Switches the side parking assist monitor system on and off.
    Spiral Cable with Sensor Sub-assembly Steering Angle Sensor Detects the angle of the steering wheel and sends the resulting signals to the parking assist ECU.*1
    Detects the angle of the steering wheel and sends the resulting signals to the multi-media module receiver assembly.*2
    Shift Lever Position Sensor Transmits the shift position signal to the power management control ECU.
    Power Management Control ECU Transmits the shift position signal to the parking assist ECU.*1
    Transmits the shift position signal to the multi-media module receiver assembly.*2
    Skid Control ECU Assembly Sends the wheel speed signal to the parking assist ECU.*1
    Sends the wheel speed signal to the multi-media module receiver assembly.*2
    Multiplex Network Master Switch Assembly Outer Mirror Switch Assembly Transmits the mirror fold signal to the main body ECU (multiplex network body ECU).*1
    Back Door Lock Assembly Back Door Courtesy Switch Sends the back door courtesy switch signal to the power back door unit assembly (power back door ECU).*3
    Sends the back door courtesy switch signal to the main body ECU (multiplex network body ECU).*4
    Power Back Door Unit Assembly*3 Power Back Door ECU Transmits the back door courtesy switch signal to the main body ECU (multiplex network body ECU).
    Main Body ECU (Multiplex Network Body ECU)
    • Transmits the mirror fold signal to the parking assist ECU.*1

    • Transmits the back door courtesy switch signal to the parking assist ECU.*1

    Transmits the back door courtesy switch signal to the multi-media module receiver assembly.*2

    • *1: Models with side parking assist monitor system

    • *2: Models without side parking assist monitor system

    • *3: Models with power back door system

    • *4: Models without power back door system

  2. OPERATING CONDITION


    1. Rear Parking Assist Monitor System


      1. The rear parking assist monitor system operates when both of the following conditions are met:


        • The power switch is on (IG).

        • The shift lever is in R.

    2. Side Parking Assist Monitor System


      1. The side parking assist monitor system has both manual display mode and automatic display mode.

      2. These modes can be switched using the automatic display mode switch on the multi-display.

      3. The initial (default) setting is set to manual display mode.

      4. Each mode operates when all (both) of the following conditions are met:

        Mode Operating Condition
        Manual Display
        • The side parking assist monitor main switch is on.

        • The vehicle speed is approximately 12 km/h (7.5 mph) or less.

        Automatic Display
        • The automatic mode will be selected when one of the following conditions is met:

        • The shift lever is moved from R to N or a forward range.

        • The shift lever is moved from P to N or a forward range.

        • The vehicle speed is approximately 10 km/h (6 mph) or less. The display stops operating when the vehicle speed is approximately 12 km/h (7.5 mph) or more, and starts operating when the vehicle speed decreases to below approximately 10 km/h (6 mph).

  3. FUNCTION


    1. Area Displayed on Screen


      1. Rear Television Camera


        • On the display, objects on the right of the vehicle appear on the right side of the multi-display, and objects on the left of the vehicle appear on the left side of the multi-display.

        • The rear television camera assembly uses a wide-angle lens. The perceived distance from images that appear on the screen differs from the actual distance.

          A019WNU

          Note

          The area displayed on the screen may vary according to vehicle status or road conditions. The area covered by the rear television camera assembly is limited. The rear television camera assembly does not show objects close to either corner of the bumper or show the area under the bumper.

      2. Side Television Camera


        • The side television camera can capture images of the area shown below. However, the displayed area may differ depending on vehicle or road conditions.

          A019WOUE01
          Text in Illustration
          *A LHD Models *B RHD Models
          *a View Area *b Approximately 2 m (6.5 ft.)
    2. Warning Message


      1. A warning message appears at the bottom or center of the screen under the following conditions. The warning message appears in the same language that has been selected by the language selector of the multi-display.

        Messages Appearing at Bottom or Side of Screen
        Warning Message Condition
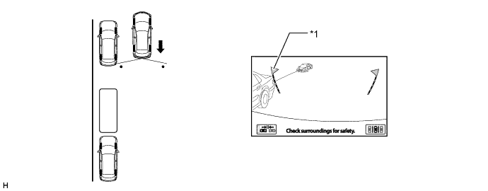
        Check surroundings for safety. This message always appears during system operation.
        System initializing. This message appears when the steering wheel is operated while the battery terminal (-) is disconnected and then the terminal is reconnected.
        Guidance is unavailable. This message appears if there is a malfunction in this system.
        Message Appearing at Center of Screen
        Warning Message Condition
        System not ready. This message appears if the system is not initialized.
    3. Calibration Following Parts Replacement


      • The items listed below must always be adjusted whenever one of the following conditions occurs. For details, refer to the Repair Manual.

        Adjustment Items Condition
        Neutral steering point in memory "System initializing." is displayed.
        Steering angle setting
        • After spiral cable sub-assembly or steering angle sensor is removed and installed or after connector is disconnected and reconnected, "System initializing." is displayed.

        • Steering angle sensor replacement.

        Camera optical axis adjustment
        • Vehicle height has changed due to replacement of suspension parts or tires.

        • The installation angle of the television camera assembly has changed.

        Parking assist monitor system initialization Parking assist ECU is replaced.*1
        Multi-media module receiver assembly is replaced.*2

      • *1: Models with side parking assist monitor system

      • *2: Models without side parking assist monitor system

  4. CONSTRUCTION


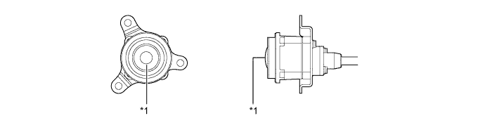
    1. Television Camera


      1. The rear television camera assembly consists of the wide-angle lens and the Charge Coupled Device (CCD).

        A019WIAE01
        Text in Illustration
        *1 Wide-angle Lens - -
    2. Side Television Camera


      1. The side television camera assembly consists of the wide-angle lens and the Charge Coupled Device (CCD).

        A019WOWE01
        Text in Illustration
        *1 Wide-angle Lens - -
    3. Multi-display (Rear Parking Assist Monitor Display)


      1. Perpendicular Parking Mode


        • Perpendicular parking mode consists of A: parking assist guide line display mode, B: distance guide line display mode and C: estimated course line display mode. The initial (default) setting for perpendicular parking is estimated course line display mode.

        • Pressing the display mode switch screen button switches among the rear monitor modes.

        • When perpendicular parking mode is operating, fixed guide lines appear superimposed on a view of the area behind the vehicle. These guide lines can be used to assist the driver while backing the vehicle.

          A019WFXE01
        Text in Illustration
        *A Parking Assist Guide Line Display Mode *B Distance Guide Line Display Mode
        *C Estimated Course Line Display Mode - -
        *1 Display Mode Switch Screen Button - -

        • A description of the parking assist guide line display mode is provided in the following diagram.

          A019WH5E01
          Item Description
          (1) Distance Guide Line (Red) Indicates a position on the ground approximately 0.5 m (1.6 ft.) behind the rear bumper.
          (2) Vehicle Width Extension Guide Line (Blue) Indicates the estimated vehicle width.
          (3) Parking Assist Guide Line (Blue) Indicates the path the vehicle will follow if the driver turns the steering wheel fully.
          (a) Display Mode Switch Screen Button Pressing this button changes the rear view monitor mode.
          (b) Parking Mode Switch Screen Button Pressing this button turns parallel parking assist mode on.
          (c) Warning Message Display Area Area where warning messages are displayed.

        • A description of the distance guide line display mode is provided in the following diagram.

          A019WOVE01
          Item Description
          (1) Distance Guide Line (Red) Indicates a position on the ground approximately 0.5 m (1.6 ft.) behind the rear bumper.
          (a) Display Mode Switch Screen Button Pressing this button changes the rear view monitor mode.
          (b) Parking Mode Switch Screen Button Pressing this button turns parallel parking assist mode on.
          (c) Warning Message Display Area Area where warning messages are displayed.

        • A description of the estimated course line display mode is provided in the following diagram.

          A019WMDE01
          Item Description
          (1) Distance Guide Line (Yellow) Moves together with estimated course lines in sync with the steering wheel. The center of the line indicates a position on the ground approximately 1.0 m (3.3 ft.) behind the rear bumper.
          (2) Distance Guide Line (Red) Moves together with estimated course lines in sync with the steering wheel. The center of the line indicates a position on the ground approximately 0.5 m (1.6 ft.) behind the rear bumper.
          (3) Distance Guide Line (Blue) Indicates a position on the ground approximately 0.5 m (1.6 ft.) behind the rear bumper.
          (4) Vehicle Width Extension Guide Line (Blue) Indicates the estimated vehicle width.
          (5) Estimated Course Line (Yellow) Moves in sync with the steering wheel to indicate the estimated reverse course of the vehicle.
          (a) Display Mode Switch Screen Button Pressing this button changes the rear view monitor mode.
          (b) Parking Mode Switch Screen Button Pressing this button turns parallel parking assist mode on.
          (c) Warning Message Display Area Area where warning messages are displayed.
      2. Parallel Parking Assist Mode


        • Parallel parking assist is available with the following 2 display modes: standard mode and narrow mode.

        • Narrow mode is designed for situations in which the parking space is narrower than the standard mode.

        • Initial (default) parallel parking assist is standard mode.

          A019WM5E01
        Text in Illustration
        *A Standard Mode *B Narrow Mode
        *1 Space needed for parking *2 Display Status

        • Parallel parking assist will display standard mode and narrow mode using the same design.

        • The guide lines displayed for parallel parking assist mode change in accordance with parking maneuvers.

          A019WVEE01
          Item Description
          (1) Black and Yellow Vertical Pole Serves as a reference position for starting parallel parking
          (2) Blue Outline
          • Serves as a reference position for the intended parking space.

          • Disappears once the vehicle starts moving backward.

          (3) Parking Guide Line (Blue) Indicates part of the prospective outer path of the vehicle when the steering is turned fully to the right or left side.
          (4) Estimated Course Line (Yellow) Guide lines identical to those in perpendicular parking are displayed.
          (5) Vehicle Width Extension Guide Line (Blue) Indicates the estimated vehicle width.
          (6) Distance Guide Line (Yellow) Moves together with estimated course lines in sync with the steering wheel. The center of the line indicates a position on the ground approximately 1.0 m (3.3 ft.) behind the rear bumper.
          (7) Distance Guide Line (Red) Moves together with estimated course lines in sync with the steering wheel. The center of the line indicates a position on the ground approximately 0.5 m (1.6 ft.) behind the rear bumper.
          (a) Narrow Mode Screen on-off Button Changes between standard and narrow modes.
          (b) Parking Mode Switch Screen Button Changes between parallel parking assist mode and perpendicular parking mode.
          (c) Warning Message Display Area Area where warning messages are displayed.
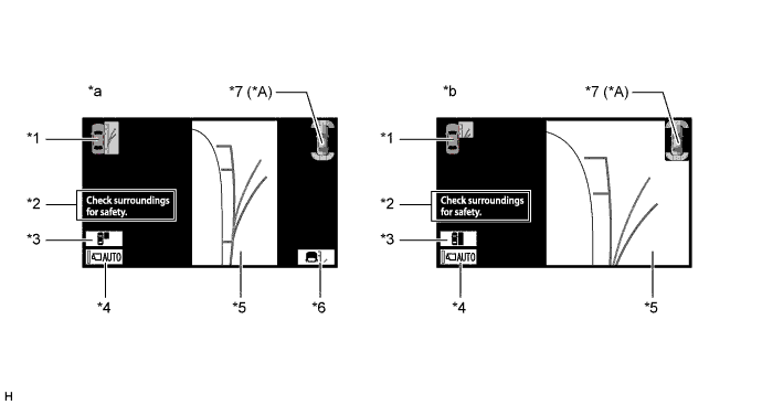
    4. Multi-display (Side Parking Assist Monitor Display)


      1. The side parking assist monitor display consists of the side view area, automatic mode display button, display area button, warning message area, display mode switch screen button, display range indicator and clearance sonar indicator*.

        *: Models with LEXUS parking assist-sensor system

        A019WOCE01
        Text in Illustration
        *A Models with LEXUS Parking Assist-sensor System - -
        *1 Display Area Indicator *2 Warning Message Area
        *3 Display Area Button *4 Automatic Display Button
        *5 Side View Area *6 Display Mode Switch Screen Button
        *7 Clearance Sonar Indicator - -
        *a Overall Side View *b Enlarged Front View
      2. The side view area consists of A: course line mode linked with steering wheel angle, B: tightest turn course line mode and C: course line deletion mode.

      3. Each mode can be changed by pressing the display mode switch screen button.

        A019WHRE01
        Text in Illustration
        *A Course Line Mode Linked with Steering Wheel Angle *B Tightest Turn Course Line Mode
        *C Course Line Deletion Mode - -
        *1 Display Mode Switch Screen Button - -

        • A description of the course line mode linked with steering wheel angle display is provided in the following diagram.

          A019WN8E01
          Item Description
          (1) Vehicle Front Edge Guide Line Approximately 0.1 m (3.9 in.) from the front end of the vehicle.
          (2) Front Tyre Guide Line Front wheel position.
          (3) Vehicle Width Guide Line (Blue) Parallel line approximately 0.35 m (13.8 in.) from the side of the vehicle body.
          (4) Estimated Tightest Turn Course Line (Blue) Approximate path of the vehicle when the steering wheel is turned all the way to the front passenger side.
          (5) Estimated Course Line (Yellow) Approximate path of the vehicle in sync with steering maneuvers.
          (a) Display Area Indicator Current line mode. (Area currently displayed is also indicated.)
          (b) Display Area Button Switches the area displayed on the side view display (enlarged front view or overall view).
          (c) Automatic Display Button Enables or disables the automatic display function. (When the automatic display is enabled, the indicator is illuminated.)
          (d) Display Mode Switch Screen Button Switches line mode between course line mode linked with steering wheel angle, tightest turn course line mode and course line deletion mode.

        • A description of the tightest turn course line mode is provided in the following diagram.

          A019WS7E01
          Item Description
          (1) Vehicle Front Edge Guide Line Approximately 0.1 m (3.9 in.) from the front end of the vehicle.
          (2) Front Tyre Guide Line Front wheel position.
          (3) Vehicle Width Guide Line (Blue) Parallel line approximately 0.35 m (13.8 in.) from the side of the vehicle body.
          (4) Estimated Tightest Turn Course Line (Blue) Approximate path of the vehicle when the steering wheel is turned all the way to the front passenger side.
          (a) Display Area Indicator Current line mode. (Area currently displayed is also indicated.)
          (b) Display Area Button Switches the area displayed on the side view display (enlarged front view or overall view).
          (c) Automatic Display Button Enables or disables the automatic display function. (When the automatic display is enabled, the indicator is illuminated.)
          (d) Display Mode Switch Screen Button Switches line mode between course line mode linked with steering wheel angle, tightest turn course line mode and course line deletion mode.

        • A description of the course line deletion mode is provided in the following diagram.

          A019WSGE01
          Item Description
          (1) Vehicle Front Edge Guide Line Approximately 0.1 m (3.9 in.) from the front end of the vehicle.
          (2) Front Tyre Guide Line Front wheel position.
          (3) Vehicle Width Guide Line (Blue) Parallel line approximately 0.35 m (13.8 in.) from the side of the vehicle body.
          (a) Display Area Indicator Current line mode. (Area currently displayed is also indicated.)
          (b) Display Area Button Switches the area displayed on the side view display (enlarged front view or overall view).
          (c) Automatic Display Button Enables or disables the automatic display function. (When the automatic display is enabled, the indicator is illuminated.)
          (d) Display Mode Switch Screen Button Switches line mode between course line mode linked with steering wheel angle, tightest turn course line mode and course line deletion mode.
  5. OPERATION


    1. Screen Transition


      1. The side parking assist monitor display, rear parking assist monitor display and other displays change as follows.

        A019WO1E03
        No. Condition
        1 When the conditions for manual display mode or automatic display mode are met.
        2 When the side parking assist monitor main switch is pressed again or vehicle speed is approximately 12 km/h (7.5 mph) or more.
        3 When the side parking assist monitor main switch is pressed.
        4 When an item other than a camera display is selected.
        5 When the side parking assist monitor main switch is pressed again or vehicle speed is approximately 12 km/h (7.5 mph) or more.
        6 When the side parking assist monitor main switch is pressed again.
    2. Parking Assist Guide Line Display Mode (Perpendicular Parking) of Rear Parking Assist Monitor System


      1. To use parking assist guide line display mode in perpendicular parking when parking the vehicle in a parking space, perform the following procedure:


        1. Move the shift lever to R.

        2. Select perpendicular parking mode.

        3. Select parking assist guide line display mode.

        4. An image appears on the multi-display as illustrated below.

          A019WBU
        5. Back the vehicle and stop at the position in which the parking guide line comes in contact with the left side of the intended parking position.

        6. Turn the steering wheel fully to the right and back the vehicle.

          A019WHM
        7. Continue backing the vehicle until the vehicle is parallel to the painted lines.

        8. Once the vehicle is parallel, aim the steering wheel straight ahead and back the vehicle to the target stop position.

          A019WK6
    3. Estimated Course Line Display Mode (Perpendicular Parking) of Rear Parking Assist Monitor System


      1. To use estimated course line display mode in perpendicular parking when parking the vehicle in a parking space, perform the following procedure:


        1. Move the shift lever to R.

        2. Select perpendicular parking mode.

        3. Select estimated course line display mode.

        4. An image appears on the multi-display as illustrated below.

          A019WOS
        5. Turn the steering wheel so that the estimated course lines are within the parking space, and back up carefully.

          A019WK8
        6. When the rear of the vehicle is within the parking space, turn the steering wheel in order to equalize the gap between the left and right sides of the vehicle width extension lines and the painted lines of the parking space.

        7. When the vehicle width extension guide lines and the painted lines of the parking space are parallel, straighten the steering wheel and then carefully back up until the entire vehicle is within the parking space.

          A019WDU
    4. Parallel Parking Assist Mode of Rear Parking Assist Monitor System


      1. To use parallel parking assist mode to park the vehicle in the parking space, perform the following procedure:


        1. Stop the vehicle parallel to the road or the curb, at a side-to-side clearance of approximately 1 m (3.3 ft.) from the parked vehicle, approximately one-half car length forward of the parked vehicle.

          A019WRNE01
          Text in Illustration
          *1 Target Parking Position *a Approximately 1 m (3.3 ft.)
        2. Aim the steering wheel straight ahead and move the shift lever to R.

        3. Select parallel parking assist mode.

        4. An image shows on the multi-display as illustrated below.

          A019WUP
        5. Drive the vehicle straight back and stop when the black and yellow vertical pole of the target parking position is aligned with the rear end of the parked vehicle.

          A019WP2E01
          Text in Illustration
          *1 Black and Yellow Vertical Pole - -
        6. When the steering wheel is turned, the blue outline will appear. At this time, the black and yellow vertical pole opposite to the target parking position will disappear when the steering wheel is turned more than 90 degrees.

          A019WHFE01
          Text in Illustration
          *1 Blue Outline - -
        7. Continue turning the steering wheel, and the blue outline will move in the direction of the target parking position, while the outline changes into a shape as illustrated below. Keep turning the steering wheel until the blue outline reaches the target parking position.

          A019WLQE01
          Text in Illustration
          *1 Blue Outline - -
        8. However, if the steering wheel is turned too much, the message shown in the illustration below is displayed and the blue outline will change to red to inform the driver that the assist operation is not possible. Also, when your vehicle is too far away from the shoulder, the same condition will occur even when adjusting the blue outline to a normal position.

          A019WBLE01
          Text in Illustration
          *1 The blue outline changes to red - -
        9. The vertical line (blue) and target frame (blue) disappear and the parking guide lines appear on the target parking position.

          A019WNME01
          Text in Illustration
          *1 Curved Blue Line - -
        10. Keep the steering wheel in the same position and back up. Stop when the parking guide line reaches the left end of the target parking position.

          A019WFV
        11. With the vehicle at a standstill, fully turn the steering wheel in the opposite direction. Then, as shown in the illustration below, the same guide line appears as in perpendicular parking mode.

          A019WD9
        12. Using the distance guide lines slowly back the vehicle until the vehicle is parallel to the road or curb, while paying attention to the vehicles in front and in back. The parking maneuver is completed once the vehicle is parallel.

          A019WCL
    5. Avoiding Hitting Object during Turn (For Side Parking Assist Monitor System)


      1. To avoid hitting an object during a turn, the driver should operate the steering wheel preventing the estimated course line and the estimated tightest turn course line from overlapping with an object. Thus, the driver can pass by the object without hitting it.

        A019WHS
    6. Pulling Over to Side (For Side Parking Assist Monitor System)


      1. To pull over to the side, the driver should operate the steering wheel preventing the vehicle width parallel line from overlapping with white lines or curbs on a road. Thus, the driver can pull over to the side smoothly.

        A019WUD
  6. FAIL-SAFE


    1. The table below indicates the malfunction detection conditions of the components in this system.

      Malfunctioning Parts Detection Item Function
      Steering Angle Sensor
      • Transmission of sensor malfunction signal

      • Open circuit in sensor signal

      • Communication malfunction between the steering angle sensor and parking assist ECU*1

      Displays "Guidance unavailable."
      Transmission of signal to indicate that neutral steering point correction is incomplete Displays "System initializing."
      Rear Television Camera Assembly or Side Television Camera Assembly*1 Transmission of camera malfunction signal Stops signal reception and displays a dark screen
      Parking Assist ECU*1 Malfunction of parking assist ECU Stops system operation
      Multi-media Module Receiver Assembly*2 Malfunction of multi-media module receiver assembly

      • *1: Models with side parking assist monitor system

      • *2: Models without side parking assist monitor system

  7. DIAGNOSIS


    1. The multi-media module receiver assembly is equipped with a diagnosis function which can display a diagnosis menu for the parking assist monitor system. The method for entering the diagnosis menu screen is the same as the method used for the multi-display. For details, refer to the Repair Manual.