LEXUS PARKING ASSIST-SENSOR SYSTEM DETAILS


  1. FUNCTION OF MAIN COMPONENTS

    Component Function
    Clearance Warning ECU Assembly*1
    • Judges the approximate distance between the vehicle and an obstacle based on signals from the No. 1 ultrasonic sensors. Output signals are sent to the multi-information display or multi-display*2,*3.

    • Sounds the No. 1 clearance warning buzzer.

    Parking Assist ECU*4
    • Judges the approximate distance between the vehicle and an obstacle based on signals from the No. 1 ultrasonic sensors. Output signals are sent to the multi-information display and multi-display.

    • Sounds the No. 1 clearance warning buzzer.

    No. 1 Ultrasonic Sensor (8) Detects the distance between the vehicle and an obstacle.
    No. 1 Clearance Warning Buzzer Sounds to inform the driver according to the distance to the obstacle.
    Combination Meter Assembly Clearance Sonar Indicator Light Illuminates to inform the driver when the system operation conditions are met.

    • Master Warning Light

    • Multi-information Display


    • Displays the location of the obstacle and the approximate distance between the vehicle and the obstacle.

    • The multi-information display is switched to the multi-switch mode by operating the multi-information switch (steering pad switch assembly). Then, the LEXUS parking assist-sensor system on/off condition can be displayed.

    • When a malfunction or freezing of any No. 1 ultrasonic sensor is detected, the master warning light illuminates to inform the driver.

    Multi-display Assembly Multi-display
    • Displays the location of an obstacle and the approximate distance between the vehicle and the obstacle.

    • Displays an indication of malfunction or freezing of an ultrasonic sensor to inform the driver.

    • The sound volume, distance required to sound the buzzer and distance required to trigger the display can be chosen on the setup screen for the LEXUS parking assist-sensor system.

    Multi-media Module Receiver Assembly*2 Transmits the setup signal for the LEXUS parking assist-sensor system to the clearance warning ECU assembly*1 or parking assist ECU*4.
    Radio Receiver Assembly*3
    Steering Pad Switch Assembly Multi-information Switch Operating these switches allows the operation of LEXUS parking assist-sensor system to be enabled or disabled.
    Air Conditioning Amplifier Assembly Sends outside temperature information to the clearance warning ECU assembly*1 or the parking assist ECU*4 to adjust the distance rate from the No. 1 ultrasonic sensors.
    Main Body ECU (Multiplex Network Body ECU) Sends model destination signal (information to indicate the market the vehicle was built for - such as Canada) to the clearance warning ECU assembly*1 or the parking assist ECU*4.
    Shift Lever Position Sensor Transmits the shift position signal to the power management control ECU.
    Power Management Control ECU
    • Transmits the shift position signal to the clearance warning ECU assembly*1 or the parking assist ECU*4.

    • Transmits the each signals to the clearance warning ECU assembly*1 or the parking assist ECU*4.


    • *1: Models without side parking assist monitor system

    • *2: Models with HDD navigation system

    • *3: Models with Lexus display audio system

    • *4: Models with side parking assist monitor system

  2. OPERATING CONDITION


    1. The operating condition of each sensor differs according to its installed position as shown in the table below:

      Installation Position Operating Condition
      Front Corner
      • Power switch is on (IG).

      • System is activated.

      • Shift lever is in a position other than P.

      • Vehicle speed is approximately 10 km/h (6 mph) or less.

      Front Center
      • Power switch is on (IG).

      • System is activated.

      • Shift lever is in a position other than P and R.

      • Vehicle speed is approximately 10 km/h (6 mph) or less.

      Rear Corner
      • Power switch is on (IG).

      • System is activated.

      • Shift lever is in R.

      Rear Center
      • Power switch is on (IG).

      • System is activated.

      • Shift lever is in R.

  3. CONSTRUCTION


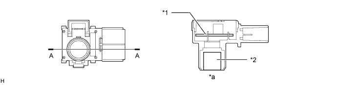
    1. No. 1 Ultrasonic Sensor


      1. The No. 1 ultrasonic sensors consist of a microphone and a circuit portion that transmits and receives ultrasonic waves.

        A019WUYE01
        Text in Illustration
        *1 Circuit Portion *2 Microphone
        *a A-A Cross Section - -
  4. OPERATION


    1. No. 1 Clearance Warning Buzzer


      1. Depending on the detection distance and the detection area, the sound pattern of the No. 1 clearance warning buzzer will vary.

        Detection Area

        Detection Distance

        (mm (in.))

        Buzzer Sound Pattern

        On

        (msec.)

        Off

        (msec.)

        Front Corner Long 500 +/- 50 to 375 +/- 40 (19.7 +/- 2.0 to 14.8 +/- 1.6) 150 +/- 15 150 +/- 15
        Middle 375 +/- 40 to 250 +/- 30 (14.8 +/- 1.6 to 9.8 +/- 1.2) 75 +/- 7.5 75 +/- 7.5
        Short 250 +/- 30 or less (9.8 +/- 1.2 or less) Continuous Sound 0
        Front Center Longest 1000 +/- 100 to 500 +/- 50 (39.4 +/- 3.9 to 19.7 +/- 2.0) 150 +/- 1.5 650 +/- 65
        Long 500 +/- 50 to 400 +/- 40 (19.7 +/- 2.0 to 15.7 +/- 1.6) 150 +/- 1.5 150 +/- 1.5
        Middle 400 +/- 40 to 300 +/- 30 (15.7 +/- 1.6 to 11.8 +/- 1.2) 75 +/- 7.5 75 +/- 7.5
        Short 300 +/- 30 or less (11.8 +/- 1.2 or less) Continuous Sound 0
        Rear Corner Long 500 +/- 50 to 375 +/- 40 (19.7 +/- 2.0 to 14.8 +/- 1.6) 150 +/- 15 150 +/- 15
        Middle 375 +/- 40 to 250 +/- 30 (14.8 +/- 1.6 to 9.8 +/- 1.2) 75 +/- 7.5 75 +/- 7.5
        Short 250 +/- 30 or less (9.8 +/- 1.2 or less) Continuous Sound 0
        Rear Center Longest 1500 +/- 150 to 600 +/- 60 (59.1 +/- 5.9 to 23.6 +/- 2.4) 150 +/- 1.5 650 +/- 65
        Long 600 +/- 60 to 450 +/- 50 (23.6 +/- 2.4 to 17.7 +/- 2.0) 150 +/- 1.5 150 +/- 1.5
        Middle 450 +/- 50 to 350 +/- 50 (17.7 +/- 2.0 to 13.8 +/- 1.6) 75 +/- 7.5 75 +/- 7.5
        Short 350 +/- 40 or less (13.8 +/- 1.6 or less) Continuous Sound 0
    2. Buzzer Sound


      1. When a sensor malfunction is detected or a sensor is frozen or dirty, the buzzer sounds 5 times according to the following timing:

        A019WEKE02
      2. The No. 1 ultrasonic sensors are divided into 2 groups: a front section group (front corners and front centers) and a rear section group (rear corners and rear centers). If multiple No. 1 ultrasonic sensors detect obstructions at the same time, the No. 1 clearance warning buzzer sounds as follows, in accordance with the detection distance and detection area of each group:

        Buzzer Sound Pattern ON/OFF Time (msec.)
        Detection Distance Short (*A) Middle (*A) Long (*A) Longest (*A) Not detected
        Short (*B) Timing 1 Timing 2 Timing 2 Timing 2 Continuous Sound/0
        Middle (*B) Timing 2 75/75 75/75 75/75 75/75
        Long (*B) Timing 2 75/75 150/150 150/150 150/150
        Longest (*B) Timing 2 75/75 150/150 150/650 150/650
        Not detected Continuous Sound/0 75/75 150/150 150/650 None

        • *A: Front section

        • *B: Rear section

        A019WSZE05
    3. Multi-information Display


      1. The items displayed by the multi-information display are the location of the obstacle and the approximate distance between the vehicle and the obstacle.

      2. The number of lines shown on the display changes based on the actual distance and flashes when the distance is short.

        A019WI4E01
        Text in Illustration
        *1 Front Corner LH *2 Front Center
        *3 Front Corner RH *4 Rear Corner LH
        *5 Rear Center *6 Rear Corner RH
        *7 Distance *8 Longest
        *9 Long *10 Middle
        *11 Short *12 Flashes
      3. The screens displayed by the multi-information display are warning messages relating to No. 1 ultrasonic sensor malfunction, No. 1 ultrasonic sensor freezing, or presence of dirt on the No. 1 ultrasonic sensor.

        A019WC3E01
        Text in Illustration
        *1 Malfunctioning *2 Frozen/Dirty
    4. Multi-display


      1. The items displayed by the multi-display are the location of the obstacle and the approximate distance between the vehicle and the obstacle, warning messages relating to sensor malfunction, sensor freezing, or presence of dirt on the sensor.

      2. The distance is displayed by the number of lines and color based on the actual distance. The display usually illuminates in yellow. When the distance is short, it illuminates in red.

        A019WESE01
        Text in Illustration
        *1 Front Corner LH *2 Front Center
        *3 Front Corner RH *4 Rear Corner LH
        *5 Rear Center *6 Rear Corner RH
        *7 Distance *8 Longest
        *9 Long *10 Middle
        *11 Short *12 Yellow
        *13 Red - -
      3. If an obstacle is detected when the monitor system*1, parking assist monitor system*2 or side parking assist monitor system*3 is activated, the approximate distance between the vehicle and the obstacle is displayed on the multi-display.


        • *1: Models with monitor system

        • *2: Models with parking assist monitor system

        • *3: Models with side parking assist monitor system

      4. The distance is displayed by color based on the actual distance to the obstacle. When an obstacle is detected at the long or middle distance, the indicator is yellow. The color changes from yellow to red when the distance becomes short.

        A019WJ4E01
        Text in Illustration
        *A Monitor System Screen *B Parking Assist Monitor System Screen
        *C Side Parking Assist Monitor System Screen - -
        *1 Front Corner LH *2 Front Corner RH
        *3 Front Center *4 Rear Corner LH
        *5 Rear Corner RH *6 Rear Center
        *a The illustrations shown are examples only. The illustrations may differ from the actual vehicle screens. - -
      5. The items displayed by the multi-display are warning messages relating to sensor malfunction, sensor freezing, or presence of dirt on the sensor.

        A019WQ7E01
        Text in Illustration
        *1 Malfunctioning *2 Frozen/Dirty
      6. The display timing and detection distance can be customized using the multi-display.

        A019WRF
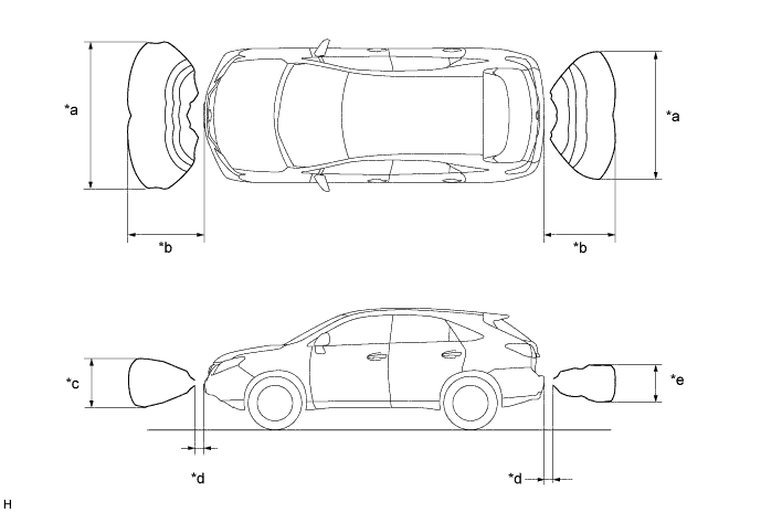
    5. Detection Area


      1. The detection areas of the No. 1 ultrasonic sensor are as shown in the following illustration.

      2. These detection areas are applicable when positioning a 60 mm (2.36 in.) diameter pole parallel or perpendicular to the ground. The ranges vary depending on the measuring method and type of obstacle.

        A019WA0E01
        Text in Illustration (Corner Area:)
        *a Approximately 800 mm (31.5 in.) *b Approximately 500 mm (19.7 in.)
        *c Approximately 420 mm (16.5 in.) *d Approximately 200 mm (7.9 in.)

        Note

        The No. 1 ultrasonic sensor side view detection range hatched area (labeled*1) represents the cross section of the top view of the lines of detection range A. The hatched area *1 does not represent the entire side view detection range.

        A019WDCE01
        Text in Illustration (Center Area:)
        *a Approximately 1800 mm (70.9 in.) *b Approximately 1000 mm (39.4 in.)
        *c Approximately 600 mm (23.6 in.) *d Approximately 200 mm (7.9 in.)
        *e Approximately 550 mm (21.7 in.) - -
  5. DIAGNOSIS


    1. If a system malfunction is detected, the clearance warning ECU assembly*1 or parking assist ECU*2 stores Diagnostic Trouble Codes (DTCs) in its memory. For details, refer to the Repair Manual.


      • *1: Models without side parking assist monitor system

      • *2: Models with side parking assist monitor system