AUDIO AND VISUAL SYSTEM PARTS LOCATION

A019WP0E01
Text in Illustration
*A LHD Model *B RHD Model
*C Models for Europe and Destination Package for Australia with HDD Navigation System *D Except Models for Europe and Destination Package for Australia with HDD Navigation System
*1 Telephone Microphone Assembly *2 Map Light Assembly
*3 Digital Audio Broadcasting Antenna *4

Radio Antenna (Rear Spoiler Sub-assembly)

- AM

- FM Main

*5

Radio Antenna (Rear Spoiler Sub-assembly)

- AM

- FM Main

- DAB

*6 Amplifier Antenna Assembly
*7

Window Glass Antenna Wire

- FM-sub

*8 Stereo Component Amplifier Assembly
A019WMLE01
Text in Illustration (LHD Models:)
*A Models with Lexus Display Audio System *B Models with HDD Navigation System
*C Models with 9-speaker Sound System *D Models with Lexus Display Audio System or HDD Navigation System
*E Models with G-BOOK System - -
*1 Remote Operation Board *2 Remote Touch
*3 Radio Receiver Assembly *4 Multi-media Module Receiver Assembly
*5 Main Body ECU (Multiplex Network Body ECU) *6 Combination Meter Assembly
*7 Spiral Cable with Sensor Sub-assembly *8 Accessory Meter Assembly
*9 Multi-display Assembly *10 Telematics Transceiver (Data Communication Module)
*11

Steering Pad Switch Assembly

- Volume

- Seek

- Mode

*12

Steering Pad Switch Assembly

- Voice

- Telephone

*13 No. 1 Stereo Jack Adapter Assembly - -
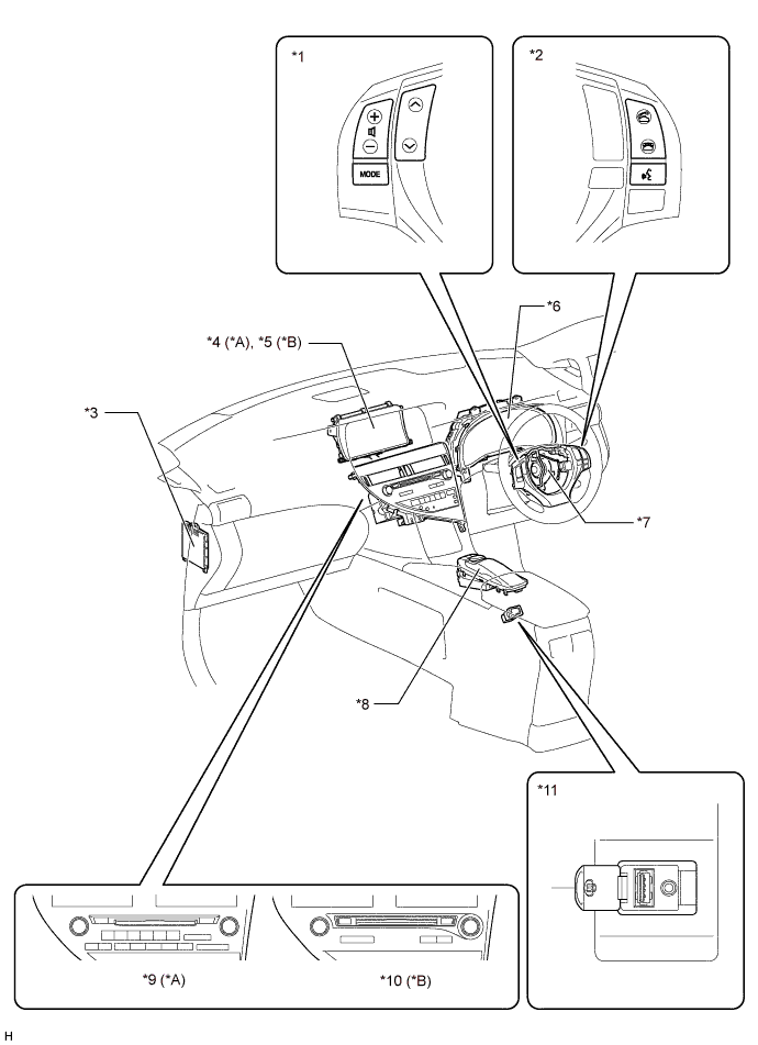
A019WREE01
Text in Illustration (RHD Models:)
*A Models with 9-speaker Sound System *B Models with HDD Navigation System
*1

Steering Pad Switch Assembly

- Volume

- Seek

- Mode

*2

Steering Pad Switch Assembly

- Voice

- Telephone

*3 Main Body ECU (Multiplex Network Body ECU) *4 Accessory Meter Assembly
*5 Multi-display Assembly *6 Combination Meter Assembly
*7 Spiral Cable with Sensor Sub-assembly *8 Remote Touch
*9 Radio Receiver Assembly *10 Multi-media Module Receiver Assembly
*11 No. 1 Stereo Jack Adapter Assembly - -
A019WLLE01
Text in Illustration (Models with Rear Seat Entertainment System:)
*1 Television Switch and Volume Assembly *2 Television Display Assembly (LH Side)
*3 Television Display Assembly (RH Side) *4 Multi-display Controller Sub-assembly
*5 Headphone Terminal (LH Side) *6 Headphone Terminal (RH Side)
*7 Video (Video Adapter) Terminal - -