STEERING COLUMN SYSTEM DETAILS


  1. FUNCTION OF MAIN COMPONENTS

    Component Function
    Steering Column Assembly Tilt Motor Tilts the steering column up and down.
    Telescopic Motor Moves (telescopes) the steering column in and out.
    Tilt and Telescopic Switch Sends signals to the multiplex tilt and telescopic ECU based on the driver's operation of the tilt and telescopic switch.
    Multiplex Tilt and Telescopic ECU Controls the tilt and telescopic motors based on the following information: the position of the tilt and telescopic motors, and the operation of the tilt and telescopic switch. In addition, it controls the tilt motor and telescopic motor based on the command of the main body ECU (multiplex network body ECU) and front power seat switch (for driver).

    Front Power Seat Switch (for Driver)*


    • Position Control ECU

    Sends a memory recovery command of the steering column position to the multiplex tilt and telescopic ECU.

    *: Models with memory function

  2. SYSTEM CONTROL


    1. This system has the following control functions, thus providing excellent ease of operation and entry/exit.

      Function Outline
      Manual Control The tilt and telescopic positions can be adjusted using the tilt and telescopic manual switch.
      Automatic Control Auto Away If the power source is changed from on (ACC) or on (IG) to off, or the multiplex tilt and telescopic ECU receives a seatbelt release signal, the steering wheel automatically tilts up and fully retracts.
      Auto Return If the power source is changed from off to on (ACC) or on (IG), or the multiplex tilt and telescopic ECU receives a seatbelt fastened signal, the steering wheel automatically returns to the previous position which was set before the power source was turned off.
      Memory Control* The memory system can store the driver seat position and tilt and telescopic positions. Up to 3 memory positions can be stored in the system memory and recalled. Three positions can be saved for the main body ECU.

      *: Models with memory function

  3. CONSTRUCTION


    1. Power Tilt and Power Telescopic Mechanism


      1. A stepless adjustment enables the tilt mechanism to be tilted 4.44° vertically, and the telescopic mechanism to be moved 40 mm (1.57 in.) longitudinally.

        A019WS9E01
    2. Energy Absorbing Mechanism


      1. The energy absorbing mechanism in the steering column consists of the steering intermediate shaft assembly and column tube.

      2. When the steering gear moves during a collision (primary collision), the steering intermediate shaft assembly contracts, thus helping reduce the possibility of the steering column and the steering wheel protruding into the cabin.

      3. When a collision impact is transmitted to the steering wheel (secondary collision), the steering wheel and the driver's airbag help absorb the impact. At this time, the frictional resistance of the contracting portion, attached to the column tube absorbs the energy. This sequential energy absorbing mechanism helps absorb the impact of a secondary collision.

        A019WIDE01
        Text in Illustration
        *a Before Collision *b After Collision
        *1 Steering Intermediate Shaft Assembly *2 Steering Column Tube
        *3 Secondary Collision *4 Primary Collision
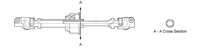
    3. Steering Intermediate Shaft Assembly


      1. The steering intermediate shaft assembly consists of 2 shafts and balls that connect those shafts. The balls allow the 2 shafts to slide smoothly, countering roughness that would be generated by changing speeds of the steering intermediate shaft assembly universal joints.

        A019WUGE03
  4. FAIL-SAFE


    1. When the multiplex tilt and telescopic ECU detects a malfunction in the power tilt and telescopic system, the ECU changes to a fail-safe mode as follows:

      Detection Item Fail-safe
      Tilt and telescopic Switch Malfunction Manual control stops
      Tilt Position Sensor or Tilt Motor Circuit Malfunction Tilt operation is suspended.
      Telescopic Position Sensor or Telescopic Motor Circuit Malfunction Telescopic operation is suspended.
      ECU Power Source Circuit Malfunction Tilt and telescopic operations are suspended.
    2. If a communication problem has occurred in any ECUs related to the multiplex tilt and telescopic ECU and the power tilt and telescopic system, the power tilt and telescopic system allows the following controls to continue.

      Control ECU for which communication is lost

      Main Body ECU

      (Multiplex Network Body ECU)

      Tilt and Telescopic Switch Front Power Seat Switch LH (for Driver) Combination Meter ECU All related ECUs
      Manual X*1 X X*1
      Automatic Away X X X
      Automatic Return X*2 X X
      Memory X X X

      Tech Tips

      *1: Operation is permitted if the power switch is on (ACC) or on (IG) while the signal from the main body ECU (Multiplex network Body ECU) is interrupted. Operation is prohibited if the power switch is turned off while the signal from the main body ECU (Multiplex network Body ECU) is interrupted.

      *2: Operation is permitted until the power switch is turned off if the signal is interrupted after tilt and telescopic control is started.

  5. DIAGNOSIS


    1. If the multiplex tilt and telescopic ECU detects a malfunction in the power tilt and telescopic system, the ECU stores the malfunction data in memory. Then, by connecting the intelligent tester to the DLC3, the Diagnostic Trouble Codes (DTCs) can be accessed and an active test can be performed to test the operation of the tilt motor and the telescopic motor. For details, refer to the Repair Manual.