CAN COMMUNICATION SYSTEM PARTS LOCATION

A019WBXE01
Text in Illustration (CAN No. 1 Bus:)
*1 ECM - -
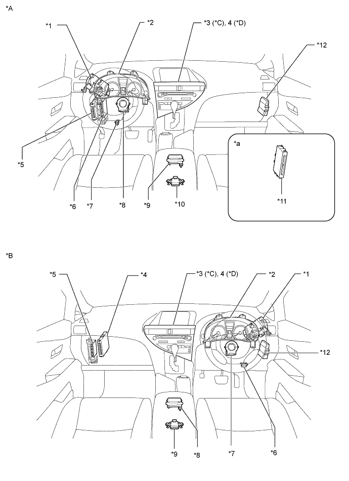
A019WLZE01
Text in Illustration (CAN No. 1 Bus:)
*A LHD Models *B RHD Models
*C Models with 9-speaker System or Lexus Display Audio System *D Models with HDD Navigation System
*1 Power Steering ECU Assembly *2 Combination meter Assembly
*3 Radio Receiver Assembly *4 Multi-media Module Receiver Assembly
*5 Power Management Control ECU *6 Main Body ECU (Multiplex Network Body ECU)
*7 DLC3 *8 Steering Angle Sensor (Spiral Cable with Sensor Sub-assembly)
*9 Airbag Sensor Assembly *10 Yawrate Sensor
*11 Certification ECU (Smart Key ECU Assembly) *12 Skid Control ECU
*a Refer to the Service Bulletin for the installation position of the part. - -
A019WKCE01
Text in Illustration (CAN No. 2 Bus:)
*A LHD Models *B RHD Models
*1 Power Management Control ECU *2 Driving Support ECU Assembly
*3 AFS ECU (Headlight Swivel ECU Assembly) *4 Parking Assist ECU
*5 Seat Belt Control ECU *6 Clearance Warning ECU Assembly
*7 Suspension Control ECU *8 Skid Control ECU
A019WORE01
Text in Illustration (CAN No. 3 Bus:)
*1 Front Active Stabilizer Control ECU Assembly *2 Rear Active Stabilizer Control ECU Assembly
A019WLXE01
Text in Illustration (CAN MS Bus:)
*A LHD Models *B RHD Models
*1 Outer Mirror Control ECU Assembly (LH) *2 Main Body ECU (Multiplex Network Body ECU)
*3 Multiplex Tilt and Telescopic ECU *4 Outer Mirror Control ECU Assembly (RH)
*5 Position Control ECU LH (Front Power Seat Switch LH) *6 Position Control ECU RH (Front Power Seat Switch RH)
A019WSDE02
Text in Illustration (CAN MS Bus:)
*1 Power Back Door ECU (Power Back Door Unit Assembly) - -
A019WDXE01
Text in Illustration (Power Management Bus:)
*A LHD Models *B RHD Models
*1 Power Management Control ECU *2 Air Conditioning Amplifier
*3 Skid Control ECU - -