ACTIVE STABILIZER SUSPENSION SYSTEM PARTS LOCATION

A019WNKE01
A019WNYE01
Text in Illustration
*1

Front Active Stabilizer Control Actuator Assembly

- Rotational Angle Sensor

*2 HV Battery
*3

Rear Active Stabilizer Control Actuator Assembly

- Rotational Angle Sensor

*4 Speed Sensor
*5 Front Active Stabilizer Control ECU Assembly *6 Rear Active Stabilizer Control ECU Assembly
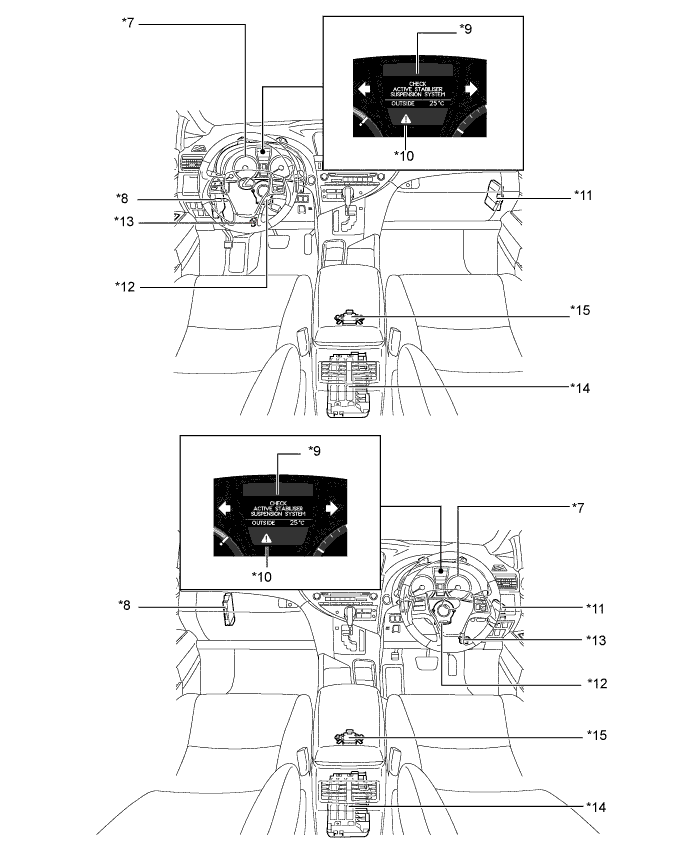
*7

Combination Meter Assembly

- Buzzer

*8 Power Management Control ECU
*9 Multi-information Display *10 Master Warning Light
*11 Skid Control ECU *12 Steering Angle Sensor
*13 DLC3 *14 Power Steering Converter Assembly (DC-DC Converter)
*15 Yawrate Sensor - -