AIR SUSPENSION SYSTEM DETAILS


  1. FUNCTION OF MAIN COMPONENTS

    Component Function
    Suspension Control ECU
    • Estimates the condition of the vehicle in accordance with the signals provided by the sensors and switches, and outputs control signals to the compressor and valves.

    • Displays a warning message to alert the driver when the suspension control ECU detects a malfunction in the system.

    Suspension Control Relay Supplies electricity to the height control compressor assembly.
    Height Control Compressor Assembly Height Control Compressor
    • Creates the compressed air required for raising the vehicle height and supplies it to the pneumatic cylinder assembly.

    • Removes moisture from the compressed air.

    Exhaust Solenoid Valve Discharges compressed air to atmosphere from the pneumatic cylinder assembly to lower the vehicle.
    Height Control Cleaner Removes dust and sand from the air taken in by the height control compressor.
    Pneumatic Cylinder Assembly (4) Supports the vehicle body and adjusts the vehicle height.
    Pneumatic Tank Assembly Pneumatic Tank Temporarily stores the exhaust air when the vehicle height is being lowered.
    Pneumatic Tank Solenoid Valve When the vehicle height is being lowered, the valve opens in order to guide the compressed air from the pneumatic cylinder assembly to the pneumatic tank.
    No.1 Height Control Valve Sub-assembly Supplies and discharges compressed air to and from the air chambers in the front pneumatic cylinders by opening and closing the air path between the height control compressor and front pneumatic cylinders.
    No.2 Height Control Valve Sub-assembly Supplies and discharges compressed air to and from the air chambers in the rear pneumatic cylinders by opening and closing the air path between the height control compressor and rear pneumatic cylinders.
    Height Control Sensor Sub-assembly (4) Detects the vehicle height (distance between the vehicle body and road surface).
    Yawrate Sensor Detects the vehicle's longitudinal and lateral acceleration.
    Combination Meter Assembly Height Control Indicator Light
    • Indicates the present vehicle height condition (HI, N, and LO mode).

    • When the user operates the height control switch to change modes, the height control indicator light blinks the target mode. After the control is completed, the light remains on.

    Luggage Mode Indicator Light When the user operates the height control switch to change to luggage mode, the light flashes until the vehicle has finished lowering. After it has finished lowering, the light remains on.
    Master Warning Light Illuminates to alert the driver when the suspension control ECU detects a malfunction in the air suspension system.
    Multi-information Display
    • Indicates to inform the driver when the height control is turned off by the height control OFF switch.

    • Displays a warning message to alert the driver when the suspension control ECU detects a malfunction in the air suspension system.

    Height Control Switch (Driver's seat) By operating the switch, the driver can select one of 4 vehicle heights: HI (high), N (normal), LO (low), or luggage mode.
    Height Control Switch (Luggage Compartment)
    • By operating the switch, the driver can select one of 3 vehicle heights: HI (high), N (normal), or luggage mode.

    • By operating the switch, the user can lower the vehicle height even when the power switch is off.

    Height Control OFF Switch By pressing this switch while the vehicle is stopped with the hybrid system running or the power switch on (IG), vehicle height control is disabled temporarily and the current height is maintained.
    Skid Control ECU (Brake Actuator Assembly) Receives the signals from the stop light switch and vehicle speed sensor, and sends them to the suspension control ECU.
    Main Body ECU (Multiplex Network Body ECU) Receives the signals from the back door courtesy switch, and sends them to the suspension control ECU.
    ECM Receives the signals from the crankshaft position sensor (engine speed) and sends them to the suspension control ECU.
    Power Management Control ECU
    • Receives the signals from the shift lever position sensor (P position) and sends them to the suspension control ECU.

    • Transmits the READY signal to the suspension control ECU.

  2. SYSTEM CONTROL


    1. The air suspension system performs the following controls:

      Control Outline
      Automatic Vehicle Height Control
      • Maintains a constant vehicle height regardless of the number of occupants or the amount of load.

      • The control operates for a prescribed length of time after the power switch has been turned off to lower the vehicle height (as a result of the occupants exiting the vehicle ) to the normal position.

      Vehicle Height Switching Control Operating the height control switches allows the driver to select from a total of 4 vehicle height modes, HI (high), N (normal), and LO (low) modes for when the vehicle is driven or stopped, and luggage mode for when the vehicle is stopped.
      Vehicle Height Control OFF Control Pressing the height control OFF switch disables vehicle height control.
      Initial Control For approximately 2 seconds after the power switch is turned on (IG), the suspension control ECU performs the initial control. During this control, the suspension control ECU stops all the actuators except the suspension control relay, and illuminates all the indicator lights to check their bulbs.
      Exhaust Control When the vehicle height is being lowered, this control automatically discharges the compressed air stored in the pneumatic tank assembly. After the completion of the initial control or the vehicle height is lowered, the suspension control ECU turns on (opens) the pneumatic tank solenoid valve and the exhaust solenoid valve in order to discharge the compressed air from the pneumatic tank assembly.
      Diagnosis When the suspension control ECU detects a malfunction in this system, it blinks the height control OFF indicator light to inform the driver of the malfunction.
    2. Automatic Vehicle Height Control


      1. Using the 4 height control sensors, the suspension control ECU detects changes in the vehicle height resulting from the number of occupants or the amount of cargo. Then, the suspension control ECU controls the height control valves and the height control compressor assembly in order to automatically adjust the vehicle height to maintain a constant vehicle height.

      2. This function allows the vehicle to automatically maintain a level posture regardless of how many occupants or how much cargo is onboard, achieving the following:

        - Ample wheel stroke is preserved to achieve stability.

        - Optimal wheel alignment is maintained to achieve stability.

        - Minimal changes in approach and departure angles.

      3. The control operates for 60 seconds to lower the vehicle height after the power switch has been turned off (as a result of the occupants exiting the vehicle) to the normal position. The control ends after 60 seconds have elapsed even if the target vehicle height has not been reached. This control operates to lower the vehicle height.

    3. Vehicle Height Switching Control


      1. Operating the height control switches allows the driver to select from a total of 4 vehicle height modes, HI (high), N (normal), and LO (low) modes for when the vehicle is driven or stopped, and luggage mode for when the vehicle is stopped. In addition, automatic vehicle height control activates in HI (high), N (normal) or LO (low) mode.

        Vehicle Height Mode Availability:
        Vehicle state HI (high) Mode N (normal) Mode LO (low) Mode Luggage Mode
        Stopped
        Driving at below 30 km/h (19 mph) X
        Driving at 30 km/h (19 mph) or more X X

        • ○: Operate

        • X: Not Operate

      2. N (normal) mode, which is the standard vehicle height, is suitable for regular driving conditions. When the vehicle is driven at a high speed, the vehicle height will automatically lower to a height equivalent to LO (low) mode for improved aerodynamics and stability. When the vehicle speed drops to medium to low speeds, the vehicle height will return to normal.

        A019WFSE04
      3. In HI (high) mode, the vehicle height is raised approximately 30 mm (1.2 in.) compared to the normal vehicle height. This mode is suitable for driving on rough roads. The HI (high) mode can be selected while the vehicle is driven at a speed below 30 km/h (19 mph).

      4. If one of the following conditions is met while the vehicle is driven in HI (high) mode, N (normal) mode will be automatically restored:

        - The vehicle is driven at a speed between 30 km/h (19 mph) and 50 km/h (31 mph) for 10 seconds or more.

        - The vehicle is driven at a speed of 50 km/h (31 mph) or more.

      5. Once the mode changes from HI (high) to N (normal), the vehicle will not automatically return to HI (high) height even when the speed drops below 30 km/h (19 mph).

        A019WL5E04
      6. In LO (low) mode, the vehicle height is lowered approximately 20 mm (0.8 in.) in the front and approximately 5 mm (0.2 in.) in the rear compared to the normal vehicle height. This mode is suitable for sporty driving and highway driving. By turning the power switch off once and then on (IG) again in this mode, N (normal) mode will be restored.

        A019WLEE02
      7. In luggage mode, the vehicle height is lowered approximately 30 mm (1.2 in.) compared to the normal vehicle height. This mode adds convenience when loading or unloading luggage or getting into or out of the vehicle.

      8. If the power switch is on (READY), luggage mode can be selected only when the shift lever is in P.

      9. If the vehicle is driven in luggage mode and the vehicle speed exceeds 8 km/h (5.0 mph), the vehicle height mode will change to N (normal). In this situation, even if the vehicle speed drops below 8 km/h (5.0 mph), it will not return to luggage mode.

        A019WK2E04
    4. Vehicle Height Control OFF Control


      1. When the height control OFF switch is pressed, this control disables all vehicle height control functions. However, this control can only operate when the vehicle is stopped or when the vehicle is driven at 30 km/h (19 mph) or less.

      2. The suspension control ECU disables height control in accordance with the signals from the height control OFF switch and "HEIGHT CONTROL OFF" is shown on the multi-information display in the combination meter assembly.

      3. The selected height control mode is maintained even when the power switch is turned off. Therefore, the system will not return to the default N (normal) height mode even when the power switch is turned back on (IG). However, once the vehicle speed exceeds 30 km/h (19 mph), vehicle height control OFF control is canceled to ensure safety, and the "HEIGHT CONTROL OFF" display will be turned off.

        A019WKRE02
  3. FUNCTION


    1. Height Control Switch


      1. Height control switches are provided at the driver's seat and in the luggage compartment.

      2. By operating the height control switch, the driver can select one of 4 vehicle heights: HI (high), N (normal), LO (low), or luggage mode.

      3. To switch modes using a height control switch, it is necessary to press the switch for at least 1 second.

      4. The height control switch at the driver's seat can be only operated while the power switch is on (READY).

      5. If the power switch is on (READY), the height control switch in the luggage compartment can be operated only when the shift lever is in P. If the power switch is off, the switch can be operated only to lower the vehicle height (pressing the switch again while the vehicle height is being lowered will stop the lowering operation).

      6. The height control switch in the luggage compartment cannot be operated when the back door is closed.

      7. Operating either height control switch will select the various vehicle height modes as shown in the following chart:

        A019WRQE02
  4. CONSTRUCTION


    1. Height Control Compressor Assembly


      1. The height control compressor assembly consists mainly of the compressor motor, dryer, height control cleaner and exhaust solenoid valve.

      2. The compressor motor is used to create the compressed air required for raising the vehicle height.

      3. The dryer is used to dehumidify the air compressed within the compressor to prevent the air pipes from freezing. The dryer is replenished with the dehumidified air released when the vehicle is lowered.

      4. Highly effective synthetic zeolite is used for the dryer element.

      5. A height control cleaner is placed in the intake hose to remove dust and sand from the intake air.

      6. An exhaust solenoid valve is provided on the compressor motor. The exhaust solenoid valve discharges compressed air from the pneumatic cylinders to the atmosphere in order to lower the vehicle.

        A019WSPE02
    2. Pneumatic Cylinder Assembly


      1. The pneumatic cylinder assembly consists mainly of the chamber, bound stopper, diaphragm, dust cover and air piston.

      2. A shock absorber-integrated front pneumatic cylinder is used.

      3. A rear pneumatic cylinder with an independent shock absorber is used in accordance with the adoption of the trailing arm type double wishbone independent suspension.

      4. A bellows type dust cover is provided to protect the diaphragm from foreign matter.

      5. A bound stopper made of urethane is used to reduce ride harshness during large strokes.

      6. The air piston inside the front pneumatic cylinder is positioned off-center in relation to the center axis of the shock absorber in order to reduce stress applied to the shock absorber.

        A019WJDE02
    3. Pneumatic Tank Assembly


      1. The pneumatic tank assembly, which temporarily stores the exhaust air from the pneumatic cylinders, contributes to shortening the time that is required for lowering the vehicle height.

      2. A pneumatic tank solenoid valve is mounted on the pneumatic tank. This valve opens in order to temporarily store the compressed air from the pneumatic cylinders in the pneumatic tank for the purpose of quickly lowering the vehicle height. To release the air in the pneumatic tank into the atmosphere, the exhaust solenoid valve opens at an appropriate time while the system is in the vehicle height control standby mode.

        A019WVOE02
    4. Height Control Sensor Sub-assembly


      1. The height control sensors detect the vehicle height and send signals to the suspension control ECU.

      2. There are 2 front height control sensors, each mounted on the left and right side, respectively. Each is mounted via the control links to the front lower suspension arms and to the body.

      3. There are also 2 rear height control sensors, each mounted on the left and right side, respectively. Each is mounted via the control links to the upper control arms and to the body.

      4. Through the use of a height control sensor control link and shaft, each height control sensor converts the rectilinear movement of the control link into a rotational movement, and the result is detected in the form of a rotational angle.

        A019WQ8E02

        Tech Tips

        After the height control sensor or the height control sensor control link has been removed and reinstalled, the vehicle height must be checked in accordance with the prescribed procedures. For details, refer to the Repair Manual.

  5. OPERATION


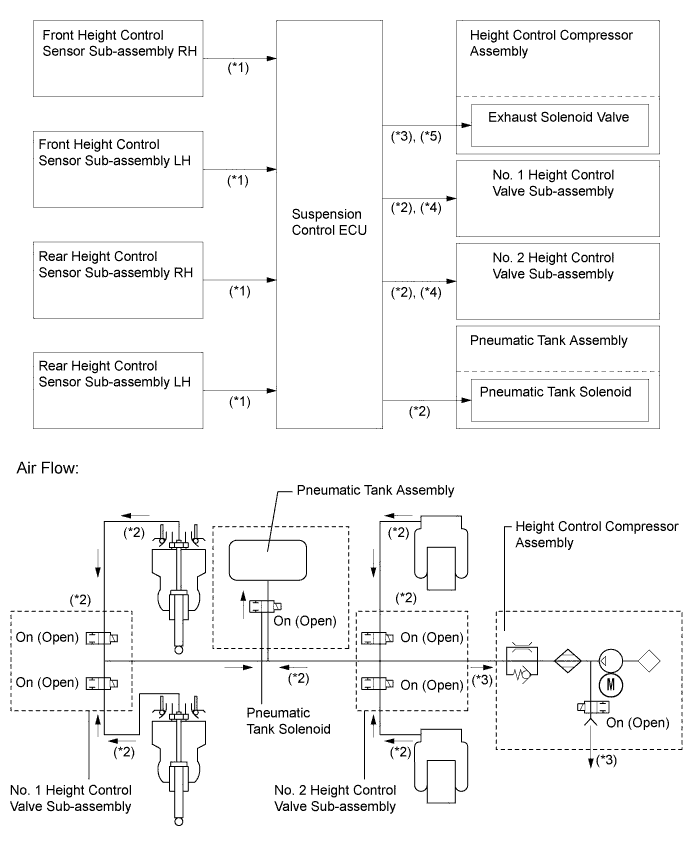
    1. When the vehicle height is raised


      1. The suspension control ECU detects the vehicle height based on signals from each height control sensor (*1).

      2. If the vehicle height is lower than the target height, the suspension control ECU sends an operation signal to the height control compressor assembly and also sends the valve open signals to the No. 1 and No. 2 height control valve sub-assemblies (*2).

      3. Air supplied by the height control compressor flows through the No. 1 and No. 2 height control valve sub-assemblies to each pneumatic cylinder, raising the vehicle height (*3).

        A019W9IE02
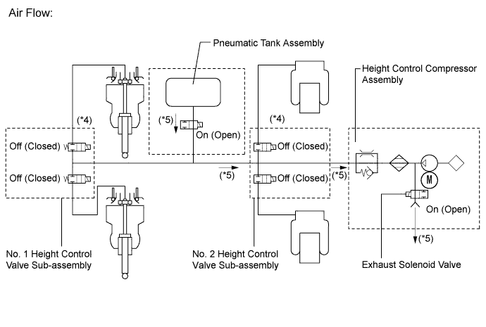
    2. When the vehicle height is lowered


      1. The suspension control ECU detects the vehicle height based on signals from each height control sensor (*1).

      2. If the vehicle height is higher than the target height, the suspension control ECU sends the valve open signals to the No. 1 and No. 2 height control valve sub-assemblies. Air in each pneumatic cylinder is then sent to the pneumatic tank assembly and temporarily stored (*2).

      3. At this time, the suspension control ECU opens the exhaust solenoid valve to gradually discharge air into the atmosphere (*3).

        A019WT2E02
      4. When the vehicle height is lowered to the target height, the suspension control ECU closes the No. 1 and No. 2 height control valve sub-assemblies (*4).

      5. When the No. 1 and No. 2 height control valve sub-assemblies are closed, air stored in the pneumatic tank assembly will be discharged into the atmosphere through the exhaust solenoid valve (*5).

        A019WPWE02
  6. FAIL-SAFE


    1. If a sensor or actuator malfunction occurs, the suspension control ECU disables the vehicle height control. For details, refer to the Repair Manual.

  7. DIAGNOSIS


    1. If the suspension control ECU detects a malfunction in the air suspension system, it displays a warning message on the multi-information display to alert the driver of the malfunction.

    2. At the same time, Diagnostic Trouble Codes (DTCs) are stored in memory.

    3. This system has an input signal check (test mode) function.

    4. For details of the DTCs that are stored in suspension control ECU memory and the DTCs that are output through the input signal check (test mode) functions, refer to the Repair Manual.