REAR DRIVE SYSTEM GENERAL


  1. OUTLINE


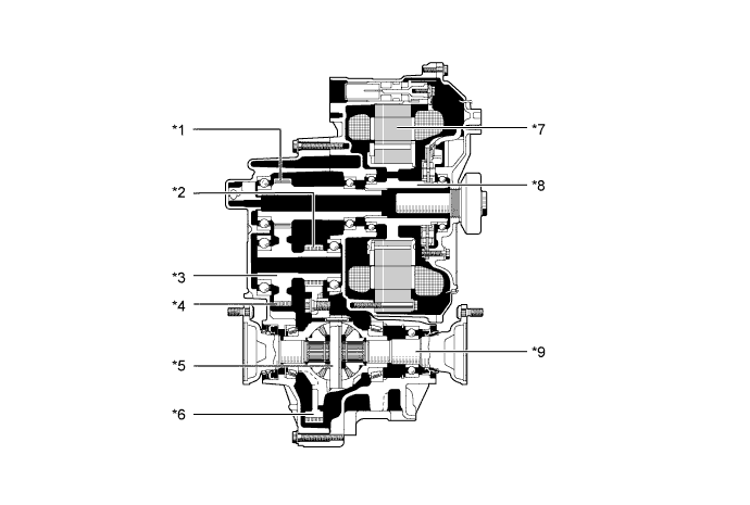
    1. The Q211 rear drive unit (rear traction motor with transaxle assembly) has a built-in Motor Generator Rear (MGR), which is used for driving the rear wheels. It consists of a counter drive gear, counter driven gear, and differential gear unit, which transmit the motive force of MGR.

    2. This drive unit is lubricated by the differential ring gear which in addition to transferring power is used to sling up the ATF. The ATF used is Toyota genuine ATF WS.

    3. This unit has a 3-shaft configuration. MGR and the counter drive gear are provided on the main shaft. The counter driven gear and the differential drive pinion gear are provided on the 2nd shaft. The differential ring gear and the differential gear unit are provided as the side gear shaft (3rd shaft).

      A019WPQE01
      Text in Illustration
      *1 Counter Drive Gear *2 Differential Drive Pinion Gear
      *3 2nd Shaft *4 Counter Driven Gear
      *5 Differential Gear Unit *6 Differential Ring Gear
      *7 Motor Generator Rear (MGR) *8 Main Shaft
      *9 Side Gear Shaft (3rd Shaft) - -
  2. SPECIFICATION

    Unit Type Q211
    Total Speed Reduction Ratio 6.859
    Counter Gear No. of Drive Gear Teeth 23
    No. of Driven Gear Teeth 40
    Differential Gear No. of Drive Gear Teeth 18
    No. of Driven Gear Teeth 71
    Cooling System Air-cooled
    Oil Type Toyota Genuine ATF WS or equivalent
    Oil Capacity L (US qts, Imp.qts) 1.8 (1.9, 1.6)
    Weight (Reference)* kg (lb) 41.8 (92.2)

    *: The figure shown is the weight with the oil fully filled.