HYBRID TRANSAXLE SYSTEM GENERAL


  1. OUTLINE


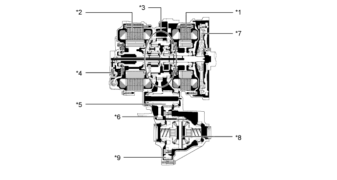
    1. The P313 hybrid transaxle system consists of the following items to achieve smooth and quiet operation.

      Items Function
      P313 Hybrid Transaxle (Hybrid Vehicle Transaxle Assembly) Motor Generator 1 (MG1) Generates electrical power
      Motor Generator 2 (MG2) Drives the vehicle
      Compound Gear Unit
      • Continuously changes the transmission ratio

      • Transmits the motive force

      Transmission Damper Absorbs the torque fluctuation in the drive force of the engine
      Counter Gear and Final Gear Reduces gear speed for final drive
      Differential Gear Unit Transmits motive force to the left and right wheels
      Lubrication and Cooling System Oil Pump and Oil Pump with Motor Assembly Lubricate and cool MG1, MG2, and gears
      Oil Cooler Assembly Cools the ATF
      Sequential Shiftmatic System The sequential shiftmatic system enables the driver to select an engine braking range from 1 to 6 by moving the shift lever from S to "+" or "-".
      A019WBBE01
      Text in Illustration
      *1 Motor Generator 1 (MG1) *2 Motor Generator 2 (MG2)
      *3 Compound Gear Unit *4 Oil Pump
      *5 Final Drive Gear *6 Counter Driven Gear
      *7 Transmission Damper *8 Differential Gear Unit
      *9 Final Driven Gear - -
    2. A shift pattern is provided that has an S position to the side of the D position.

    3. A concealed shift lock override button, which manually overrides the shift lock mechanism, is provided.

      A019WIPE03
  2. SPECIFICATION

    Transaxle Type P313
    Shift Pattern P - R - N - D - S (+/ -)
    Total Speed Reduction Ratio Forward 3.137
    Reverse 3.137
    Compound Gear Unit Power Split Planetary Gear No. of Ring Gear Teeth 78
    No. of Pinion Gear Teeth 23
    No. of Sun Gear Teeth 30
    Motor Speed Reduction Planetary Gear No. of Ring Gear Teeth 57
    No. of Pinion Gear Teeth 18
    No. of Sun Gear Teeth 23
    Counter Gear No. of Drive Gear Teeth 54
    No. of Driven Gear Teeth 55
    Final Gear No. of Drive Gear Teeth 25
    No. of Driven Gear Teeth 77
    Oil Type Toyota Genuine ATF WS or equivalent
    Oil Capacity L (US qts, Imp.qts) 4.6 (4.9, 4.0)
    Weight (Reference)* kg (lb) 121 (267)

    *: The figure shown is the weight with the oil fully filled.