COOLING SYSTEM GENERAL


  1. OUTLINE


    1. The cooling system is a pressurized, forced-circulation type. The reservoir tank is not pressurized.

    2. A thermostat with a bypass valve is located in the water inlet housing to maintain suitable temperature distribution in the cooling system.

    3. A cooling fan control system in which the ECM optimally controls cooling fan speed is used. For details, Click here.

    4. A water-cooled EGR cooler is provided on the except destination packages for China and Hong Kong.

    5. A drain cock assembly is provided on the water inlet assembly to improve the efficiency of changing the engine coolant. For details, refer to the Repair Manual.

    6. TOYOTA genuine Super Long Life Coolant (SLLC) is used.

      A019WSQE02
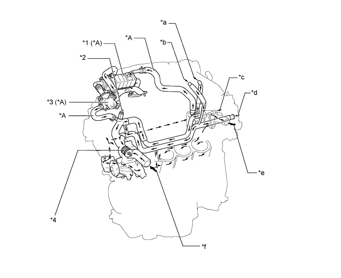
      Text in Illustration
      *A Models with Cooled EGR Control - -
      *1 EGR Cooler *2 Drain Cock Assembly (Air Bleed Valve)
      *3 EGR Valve *4 Thermostat
      *a To Throttle Body *b From Throttle Body
      *c To Heater Radiator Unit Sub-assembly *d From Heater Radiator Unit Sub-assembly
      *e To Radiator Assembly *f From Radiator Assembly
  2. MAJOR DIFFERENCE


    1. The new models have been modified from the previous models as shown below:


      1. Cooled EGR control has been discontinued on the destination packages for China and Hong Kong.

      2. Engine coolant circuit has been changed on the destination packages for China and Hong Kong.

  3. SPECIFICATION


    1. Engine Coolant


      1. TOYOTA genuine SLLC is used. The maintenance interval is as shown in the table below:

        Coolant Type TOYOTA Genuine SLLC or the Following
        Maintenance Intervals First Time 160000 km (100000 miles)
        Subsequent Every 80000 km (50000 miles)
        Color Pink

        Tech Tips

        Similar high quality ethylene glycol based non-silicate, non-amine, non-nitrite, and non-borate coolant with long-life hybrid organic acid technology (Coolant with long-life hybrid organic acid technology is a combination of low phosphates and organic acids).

      2. SLLC is pre-mixed (50 % coolant and 50 % deionized water), so no dilution is needed when adding or replacing SLLC in the vehicle.

      3. The new maintenance interval (every 80000 km/50000 miles) can be applied to vehicles initially filled with LLC (red), if SLLC (pink) is used when the engine coolant is changed.

    2. Thermostat

      Thermostat Opening Temperature 80 - 84°C (176 - 183°F)