INTAKE SYSTEM DETAILS


  1. CONSTRUCTION


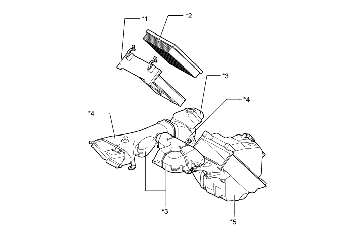
    1. Air Cleaner Assembly


      1. A paper type air cleaner filter element is used.

      2. A resonator is provided on the air cleaner inlet, helping to reduce intake noise.

        A019WB2E01
        Text in Illustration
        *1 Air Cleaner Cap Sub-assembly *2 Air Cleaner Filter Element Sub-assembly (Paper Type)
        *3 Resonator *4 Air Cleaner Inlet
        *5 Air Cleaner Case Sub-assembly - -
    2. Throttle Body


      1. A cable-less type throttle body in which the throttle position sensor and the throttle control motor are integrated is used. It realizes excellent throttle valve control.

      2. The throttle control motor uses a DC motor with excellent response and minimal power consumption. The ECM performs duty ratio control of the direction and the amperage of the current that flows to the throttle control motor in order to regulate the throttle valve angle.

        A019WTJE02
        Text in Illustration
        *1 Throttle Control Motor *2 Throttle Position Sensor
    3. Intake Air Surge Tank


      1. The intake air surge tank is made of plastic to realize a lightweight construction.

      2. A vacuum sensor for Exhaust Gas Recirculation (EGR) control is provided on the intake air surge tank.

        A019WKGE01
        Text in Illustration
        *1 EFI Vacuum Sensor Assembly
    4. Intake Manifold


      1. A light weight aluminum alloy is used for the intake manifold.

      2. The No. 1 and No. 2 intake manifold to head gaskets have a rubber coating applied to their surfaces. They provide superior durability.

        A019WKBE06
        Text in Illustration
        *1 No. 1 Intake Manifold to Head Gasket *2 No. 2 Intake Manifold to Head Gasket
        *a Rubber Coating *b A - A Cross Section