OUTLINE
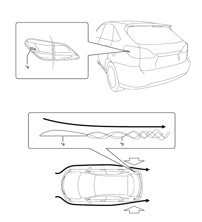
Aero Stabilizing Fin
Aero stabilizing fins are placed on the rear combination lenses. These fins produce air vortexes beside the vehicle, assisting steering stability while driving.
When air passes the aero stabilizing fins, a spiral vortex is produced. Due to the vortex, the airflow is moved closer toward the vehicle body to hold the vehicle from both sides, assisting steering stability.
| *a | Aero Stabilizing Fin | *b | Vortexes |
|
Airflow | |
Hold the Vehicle from Both Sides |
Heated Steering Wheel System
The heated steering wheel system is used to keep the leather part of the steering wheel at a prescribed temperature when the switch is operated.
| *1 | Steering Wheel Heater Control Assembly | *2 | Steering Heater Switch |
| *3 | Indicator Light | - | - |
|
Heated Portion | - | - |
Multi-information Switch (Steering Pad Switch Assembly)
The multi-information switch (steering pad switch assembly) allows users to switch and customize various function settings by operating one switch. This switch consists of the menu switch and ENTER switch.
| *1 | Multi-information Switch (Steering Pad Switch Assembly) | *2 | Menu Switch |
| *3 | ENTER Switch | - | - |
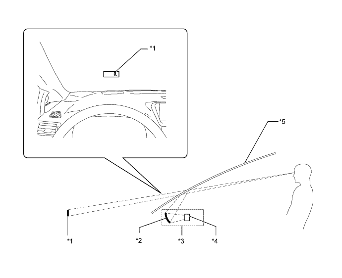
Headup Display
The headup display projects the image from the dot Liquid Crystal Display (LCD), built into the headup display unit (combination meter mirror ECU), in a position approximately 2 m (6.6 ft.) forward of the driver using a concave mirror and the windshield in order to support the driver with various information.
| *1 | Display Image | *2 | Concave Mirror |
| *3 | Headup Display Unit | *4 | Dot Liquid Crystal Display |
| *5 | Windshield Glass | - | - |
Lexus Display Audio System
The Lexus display audio system is a radio receiver assembly equipped with a 7.0-inch display, ensuring ease of use.
The following are provided: AM/FM tuner, CD player, AUX (USB and iPod) jacks, Bluetooth hands-free function, Bluetooth audio function and rear view monitor function.
Remote Operation Board (Models with Lexus Display Audio System)
The Remote Operation Board is used to allow for intuitive operations linked with the multi display.
HDD Navigation System
The HDD navigation system is a navigation receiver assembly equipped with a wide 8.0- inch display and Remote Touch, ensuring ease of use.
The following are provided: AM/FM tuner, DVD player, AUX (USB and iPod) jacks, Bluetooth hands-free function, Bluetooth audio function and parking assist monitor function.
Through the use of the Global Positioning System (GPS) and map data which is stored on a Hard Disk Drive (HDD), the navigation system analyzes the position of the vehicle and indicates that position on the map that is displayed on the display.
Remote Touch (Models with HDD Navigation System)
The Remote Touch is used to allow for intuitive operations linked with the multi display.
The Remote Touch provides force feedback to the user's hand in accordance with changes in the display.
The precision feedback, tactile sensation and a quality feel offered by this system achieve excellent operability.
Rear Seat Entertainment System
The rear seat entertainment system uses dual 7-inch displays to provide impressive video images to the rear seat occupants.
| *1 | Television Display Assembly LH | *2 | Television Display Assembly RH |
Lighting Emitting Diode (LED) Headlight System
An LED headlight system, capable of instant illumination and of ensuring a long service life, is used for the low beam headlights.
Pre-crash Safety System
The pre-crash safety system retracts the front seatbelts and brings the brake control system to the Brake Assist standby condition and pre-crash brake control* before a collision in an attempt to lessen impact to the driver and front passenger.
*: Except destination package for Australia, Thailand and Taiwan
Side Parking Assist Monitor System
The side parking assist monitor system uses a side television camera to display an image of the front passenger side blind spot on the 8.0-inch wide Liquid Crystal Display (LCD), in order to support the driver.
| *1 | Side Television Camera | *2 | View Area |
Exterior Color and Interior Color
| Exterior | Interior | Seat Cover | ||||
|---|---|---|---|---|---|---|
| Color No. | Color Name | Color Name | Color No. | Wood Ornament | Fabric | Leather |
| 077 | White Pearl Crystal Shine | Ivory | 456B/012B | Medium Brown | ○ | ○ |
| Light Gray | 201B | Dark Gray | ○ | ○ | ||
| Black | 201B | Dark Gray | ○ | ○ | ||
| Garnet | 201B | Dark Gray | - | ○ | ||
| Saddle Tan | 201B | Medium Brown | - | ○ | ||
| Black and White Gray* | 201B | Medium Silver | - | ○ | ||
| 078 | Quartz White Crystal Shine | Ivory | 456B/012B | Medium Brown | ○ | ○ |
| Light Gray | 201B | Dark Gray | ○ | ○ | ||
| Black | 201B | Dark Gray | ○ | ○ | ||
| Garnet | 201B | Dark Gray | - | ○ | ||
| Saddle Tan | 201B | Medium Brown | - | ○ | ||
| 1J4 | Platinum Silver Metallic | Ivory | 456B/012B | Medium Brown | ○ | ○ |
| Light Gray | 201B | Dark Gray | ○ | ○ | ||
| Black | 201B | Dark Gray | ○ | ○ | ||
| Garnet | 201B | Dark Gray | - | ○ | ||
| Saddle Tan | 201B | Medium Brown | - | ○ | ||
| Black and White Gray* | 201B | Medium Silver | - | ○ | ||
| 1H9 | Mercury Gray Mica | Ivory | 456B/012B | Medium Brown | ○ | ○ |
| Light Gray | 201B | Dark Gray | ○ | ○ | ||
| Black | 201B | Dark Gray | ○ | ○ | ||
| Garnet | 201B | Dark Gray | - | ○ | ||
| Saddle Tan | 201B | Medium Brown | - | ○ | ||
| Black and White Gray* | 201B | Medium Silver | - | ○ | ||
| 212 | Black | Ivory | 456B/012B | Medium Brown | ○ | ○ |
| Light Gray | 201B | Dark Gray | ○ | ○ | ||
| Black | 201B | Dark Gray | ○ | ○ | ||
| Garnet | 201B | Dark Gray | - | ○ | ||
| Saddle Tan | 201B | Medium Brown | - | ○ | ||
| Black and White Gray* | 201B | Medium Silver | - | ○ | ||
| 217 | Starlight Black Glass Flake | Ivory | 456B/012B | Medium Brown | ○ | ○ |
| Light Gray | 201B | Dark Gray | ○ | ○ | ||
| Black | 201B | Dark Gray | ○ | ○ | ||
| Garnet | 201B | Dark Gray | - | ○ | ||
| Saddle Tan | 201B | Medium Brown | - | ○ | ||
| Black and White Gray* | 201B | Medium Silver | - | ○ | ||
| 3S0 | Garnet Red Mica | Ivory | 456B/012B | Medium Brown | ○ | ○ |
| Light Gray | 201B | Dark Gray | ○ | ○ | ||
| Black | 201B | Dark Gray | ○ | ○ | ||
| Garnet | 201B | Dark Gray | - | ○ | ||
| Saddle Tan | 201B | Medium Brown | - | ○ | ||
| Black and White Gray* | 201B | Medium Silver | - | ○ | ||
| 4V3 | Fire Agate Mica Metallic | Ivory | 456B/012B | Medium Brown | ○ | ○ |
| Light Gray | 201B | Dark Gray | ○ | ○ | ||
| Black | 201B | Dark Gray | ○ | ○ | ||
| Garnet | 201B | Dark Gray | - | ○ | ||
| Saddle Tan | 201B | Medium Brown | - | ○ | ||
| 4U7 | Sleek Ecru Metallic | Ivory | 456B/012B | Medium Brown | ○ | ○ |
| Light Gray | 201B | Dark Gray | ○ | ○ | ||
| Black | 201B | Dark Gray | ○ | ○ | ||
| Garnet | 201B | Dark Gray | - | ○ | ||
| Saddle Tan | 201B | Medium Brown | - | ○ | ||
| 8V3 | Lapis Lazuli Mica | Ivory | 456B/012B | Medium Brown | ○ | ○ |
| Light Gray | 201B | Dark Gray | ○ | ○ | ||
| Black | 201B | Dark Gray | ○ | ○ | ||
| Garnet | 201B | Dark Gray | - | ○ | ||
| Saddle Tan | 201B | Medium Brown | - | ○ | ||
| Black and White Gray* | 201B | Medium Silver | - | ○ | ||
Tech Tips
○: Available
-: Not Available
*: F SPORT