ENGINE UNIT DETAILS


  1. CONSTRUCTION


    1. Cylinder Head Cover Sub-assembly


      1. Lightweight yet high-strength aluminum cylinder head cover sub-assemblies are used.

      2. An oil delivery pipe is installed inside each cylinder head cover sub-assembly. This ensures lubrication to the sliding parts of the roller No. 1 valve rocker arm sub-assemblies, improving reliability.

        A019WDIE01
        Text in Illustration
        *1 Oil Delivery Pipe *2 Cylinder Head Cover Sub-assembly
        *3 Cylinder Head Cover Gasket - -
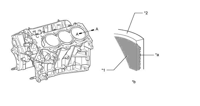
    2. Cylinder Head Gasket RH and No. 2 Cylinder Head Gasket LH


      1. Steel-laminate type cylinder head gaskets are used. A shim is used around the cylinder bore of each gasket to help enhance sealing performance and durability.

        A019WMZE02
        Text in Illustration
        *1 Shim - -
        *a Engine Front *b For Right Bank
        *c For Left Bank *d A - A Cross Section
    3. Cylinder Head Sub-assembly RH and Cylinder Head Sub-assembly LH


      1. The cylinder head structure is simplified by separating the cam journal portion (camshaft housing sub-assembly) from the cylinder head.

      2. The cylinder head, which is made of aluminum, contains pentroof-type combustion chambers. The spark plug is located in the center of the combustion chamber in order to improve the engine's anti-knock performance.

      3. The intake ports are on the inside and the exhaust ports on the outside of the left and right banks respectively.

      4. A taper squish combustion chamber is used to improve anti-knock performance and intake efficiency. In addition, engine performance and fuel economy are improved.

      5. Siamese type intake ports are used to reduce the overall surface area of the intake port walls. This prevents the fuel from adhering to the intake port walls, thus reducing HC exhaust emissions.

        A019WMRE07
        Text in Illustration
        *1 Spark Plug Hole *2 Intake Valve
        *3 Exhaust Valve *4 Camshaft Housing
        *5 Upper Intake Port - -
        *a Intake Side *b Exhaust Side
        *c View from Bottom *d A - A Cross Section
        *e Taper Squish Area - -

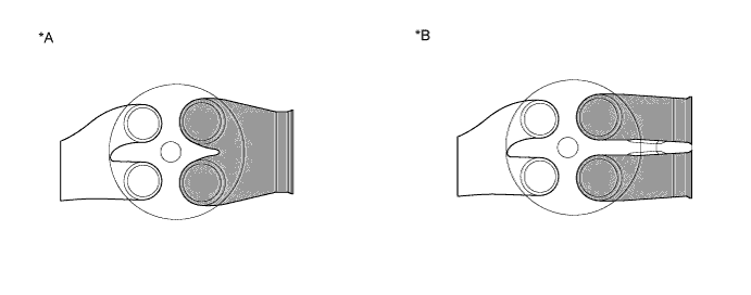
        Tech Tips

        The difference between a Siamese type intake port and independent type one is shown in the illustration below.

        A019WR1E02
        Text in Illustration
        *A Siamese Type *B Independent Type
    4. Cylinder Block Sub-assembly


      1. The cylinder block sub-assembly is made of aluminum alloy, so it is lightweight.

      2. The cylinder block sub-assembly has a bank angle of 60°, a bank offset of 36.6 mm (1.441 in.) and a bore pitch of 105.5 mm (4.15 in.), resulting in a compact block (length and width) for its displacement.

      3. Installation bosses for the 2 knock control sensors are located on the inside of the left and right banks.

        A019WDLE05
        Text in Illustration
        *1 Knock Control Sensor Boss - -
        *a 60° *b 36.6 mm (1.441 in.)
        *c 105.5 mm (4.15 in.) - -
      4. A water passage has been provided between the cylinder bores. By allowing the engine coolant to flow between the cylinder bores, this construction enables the temperature of the cylinder walls to be kept uniform.

        A019WMKE03
        Text in Illustration
        *1 Water Passage
      5. A compact block has been achieved by producing the thin cast-iron liners and cylinder block sub-assembly as a unit. It is not possible to rebore a block which uses this type of liner.

      6. The liners are a spiny-type, which have been manufactured so that their casting exterior forms a large irregular surface in order to enhance the adhesion between the liners and the aluminum cylinder block. The enhanced adhesion helps improve heat dissipation, resulting in a lower overall temperature and reduced heat deformation of the cylinder bores.

        A019WTPE03
        Text in Illustration
        *1 Liner *2 Cylinder Block
        *a Irregularly shaped outer casting surface of liner *b A - A Cross Section
    5. Piston


      1. The pistons are made of aluminum alloy.

      2. The top of the pistons use a taper squish shape to achieve fuel combustion efficiency.

      3. The piston skirt is coated with resin to reduce friction losses.

      4. The groove of the top ring is coated with alumite to ensure abrasion resistance.

      5. By increasing the machining precision of the cylinder bore diameter in the block, only one size piston is required.

        A019WULE01
        Text in Illustration
        *a Front Mark *b Resin Coating
        *c Taper Squish Shape *d Alumite Coating
    6. Connecting Rod Sub-assembly


      1. Connecting rod sub-assemblies that have been forged for high strength are used for weight reduction.

      2. Knock pins are used at the mating surfaces of the connecting rod caps to minimize the shifting of the connecting rod caps during assembly.

      3. Nutless-type plastic region tightening bolts are used on the connecting rod sub-assemblies for a lighter design.

      4. Aluminum bearings are used for the connecting rod bearings.

      5. The connecting rod bearings are reduced in width to reduce friction.

        A019WLBE02
        Text in Illustration
        *1 Plastic Region Tightening Bolt *2 Knock Pin
    7. Crankshaft


      1. A crankshaft made of forged steel, which excels in rigidity and wear resistance, is used.

      2. The crankshaft has 4 main bearing journals and 5 balance weights.

        A019WVAE04
        Text in Illustration
        *1 No. 1 Journal *2 No. 2 Journal
        *3 No. 3 Journal *4 No. 4 Journal
        *5 Balance Weight - -
        *a Engine Front - -
    8. Crankshaft Bearing and Crankshaft Bearing Cap


      1. The crankshaft main bearings are made of aluminum alloy.

      2. Similar to the connecting rod bearings, the lining surface of the crankshaft bearings is microgrooved to realize an optimal amount of oil clearance. As a result, cold-engine cranking performance is improved and engine vibration is reduced.

      3. The upper crankshaft bearings have an oil groove around the inside circumference.

      4. The crankshaft bearing caps are tightened using 4 plastic region tightening bolts for each journal. In addition, each cap is tightened laterally to improve its reliability.

        A019WEOE04
        Text in Illustration
        *1 Plastic Region Tightening Bolt *2 Crankshaft Bearing Cap
        *3 Seal Washer *4 Upper Crankshaft Bearing
        *5 Lower Crankshaft Bearing *6 Oil Groove
        *7 Micro-grooved surface - -
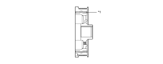
    9. Crankshaft Pulley


      1. The rigidity of the crankshaft pulley with its built-in torsional damper rubber reduces noise.

        A019WPZE02
        Text in Illustration
        *1 Torsional Damper Rubber
    10. Oil Pan


      1. The No. 1 oil pan is made of aluminum alloy.

      2. The No. 2 oil pan is made of steel.

      3. The No. 1 oil pan is secured to the cylinder block sub-assembly and the transaxle housing to increase rigidity.

      4. The oil filter case is integrated with the oil pan sub-assembly.

        A019WF9E01
        Text in Illustration
        *1 No. 1 Oil Pan *2 No. 2 Oil Pan
        *3 Oil Filter Case - -
    11. Valve Mechanism


      1. Each cylinder of this engine has 2 intake valves and 2 exhaust valves. Intake and exhaust efficiency is increased due to the larger total port areas.

      2. This engine uses roller rocker arm with built-in needle bearings. This reduces the friction that occurs between the cams and the roller rocker arms that push the valves down, thus improving fuel economy.

      3. Hydraulic valve lash adjuster assemblies, which maintain a constant zero valve clearance through the use of oil pressure and spring force, are used.

      4. The intake camshafts are driven by the crankshaft via the primary timing chain. The exhaust camshafts are each driven by the intake camshaft of their respective bank via a secondary chain.

      5. This engine has the Variable Valve Timing-intelligent (VVT-i) system which controls the intake camshafts to provide optimal valve timing according to driving conditions. With this, lower fuel consumption, higher engine performance, and fewer exhaust emissions are achieved.

        A019WGJE01
        Text in Illustration
        *1 No. 2 Chain Sub-assembly (Secondary) *2 Camshaft (RH, Intake)
        *3 No. 3 Camshaft (LH, Intake) *4 Roller No. 1 Valve Rocker Arm Sub-assembly
        *5 Valve Spring Retainer *6 Valve Spring
        *7 Valve Spring Seat *8 Hydraulic Valve Lash Adjuster Assembly
        *9 Valve *10 Valve Guide Bush
        *11 No. 4 Camshaft (LH, Exhaust) *12 Chain Sub-assembly (Primary)
        *13 No. 2 Camshaft (RH, Exhaust) - -
    12. Valve Timing

      Intake camshaft Open -11° to 29° BTDC
      Close 101° to 61° ABDC
      Exhaust camshaft Open 36° BBDC
      Close 8° ATDC
      A019WCPE01
    13. Camshaft


      1. The camshafts are made of cast iron alloy.

      2. Oil passages are provided on the intake camshafts in order to supply engine oil to the VVT-i system.

      3. Camshaft timing gear assemblies (LH and RH) are installed on the front of the camshafts to vary the timing of the intake valves.

      4. Together with the use of the roller No.1 valve rocker arm sub-assemblies, the cam profile has been modified. This results in increased valve lift when the valve begins to open and as it finishes closing, helping to achieve enhanced output performance.

        A019WBEE01
        Text in Illustration
        *1 No. 2 Camshaft (RH, Exhaust) *2 Camshaft (RH, Intake)
        *3 Timing Rotor *4 Camshaft Timing Gear Assembly
        *5 No. 3 Camshaft (LH, Intake) *6 No. 4 Camshaft (LH, Exhaust)
        *a Increased Valve Lift *b Modified profile of camshaft lobe
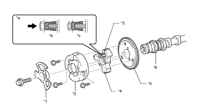
    14. Camshaft Timing Gear Assembly (Intake)


      1. The intake camshaft timing gear each consist of an outer housing that is driven by the timing chain sprocket, and a vane sub-assembly that is coupled to each intake camshaft.

      2. The camshaft timing gear assembly uses a vane sub-assembly with 3 lobes.

      3. When the engine stops, each intake camshaft timing gear assembly is locked at the most retarded angle by its lock pin. This ensures excellent engine startability.

      4. The oil pressure sent from the advance or retard side passages of the intake camshafts causes rotation of the vane sub-assembly relative to the timing chain sprocket, to vary the valve timing continuously.

        A019WOGE04
        Text in Illustration
        *1 Timing Rotor *2 Outer Housing
        *3 Lock Pin *4 Vane Sub-assembly (Coupled to Camshaft (Intake))
        *5 Timing Chain Sprocket *6 Camshaft (Intake)
        *a Oil Pressure *b Engine Operating
        *c Engine Stopped - -
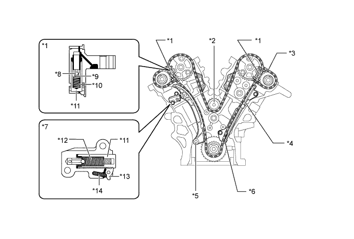
    15. Chain Sub-assemblies and Chain Tensioner Sub-assemblies


      1. The primary and secondary chains are roller chains with a pitch of 9.525 mm (0.375 in.).

      2. All chain sub-assemblies are lubricated by an oil jet.

      3. The primary chain uses a chain tensioner sub-assembly and each of the secondary chains use a No. 2 chain tensioner sub-assembly.

      4. Both types of chain tensioner use a spring and oil pressure to maintain proper chain tension at all times. They suppress noise generated by the chains.

      5. The chain tensioner sub-assembly (primary) is a ratcheting type with a non-return mechanism.

        A019WIHE01
        Text in Illustration
        *1 No. 2 Chain Tensioner Sub-assembly (Secondary) *2 Idle Sprocket Assembly
        *3 No. 2 Chain Sub-assembly (Secondary) *4 Chain Sub-assembly (Primary)
        *5 Chain Tensioner Slipper *6 No.1 Chain Vibration Damper
        *7 Chain Tensioner Sub-assembly (Primary) *8 Ball
        *9 Ball Spring *10 Main Spring
        *11 Plunger *12 Spring
        *13 Cam *14 Cam Spring
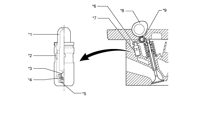
    16. Hydraulic Valve Lash Adjuster Assembly


      1. The hydraulic lash adjuster, which are located at the fulcrum (pivot point) of the roller valve rocker arms, each consist primarily of a plunger, plunger spring, check ball, and check ball spring.

      2. Both the engine oil that is supplied by the cylinder head sub-assembly and the built-in spring actuate the hydraulic valve lash adjuster assembly. The oil pressure and the spring force that act on the plunger push the roller No.1 valve rocker arm sub-assembly against the cam, in order to adjust the clearance between the valve stem and the roller No.1 valve rocker arm sub-assembly. This prevents the generation of noise during the opening and closing of the valves. As a result, engine noise is reduced.

        A019WGIE03
        Text in Illustration
        *1 Plunger *2 Oil Passage
        *3 Check Ball *4 Check Ball Spring
        *5 Plunger Spring *6 Hydraulic Valve Lash Adjuster Assembly
        *7 Oil Passage *8 Cam
        *9 Roller No. 1 Valve Rocker Arm Sub-assembly - -
    17. Engine Mount


      1. To support the engine, the engine mounts are located at 4 points, the front, rear, right and left. The location and characteristics of each engine mount have been optimized, allowing for low noise and vibration.

      2. Liquid-filled compound engine mounts are used for the front, right and left engine mounts to realize low noise and vibration and to achieve high levels of both ride comfort and drivability.

      3. A torque rod is adopted to control engine movement in the roll direction.

        A019WNJE01
        Text in Illustration
        *1 Torque Rod *2 Torque Rod Bracket
        *3 Front Engine Mount (Liquid-filled Compound Engine Mount) *4 Left Engine Mount (Liquid-filled Compound Engine Mount)
        *5 Right Engine Mount (Liquid-filled Compound Engine Mount) *6 Rear Mount
    18. V-ribbed Belt


      1. The water pump is driven by a single V-ribbed belt.

      2. An automatic tensioner eliminates the need for tension adjustment.

        A019WBGE01
        Text in Illustration
        *1 Water Pump Pulley *2 Crankshaft Pulley
        *3 Idler Pulley for Automatic Tensioner - -
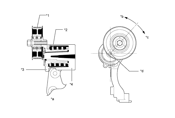
    19. V-ribbed Belt Tensioner Assembly


      1. The tension of the V-ribbed belt is properly maintained by the tension spring that is enclosed in the belt tensioner.

        A019WNRE01
        Text in Illustration
        *1 Idler Pulley *2 Spring
        *3 Arm *4 Bracket
        *a Cross Section *b Belt Pulling Direction
        *c Belt Tension Direction *d Fulcrum