СИСТЕМА АВТОМАТИЧЕСКОЙ ТРАНСМИССИИ ДЕТАЛЬНОЕ ОПИСАНИЕ


  1. УПРАВЛЕНИЕ В СИСТЕМЕ


    1. Электронная система управления автоматической трансмиссией U660F выполняет перечисленные ниже функции.

      Функция управления Описание
      Управление порядком переключения передач Исходя из сигналов различных датчиков TCM подает ток в электромагнитные клапаны переключения передач SL1, SL2, SL3, SL4, SL и SLU для переключения передач.
      Регулирование давления между муфтами Система регулирует давление, которое подается непосредственно на муфты C1, C2 и тормоза B1, B3, путем управления электромагнитными клапанами переключения передач (SL1, SL2, SL3 и SL4) в соответствии с сигналами TCM.
      Оптимальное управление линейным давлением Посредством электромагнитного клапана переключения передач SLT система управляет линейным давлением согласно данным TCM и режиму работы трансмиссии.
      Регулировка моментов включения/выключения блокировки Исходя из сигналов различных датчиков TCM подает ток в электромагнитные клапаны переключения передач SL и SLU, включая или выключая муфту блокировки.
      Гибкое управление муфтой блокировки Путем управления электромагнитным клапаном переключения передач SLU муфта блокировки устанавливается в промежуточное состояние между включенным и выключенным состояниями, в результате чего расширяется рабочий диапазон муфты блокировки, и обеспечивается экономия топлива.
      Координированное управление силовой передачей Система совместно управляет переключением передач и мощностью двигателя для достижения превосходных характеристик переключения и управляемости.
      Управление понижением передач при замедлении Чтобы предотвратить снижение частоты вращения коленчатого вала двигателя и тем самым сохранить отсечку топлива, TCM выполняет переключения на более низкие передачи, прежде чем закончится отсечка топлива.
      Непосредственное понижение передач В системе обеспечивается непосредственное понижение передач. Это дает автомобилю возможность переключаться непосредственно с 6-й передачи на 3-ю или с 5-й передачи на 2-ю, что позволяет избегать излишних переключений и сокращает время перехода на более низкую передачу при резком нажатии педали акселератора.
      Интеллектуальное управление переключением передач (управление AI-shift) На основании сигналов от различных датчиков TCM оценивает дорожные условия и намерение водителя. В результате автоматически определяется оптимальная схема переключения передач, что улучшает управляемость.
      Автоматическое управление в режиме "multimode"
      • Когда рычаг переключения передач находится в положении S, TCM управляет работой автоматической трансмиссии в соответствии с выбранным диапазоном.

      • Управление переключателем управления переключением "-" (ВНИЗ), когда рычаг переключения передач находится в положении D, позволяет временно включить режим S. Временный режим S обеспечивает фиксацию, как в положении S, но при этом рычаг переключения передач остается в положении D*.

      Система блокировки селектора Механизм блокировки селектора не позволяет устанавливать рычаг переключения передач в какое-либо положение помимо P, если выключатель зажигания не находится в состоянии ON (ВКЛ) (IG), и не нажата педаль тормоза.
      Диагностика Когда TCM обнаруживает неисправность, он регистрирует ее и сохраняет в памяти связанную с ней информацию.
      Работа в аварийном режиме При обнаружении неисправности в датчиках или электромагнитных клапанах TCM переходит в аварийный режим управления, чтобы предотвратить существенное ухудшение управляемости автомобиля.

      • *: Для комплектации "F SPORT"

    2. Регулирование давления между муфтами


      1. Для управления переключением передач используется регулирование давления между муфтами. В результате управление переключением на 2-й и более высоких передачах осуществляется без применения муфты свободного хода, благодаря чему автоматическая трансмиссия стала легче и компактнее.

      2. При переключении передач TCM оптимизирует давление жидкости и моменты переключения, управляя каждой муфтой и каждым тормозом исходя из частот вращения на входе и выходе трансмиссии, крутящего момента двигателя и прочих данных. TCM изменяет передачи посредством контуров давления жидкости, которые позволяют независимо управлять муфтами и тормозами (C1, C2, B1 и B3), и электромагнитных клапанов переключения передач SL1, SL2, SL3 и SL4 с высокой пропускной способностью, которые непосредственно регулируют линейное давление. В результате достигаются высокая чувствительность и превосходные характеристики переключения передач.

        A019Q3LE02
    3. Оптимальное управление линейным давлением


      1. Линейное давление регулируется с использованием электромагнитного клапана переключения передач SLT.

      2. Посредством электромагнитного клапана переключения передач SLT система поддерживает оптимальное линейное давление в соответствии с данными о крутящем моменте двигателя и режимами работы гидротрансформатора и трансмиссии.

      3. Это дает возможность точно регулировать линейное давление в зависимости от мощности двигателя, условий движения и температуры ATF, вследствие чего обеспечивается плавность переключения передач, и оптимизируется рабочая нагрузка масляного насоса (уменьшаются паразитные потери).

        A019PQ1E01
    4. Регулировка моментов включения/выключения блокировки


      1. Когда рычаг переключения передач находится в положении D, либо выбран диапазон S6, S5 или S4, TCM регулирует моменты включения/выключения блокировки, обеспечивая снижение расхода топлива на 2-й и более высоких передачах.

        A019PTVE01
        Действие блокировки:
        Передача Диапазон или положение рычага переключения передач
        D или S6 S5 S4
        1-я X X X
        2-я
        3-я
        4-я
        5-я -
        6-я - -

        • ○: действует

        • X: не действует

        • -: не применимо

    5. Гибкое управление муфтой блокировки


      1. При разгоне управление распределением мощности между муфтой блокировки и гидротрансформатором значительно увеличивает КПД силовой передачи в соответствии с условиями движения, что способствует повышению экономии топлива.

      2. Гибкое управление муфтой блокировки действует даже при замедлении автомобиля (когда педаль акселератора опущена). Как следствие, расширяется зона отсечки топлива двигателя, а также снижается расход топлива.

      3. За счет сохранения действия гибкого управления муфтой блокировки во время переключения передач достигается плавная передача крутящего момента. В результате дополнительно повышается экономия топлива, и улучшается управляемость.

      4. Для гибкого управления блокировкой используется нелинейное управление "H-бесконечность" (H∞), что обеспечивает высокую устойчивость системы и быструю реакцию на изменения различных характеристик.

        A019Q92E02
      5. Для снижения расхода топлива рабочий диапазон муфты блокировки расширен до низких скоростей.

        A019Q29E01
        Действие гибкой блокировки:
        Передача Диапазон или положение рычага переключения передач
        D или S6 S5 S4
        1-я X X X
        2-я
        3-я
        4-я ○* ○* ○*
        5-я ○* ○* -
        6-я ○* - -

        • ○: действует

        • X: не действует

        • -: не применимо

        • *: гибкое управление муфтой блокировки также действует при замедлении автомобиля.

    6. Координированное управление силовой передачей


      1. Когда автомобиль трогается с места, интеллектуальная электронная система управления дроссельной заслонкой (ETCS-i) в реальном времени оптимально регулирует мощность двигателя в соответствии с крутящим моментом гидротрансформатора в переходном режиме. Это обеспечивает "ослабление ощущения крена вперед", "ослабление заноса колес" и "улучшение быстроты реакции", что гарантирует превосходные стартовые характеристики.

        A019PPYE03
      2. Во время замедления TCM определяет передачу, которая должна быть установлена после отпускания (полного) педали акселератора, по характеру отпускания педали акселератора (т.е. в зависимости от того, быстро или медленно отпускается педаль). В результате во время замедления исключаются ненужные переключения на более высокие передачи, не соответствующие намерениям водителя. Кроме того, при повторном разгоне автомобиля исключаются ненужные переключения на более низкие передачи, что обеспечивает плавный разгон.

        A019PW8E01
      3. За счет координации управления с интеллектуальной электронной системой управления дроссельной заслонкой (ETCS-i) и электронной системой регулирования угла опережения зажигания (ESA), а также электронного управления скоростью подачи/сброса гидравлических давлений сцепления и торможения достигаются высокое быстродействие и ослабление толчков при включении передач.

        A019Q3WE01
    7. Управление понижением передач при замедлении


      1. TCM управляет понижением передач, ограничивая уменьшение частоты вращения коленчатого вала двигателя и, тем самым, максимально долго сохраняя отсечку топлива. В результате повышается экономия топлива.

      2. Благодаря этому управлению, когда автомобиль начинает замедлять ход на 6-й передаче, трансмиссия переключается с 6-й передачи на 5-ю, а затем с 5-й передачи на 4-ю до возобновления подачи топлива с тем, чтобы отсечка топлива не прекращалась.

        A019PX4E01
    8. Непосредственное понижение передач


      1. При обычном управлении понижением передач переключение с 6-й передачи на 3-ю или с 5-й передачи на 2-ю производится через промежуточные передачи, чтобы обеспечить плавную характеристику разгона. В дополнение к обычному управлению в данном автомобиле используется непосредственное понижение передач. В этом режиме управления ненужные промежуточные переключения пропускаются, что позволяет автомобилю переключаться непосредственно с 6-й передачи на 3-ю или с 5-й передачи на 2-ю.

      2. Непосредственное понижение передач происходит при резком нажатии педали акселератора и дает возможность переключаться непосредственно на требуемые более низкие передачи за короткое время, исключая лишние переключения. При непосредственном понижении передач особое внимание уделяется сокращению времени, затрачиваемому на включение необходимой передачи. Когда педаль акселератора нажимается медленно, используется обычное управление понижением передач, что обеспечивает плавную характеристику разгона. Таким образом, описанная логика позволяет изменять быстроту понижения передач в соответствии с намерениями водителя.

        A019QAUE01
    9. Интеллектуальное управление переключением передач (управление AI-shift)


      1. Передача автоматической трансмиссии определяется схемой переключения передач и выбирается исходя из скорости автомобиля и угла поворота дроссельной заслонки.

      2. При этом управление AI-shift дает TCM возможность оценивать дорожные условия и намерение водителя, чтобы автоматически оптимальным образом корректировать схему переключения передач. Как следствие, обеспечивается комфортный ход.

      3. Управление AI-shift включает в себя вспомогательное управление в зависимости от дорожных условий и вспомогательное управление в зависимости от намерения водителя.

      4. Управление AI-shift оптимизирует управление трансмиссией исходя из входных сигналов и автоматически изменяет схему переключения передач.

        A019Q70E01
      5. Реализуя вспомогательное управление в зависимости от дорожных условий, TCM определяет угол поворота дроссельной заслонки, скорость автомобиля, а также направление движения автомобиля на склоне (вверх или вниз). Чтобы обеспечить оптимальное тяговое усилие при движении вверх по склону, данное управление исключает лишние переключения на более высокие передачи. Чтобы обеспечить оптимальное торможение двигателем при движении вниз по склону, данное управление автоматически понижает передачи.

        A019PSDE01
      6. Исходя из состояния педали акселератора и режима работы автомобиля TCM оценивает намерение водителя, чтобы выбрать схему переключения, наиболее подходящую конкретному водителю, и избавить последнего от необходимости использовать переключатель выбора режима, применяемый в обычных моделях.

    10. Автоматическое управление в режиме "multimode"


      1. Режим автоматического управления "multimode" позволяет водителю переключать диапазоны передач. После перевода рычага переключения передач в положение S водитель получает возможность выбрать желаемый диапазон передач, смещая рычаг переключения в положение "+" или "-". Таким образом, водитель может переключать передачи по ощущению, как в механической трансмиссии.

      2. Режим автоматического управления "multimode" предназначен только для переключения диапазонов передач, он не позволяет водителю вручную выбирать отдельные передачи.

      3. Когда автомобиль движется со скоростью, превышающей максимальную безопасную скорость для понижения передачи, все попытки выбрать более низкий диапазон с помощью рычага переключения передач игнорируются. Это реализовано, чтобы защитить автоматическую трансмиссию. В то же время ECM дважды включает зуммер на щитке приборов для предупреждения водителя.

        A019PR3E02
      4. Водитель может установить режим S, переместив рычаг переключения передач в положение S. При этом в зависимости от скорости автомобиля будет выбран 4-й или 5-й диапазон передач (в ходе управления AI-shift может быть выбран 3-й диапазон передач). Затем, при каждом перемещении водителем рычага переключения передач вперед (положение "+") или назад (положение "-") диапазоны переключения передач будут поочередно изменяться.

      5. При таком управлении TCM оптимальным образом управляет переключением передач в выбранном водителем приемлемом диапазоне. Когда автомобиль останавливается, выполняется переключение на 1-ю передачу (как в обычной автоматической трансмиссии).

      6. Положение рычага переключения передач и диапазон передач указываются посредством контрольной лампы включенной передачи на щитке приборов (индикация диапазона передач имеет место только в положении S рычага переключения передач и отсутствует, когда рычаг переключения передач находится в положении P, R, N или D).

      7. При установке рычага переключения передач в положение S, загорается контрольная лампа режима S на щитке приборов. Контрольные лампы включенной передачи указывают диапазон передач, выбранный водителем.

      8. При удержании рычага переключения передач (предварительно установленного в положение S) в положении "+" независимо от текущего диапазона (S1-S5) устанавливается диапазон передач S6.

      9. Чтобы предотвратить чрезмерное увеличение частоты вращения коленчатого вала двигателя, предусмотрена функция, которая автоматически выбирает более высокий диапазон передач, прежде чем частота вращения оказывается слишком большой.

      10. Кроме того, чтобы защитить автоматическую трансмиссию, реализована функция, которая автоматически выбирает более высокий диапазон передач при повышенной температуре трансмиссионной жидкости.

        A019PROE02
        Таблица допустимых передач:
        Диапазон передач Контрольная лампа диапазона передач Допустимые передачи
        S6 6 1-я - 6-я
        S5 5 1-я - 5-я
        S4 4 1-я - 4-я
        S3 3 1-я - 3-я
        S2 2 1-я - 2-я
        S1 1 1-я
    11. Автоматическое управление в режиме "multimode" (F SPORT)


      1. Режим автоматического управления "multimode" позволяет водителю переключать диапазоны передач. После перевода рычага переключения передач в положение S водитель получает возможность выбрать желаемый диапазон передач, смещая рычаг переключения в положение "+" или "-". Таким образом, водитель может переключать передачи по ощущению, как в механической трансмиссии.

      2. Режим автоматического управления "multimode" предназначен только для переключения диапазонов передач, он не позволяет водителю вручную выбирать отдельные передачи.

      3. Когда автомобиль движется со скоростью, превышающей максимальную безопасную скорость для понижения передачи, все попытки выбрать более низкий диапазон с помощью рычага переключения передач игнорируются. Это реализовано, чтобы защитить автоматическую трансмиссию. В то же время ECM дважды включает зуммер на щитке приборов для предупреждения водителя.

        A019PW5E01
      4. На моделях с переключателем управления переключением в дополнение к рычагу переключения передач предусмотрен переключатель управления переключением на рулевом колесе, позволяющий переключать передачи так же, как в механической трансмиссии.

      5. Водитель может установить режим S, переместив рычаг переключения передач в положение S. При этом в зависимости от скорости автомобиля будет выбран 4-й или 5-й диапазон переключения передач (в ходе управления AI-shift может быть выбран 3-й диапазон передач).

      6. При таком управлении блок управления трансмиссией управляет переключением передач в выбранном водителем приемлемом диапазоне. Когда автомобиль останавливается, выполняется переключение на 1-ю передачу (как в обычной автоматической трансмиссии).

      7. Положение рычага переключения передач и диапазон передач указываются посредством контрольной лампы включенной передачи на щитке приборов (индикация диапазона передач имеет место только в положении S рычага переключения передач и отсутствует, когда рычаг переключения передач находится в положении P, R, N или D).

      8. При установке рычага переключения передач в положение S, загорается контрольная лампа режима S на щитке приборов. Контрольные лампы включенной передачи указывают диапазон переключения передач, выбранный водителем.

      9. При удержании рычага переключения передач (предварительно установленного в положение S) в положении "+" независимо от текущего диапазона (S1-S5) устанавливается диапазон передач S6.

      10. Чтобы предотвратить чрезмерное увеличение частоты вращения коленчатого вала двигателя, предусмотрена функция, которая автоматически выбирает более высокий диапазон передач, прежде чем частота вращения оказывается слишком большой.

      11. Кроме того, чтобы защитить автоматическую трансмиссию, реализована функция, которая автоматически выбирает более высокий диапазон передач при повышенной температуре трансмиссионной жидкости.

        A019PROE02
        Таблица допустимых передач:
        Диапазон передач Контрольная лампа диапазона передач Допустимые передачи
        S6 6 1-я - 6-я
        S5 5 1-я - 5-я
        S4 4 1-я - 4-я
        S3 3 1-я - 3-я
        S2 2 1-я - 2-я
        S1 1 1-я
    12. Система блокировки селектора


      1. Система блокировки селектора работает под управлением ЭБУ блокировки селектора.

      2. Механизм блокировки селектора не позволяет устанавливать рычаг переключения передач в какое-либо положение помимо P, если выключатель зажигания не находится в состоянии ON (ВКЛ) (IG), и не нажата педаль тормоза. Этот механизм помогает предотвратить непреднамеренный разгон.

      3. В систему блокировки селектора входят, прежде всего, ЭБУ блокировки селектора, соленоид блокировки селектора и кнопка ручной разблокировки селектора.

        A019PSOE01
      4. ЭБУ блокировки селектора определяет положение рычага переключения передач с помощью датчика положения P, а также принимает сигналы от выключателя стоп-сигналов и ЭБУ распределения питания. Исходя из этих сигналов ЭБУ блокировки селектора включает соленоид блокировки селектора с тем, чтобы разблокировать рычаг переключения передач.

  2. ФУНКЦИИ


    1. Переключатель управления переключением (F SPORT)


      1. Когда рычаг переключения передач находится в положении S, диапазоны передач можно изменять с помощью переключателей управления переключением, которые находятся под рулевым колесом. При каждом оттягивании правого (+) или левого (-) переключателя управления переключением происходит переключение на один диапазон.

      2. Во время движения, когда рычаг переключения передач находится в положении D, можно временно включить режим S при помощи переключателей "+" или "-" переключателя управления переключением. Когда временно выбран режим S, на щитке приборов загораются обе контрольные лампы режима D (временный режим S) и отображается выбранный диапазон переключения передач. Когда рычаг переключения передач находится в положении D и при этом задействован переключатель "-" переключателя управления переключением, временно включается режим S и выбирается диапазон переключения передач, соответствующий выбранной или пониженной передаче.

      3. Временный режим S отключается при выполнении следующих условий.

        Функция управления Описание
        Когда автомобиль остановлен Возвращение в режим D.
        Когда педаль акселератора нажимается в течение заданного времени.
        Когда во время движения автомобиля "+" переключателя управления переключением задействуется в течение одной секунды или более.
        Когда рычаг переключения передач переводится в положение S. Переходит из временного режима S в режим S.
    2. Режим ECT SNOW


      1. С помощью переключателя мультиинформационного дисплея на рулевом колесе (переключателя на рулевом колесе в сборе) можно войти в режим переключения передач мультиинформационного дисплея и выбрать режим ECT SNOW.

        После включения режима ECT SNOW загорится контрольная лампа ECT SNOW на щитке приборов.

      2. В режиме ECT SNOW осуществляется регулирование тягового усилия, развиваемого при нажатии педали тормоза. Это позволяет обеспечить плавное трогание с места на покрытых снегом и скользких поверхностях.

        A019PSME02
  3. КОНСТРУКЦИЯ


    1. Гидротрансформатор в сборе


      1. В трансмиссии используется компактный облегченный мощный гидротрансформатор.

      2. Благодаря оптимальной конструкции гидравлических каналов и рабочего колеса гидротрансформатора существенно увеличен КПД трансмиссии, что привело к улучшению характеристик пуска и разгона, и позволило снизить расход топлива.

      3. Кроме того, в гидротрансформаторе используется механизм гидравлической блокировки, который устраняет потери из-за проскальзывания при передаче мощности на средних и высоких частотах вращения.

        A019Q5QE04
        Обозначения на рисунке
        *1 Муфта блокировки *2 Демпфер муфты блокировки
        *3 Муфта свободного хода *4 Статор
        *5 Ротор турбины *6 Рабочее колесо насоса
    2. Масляный насос в сборе


      1. Масляный насос приводится в движение гидротрансформатором. Он смазывает планетарные редукторы и создает рабочее давление жидкости для гидропривода.

      2. Для снижения массы конструкции крышка насоса изготавливается из алюминия.

        A019PX8E01
        Обозначения на рисунке
        *1 Корпус переднего масляного насоса и шестерен в сборе *2 Ведущая шестерня переднего масляного насоса
        *3 Ведомая шестерня переднего масляного насоса *4 Вал статора в сборе
    3. Сетчатый масляный фильтр


      1. Войлочный сетчатый масляный фильтр характеризуется малым весом, превосходной грязеулавливающей способностью и повышенной надежностью. Кроме того, он не нуждается в обслуживании.

        A019PVPE01
        Обозначения на рисунке
        *1 Сетчатый масляный фильтр *2 Масляный поддон
    4. Порядок заправки трансмиссии трансмиссионной жидкостью


      1. Благодаря особому порядку заправки ATF достигается точная установка уровня ATF при ремонте или замене трансмиссии. Применяемые в обычной автоматической трансмиссии патрубок маслоналивной горловины и маслоизмерительный щуп более не используются, что устраняет необходимость проверять уровень жидкости в ходе планового технического обслуживания.

      2. В процессе заправки используются пробка наливного отверстия, пробка переливного отверстия, датчик температуры ATF и индикатор положения D. Порядок заправки трансмиссионной жидкостью подробно рассмотрен в руководстве по ремонту.

        A019Q5OE02
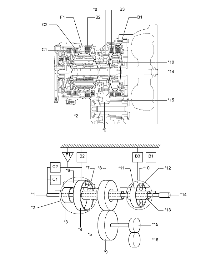
    5. Планетарный редуктор


      1. 6-ступенчатая конструкция трансмиссии реализована за счет использования 2 планетарных редукторов.

      2. Задний планетарный редуктор представляет собой редуктор типа Ravigneaux. Он состоит из пар входящих в одноступенчатую планетарную передачу солнечных шестерен (передней и задней) и сателлитов планетарной передачи (длинного и короткого) с различными диаметрами.

      3. В муфтах C1 и C2, приводимых в действие при переключении передач в диапазоне с 1-й по 6-ю, использован механизм подавления центробежной составляющей давления жидкости.

      4. Благодаря оптимальной форме канавок во фрикционных накладках тормозов и дисков сцепления уменьшается прихватывание.

        A019PQOE01
        Обозначения на рисунке
        *1 Промежуточный вал *2 Планетарный редуктор Ravigneaux
        *3 Задняя солнечная шестерня *4 Коронная шестерня
        *5 Передняя солнечная шестерня *6 Длинный сателлит
        *7 Короткий сателлит *8 Промежуточная приводная шестерня
        *9 Промежуточная ведомая шестерня *10 Блок понижающей планетарной передачи
        *11 Коронная шестерня *12 Ведущая шестерня (сателлит)
        *13 Солнечная шестерня *14 Первичный вал
        *15 Ведущая шестерня дифференциала *16 Коронная шестерня
      5. Назначение муфт и тормозов рассматривается ниже.

        Устройство Функция
        C1 Муфта № 1 Соединяет промежуточный вал и солнечную шестерню задней планетарной передачи Ravigneaux.
        C2 Муфта № 2 Соединяет промежуточный вал и коронную шестерню планетарной передачи Ravigneaux.
        B1 Тормоз № 1 Препятствует вращению солнечной шестерни передней планетарной передачи Ravigneaux и водила понижающей планетарной передачи по часовой стрелке или против часовой стрелки.
        B2 Тормоз № 2 Препятствует вращению коронной шестерни планетарной передачи Ravigneaux по часовой стрелке или против часовой стрелки.
        B3 Тормоз № 3 Препятствует вращению коронной шестерни понижающей планетарной передачи по часовой стрелке или против часовой стрелки.
        F1 Муфта свободного хода № 1 Препятствует вращению коронной шестерни планетарной передачи Ravigneaux против часовой стрелки.
        Шестерни планетарной передачи Эти шестерни изменяют путь передачи движущей силы в зависимости от состояния каждой муфты и каждого тормоза с целью увеличения или уменьшения частот вращения на входе и выходе.
    6. Механизм подавления центробежной составляющей давления жидкости


      1. Механизм подавления центробежной составляющей давления жидкости применяется в муфтах C1 и C2 по следующей причине.

      2. На переключение муфт влияет не только корпус клапанов, который регулирует давление жидкости, но и центробежная составляющая давления жидкости, присутствующей в поршневой напорной камере муфты (камера A). В механизме подавления центробежной составляющей давления жидкости используется камера B, которая уменьшает действие центробежной составляющей давления жидкости в камере A. В результате обеспечиваются плавное переключение и отличное быстродействие.

        A019POZE01
      3. Камера B заполняется жидкостью, подводимой к валу для смазки. В результате заполнения камеры B с обеих сторон поршня создаются одинаковые давления жидкости, обусловленные центробежной силой. Как следствие, нейтрализуется действие центробежной составляющей давления жидкости на поршень. Таким образом, устраняется необходимость сливать жидкость через шариковый обратный клапан, благодаря чему обеспечиваются высокое быстродействие и плавность переключения передач.

        A019Q6AE02
    7. Промежуточная приводная шестерня


      1. Опорами для промежуточной приводной шестерни и планетарного редуктора Ravigneaux служат радиально-упорные подшипники, что обеспечивает снижение сопротивления качению и уровня шума.

        A019PRHE02
    8. Поршни тормозов и муфт


      1. Применяются поршни 2 типов: неразрезной поршень, который приводит в действие муфту № 1 (C1) за счет поступательного движения, и разрезной поршень, который приводит в действие муфту № 2 (C2) за счет возвратного движения. Эти 2 типа поршней обеспечивают повышение компактности конструкции сцепления в целом.

      2. Когда разрезной поршень приводится в действие, из-за дребезга, вызванного разрезной частью поршня, происходит прихватывание муфты сцепления. Однако благодаря пружинам, размещенным на окружности поршня, этот дребезг ослабляется, и прихватывание муфты сцепления минимизируется.

      3. За счет установки поршня для тормоза № 3 (B3) вокруг промежуточной приводной шестерни удалось повысить компактность конструкции тормоза.

        A019Q4BE01
        Обозначения на рисунке
        *1 Пружина *2 Поршень (разрезной)
        *3 Поршень (неразрезной) *4 Разрезная часть
        *5 Поршень *6 Промежуточная приводная шестерня
    9. Корпус клапанов трансмиссии в сборе


      1. Корпус клапанов трансмиссии в сборе состоит из верхнего корпуса клапанов № 1, верхнего корпуса клапанов № 2 и нижнего корпуса клапанов, и вмещает 7 электромагнитных клапанов переключения передач (SL1, SL2, SL3, SL4, SLU, SLT, SL).

        A019Q9ZE01
        Обозначения на рисунке
        *1 Электромагнитный клапан переключения передач SLU *2 Электромагнитный клапан переключения передач SL1
        *3 Электромагнитный клапан переключения передач SL4 *4 Электромагнитный клапан переключения передач SLT
        *5 Электромагнитный клапан переключения передач SL2 *6 Электромагнитный клапан переключения передач SL
        *7 Электромагнитный клапан переключения передач SL3 *8 Верхний корпус клапанов № 2
        *9 Пластина *10 Верхний корпус клапанов № 1
        *11 Нижний корпус клапанов *12 Электромагнитный регулирующий клапан
        *13 Клапан управления B2 *14 Регулирующий клапан B2
        *15 Регулирующий клапан управления сцеплением *16 Клапан управления сцеплением
        *17 Клапан последовательности *18 Первичный клапан-регулятор
        *19 Регулирующий клапан B1 *20 Верхний корпус клапанов № 1
        A019QAYE01
        Обозначения на рисунке
        *1 Клапан управления блокировкой *2 Релейный клапан блокировки
        *3 Реверсивный клапан последовательности *4 Вспомогательный клапан-регулятор
        *5 Верхний корпус клапанов № 2 *6 Нижний корпус клапанов
    10. Электромагнитные клапаны переключения передач SL1, SL2, SL3, SL4, SLU и SLT


      1. Электромагнитные клапаны переключения передач SL1, SL2, SL3, SL4, SLU и SLT создают в гидравлической системе давление, пропорциональное силе тока, протекающего через катушку электромагнита, и таким образом линейно регулируют линейное (магистральное) давление, а также давления включения муфт (сцепления) и тормозов на основе сигналов от TCM.

      2. Электромагнитные клапаны переключения передач SL1, SL2, SL3 и SL4 представляют собой линейные электромагнитные клапаны повышенного расхода, которые способны создавать большее давление по сравнению с обычными клапанами. Эти электромагнитные клапаны управляют сцепляющими механизмами, регулируя линейное давление без использования клапанов регулирования давления (клапанов управления) и редукционных клапанов (электромагнитных регулирующих клапанов). Такая конструкция позволяет сократить количество клапанов и длину гидравлического канала корпуса клапанов, благодаря чему повышается быстродействие механизма переключения, и значительно ослабляется толчок при включении передачи.

        A019PQVE04
        A019QB3E02
        Электромагнитный клапан переключения передач Функция
        SL1 Регулирование давления муфты C1
        SL2 Регулирование давления муфты C2
        SL3 Регулирование давления тормоза B1
        SL4 Регулирование давления тормоза B3
        SLU

        - Регулирование давления муфты блокировки

        - Регулирование давления тормоза B2

        SLT Управление линейным давлением
    11. Электромагнитный клапан переключения передач SL


      1. Электромагнитный клапан переключения передач SL представляет собой 3-ходовой электромагнитный клапан.

      2. Для улучшения эксплуатационной надежности упор электромагнитного клапана снабжен фильтром.

        A019PQKE01
        Электромагнитный клапан переключения передач Тип Функция
        SL 3-ходовой
        • - Управляет релейным клапаном блокировки.

        • - Управляет регулирующим клапаном B2 и реверсивным клапаном последовательности.

    12. TCM


      1. TCM отделен от ECM и монтируется непосредственно на трансмиссии. В результате жгут проводов стал короче, что позволило снизить вес конструкции. Все датчики и электромагнитные клапаны, используемые для управления автоматической трансмиссией, подключены непосредственно к TCM через разъем, расположенный спереди автоматической трансмиссии.

      2. TCM обменивается данными с ECM по мультиплексной шине CAN. Таким образом, управление двигателем координируется с работой ECT.

      3. Сверху автоматической трансмиссии крепится этикетка, на которой отпечатаны компенсационные коды автоматической трансмиссии и и быстросчитываемый код (QR). Этикетка содержит закодированную информацию о характеристиках автоматической трансмиссии. В случае замены автоматической трансмиссии необходимо ввести компенсационные коды в TCM с использованием портативного диагностического прибора, чтобы TCM мог настроиться на характеристики автоматической трансмиссии. Это позволяет повысить эффективность управления переключением передач сразу же после замены автоматической трансмиссии. Более подробную информацию см. в Руководстве по ремонту.

      4. Код QR требует применения специальной системы диагностики и используется на заводе, где собираются автомобили.

        A019PY8E02

        Tech Tips

        Что представляют собой быстросчитываемые коды (QR)?


        • Код QR представляет собой матричный шифр, состоящий из множества номинально квадратных ячеек, который позволяет быстро считывать большие массивы данных с любого направления.

        • Коды QR позволяют шифровать множество видов данных: числовые, буквенно-цифровые, японское иероглифическое письмо (кандзи), японскую слоговую азбуку (кана) и двоичные коды. В общей сложности может быть зашифровано 7089 знаков (цифр).

        • Коды QR (двумерные коды) шифруют информацию в вертикальном и горизонтальном направлениях, тогда как штриховые коды – только в одном направлении. Таким образом, коды QR (двумерные коды) заключают в себе значительно больший объем данных по сравнению со штриховыми кодами.

    13. Датчик температуры ATF


      1. Для непосредственного измерения температуры трансмиссионной жидкости в корпус клапанов автоматической трансмиссии в сборе устанавливается датчик температуры ATF.

      2. Датчик температуры ATF применяется для регулирования гидравлического давления. Этот датчик обеспечивает точную регулировку давления, которое используется для включения муфт и тормозов в трансмиссии. Это способствует улучшению плавности переключения передач.

        A019Q5ZE02
    14. Контактный датчик давления ATF


      1. Контактные датчики давления ATF размещаются в выходных каналах трансмиссионной жидкости электромагнитных клапанов переключения передач SL1, SL2 и SLU, и включаются/выключаются в зависимости от давления жидкости на выходах этих электромагнитных клапанов.

      2. Анализируя релейные сигналы контактного датчика давления ATF № 3, расположенного в выходном канале трансмиссионной жидкости SLU, TCM обнаруживает неисправности в электромагнитных клапанах переключения передач SLU и SL, используемых для управления блокировкой.

      3. Когда возникает неисправность в каком-либо из клапанов SL1-SL4, TCM определяет требуемый аварийный режим управления в соответствии с релейными сигналами контактных датчиков давления ATF № 1 и 2, размещенных в выходных каналах трансмиссионной жидкости SL1 и SL2.

        A019PV1E01
        Обозначения на рисунке
        *1 Контактный датчик давления ATF *2 Нижний корпус клапанов
        *a Поперечное сечение контактного датчика давления ATF - -
    15. Датчики частоты вращения


      1. В автоматической трансмиссии U660F используются датчик частоты вращения первичной турбины (формирует сигнал NT) и датчик частоты вращения промежуточной шестерни (формирует сигнал NC). С их помощью TCM может определять порядок переключения передач и, соответственно, регулировать крутящий момент двигателя и гидравлическое давление в зависимости от условий движения.

      2. Датчик частоты вращения первичной турбины определяет частоту вращения на входе трансмиссии. В качестве задающего ротора для этого датчика используется поршень муфты № 2.

      3. Датчик частоты вращения промежуточной шестерни определяет частоту вращения промежуточной шестерни. В качестве задающего ротора для этого датчика используется промежуточная приводная шестерня.

      4. Датчик частоты вращения состоит из магнита и датчика Холла (ИС на приборах с эффектом Холла). Датчик Холла преобразует изменения плотности магнитного потока, возникающие при вращении задающего ротора, в электрический сигнал, который передается в TCM.

        A019Q4PE02
    16. Датчик положения селектора передач, датчик положения переключателя управления переключением и датчик положения паркинга/нейтрали в сборе


      1. TCM и ECM используют эти датчики для определения положения рычага переключения передач.

      2. Датчик положения паркинга/нейтрали направляет сигналы положений P, R, N и D как в ECM, так и в TCM. В ответ на сигналы, поступающие от датчика, ECM передает сигналы в щиток приборов для включения соответствующих индикаторов положения рычага переключения передач (P, R, N и D).

      3. Датчик положения селектора передач монтируется внутри рычага переключения передач в сборе и передает в ECM данные о положении рычага переключения передач.

      4. Контакт S датчика используется, чтобы определить, в каком положении находится рычаг переключения передач: в D или S, а контакты SFTU и SFTD – для определения рабочего режима, задаваемого рычагом переключения передач в положении S (т.е. направления смещения рычага: вперед [положение "+"] или назад [положение "-"]). Передавая сигналы в ECM, датчик положения селектора передач вызывает включение контрольной лампы включенной передачи, которая указывает выбранный диапазон, и контрольной лампы режима S (когда рычаг смещается в положение S).

      5. Переключатели управления переключением установлены на рулевом колесе в сборе. ECM определяет условия работы переключателей управления переключением (положения "+" и "-"), когда рычаг переключения передач находится в положении S. В то же время ECM включает контрольную лампу диапазона передач для выбранного диапазона.

        A019PPRE01
    17. Жидкость для автоматической трансмиссии (ATF) WS


      1. Благодаря сниженной вязкости в рабочем диапазоне температур ATF WS от компании TOYOTA обеспечивает уменьшение сопротивления потоку и сокращение расхода топлива. При повышенных температурах ATF WS имеет такую же вязкость, как ATF T-IV от компании TOYOTA, что гарантирует долговечность автоматической трансмиссии.

      2. ATF WS от компании TOYOTA и жидкости других типов (D-II, D-III и ATF T-IV от компании TOYOTA) не являются взаимозаменяемыми.

        A019PYIE01
  4. ПРИНЦИП РАБОТЫ


    1. Передача мощности в трансмиссии

      A019Q1JE01
      A019PX9E01
      A019PN0E01
      A019PXLE01
      A019PNQE01
      A019QAGE01
      A019QASE01
      A019Q6GE01
      A019PZVE01
  5. РАБОТА В АВАРИЙНОЙ РЕЖИМЕ

    Этот режим сводит к минимуму потерю работоспособности при нарушении работы какого-либо датчика или электромагнитного клапана. Более подробную информацию см. в руководстве по ремонту.

  6. ДИАГНОСТИКА


    1. Когда TCM обнаруживает неисправность, он регистрирует ее и сохраняет в памяти связанную с ней информацию. Кроме того, TCM включает или заставляет мигать контрольную лампу неисправности (MIL) на щитке приборов, информируя водителя о неисправности.

    2. Также TCM сохраняет в памяти диагностические коды неисправностей (DTC). Через ECM и разъем DLC3 коды DTC, хранящиеся в памяти TCM, передаются в портативный диагностический прибор.

    3. Более подробную информацию см. в Руководстве по ремонту.

      Tech Tips

      Чтобы удалить коды DTC, хранящиеся в памяти TCM, необходимо использовать портативный диагностический прибор или отсоединить провод от вывода аккумуляторной батареи, либо, по крайней мере, на 1 мин извлечь предохранитель EFI № 1.