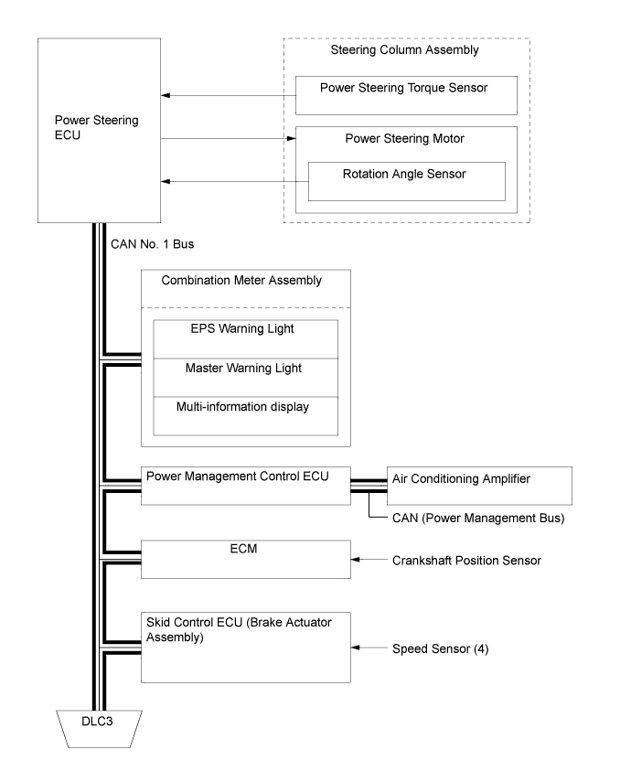
POWER STEERING SYSTEM SYSTEM DIAGRAM

A019PYVE01