ENTRY AND START SYSTEM PARTS LOCATION

A01LPMJE01
Text in Illustration (LHD Models:)
*A Models with Entry Function for Driver Door, Front Passenger Door and Back Door - -
*1 Front Door Lock Assembly LH *2 Front Door Lock Assembly RH
*3 Rear Door Lock with Motor Assembly LH *4 Rear Door Lock with Motor Assembly RH
*5 Front Door Courtesy Light Switch (LH) *6 Front Door Courtesy Light Switch (RH)
*7 Rear Door Courtesy Light Switch (LH) *8 Rear Door Courtesy Light Switch (RH)
*9 Wireless Door Lock Buzzer *10 Indoor Electrical Key Antenna Assembly No. 1
*11 Indoor Electrical Key Antenna Assembly No. 2 *12 Indoor Electrical Key Antenna Assembly No. 3
*13 Back Door Lock Assembly *14 Door Control Receiver
*15
  • Front Door Outside Handle LH


    • Door Electrical Key Antenna LH

    • Lock Sensor

    • Unlock Sensor

*16
  • Front Door Outside Handle RH


    • Door Electrical Key Antenna RH

    • Lock Sensor

    • Unlock Sensor

*17 Electrical Key Antenna *18 Back Door Opener Switch Assembly
*19 Electrical Key Transmitter Sub-assembly *20 Back Door Opener Switch
*21 Back Door Lock Switch - -
A01LPFTE01
Text in Illustration (RHD Models:)
*A Models with Entry Function for Driver Door, Front Passenger Door and Back Door *B Models with Panic Switch
*1 Front Door Lock Assembly LH *2 Front Door Lock Assembly RH
*3 Rear Door Lock with Motor Assembly LH *4 Rear Door Lock with Motor Assembly RH
*5 Front Door Courtesy Light Switch (LH) *6 Front Door Courtesy Light Switch (RH)
*7 Rear Door Courtesy Light Switch (LH) *8 Rear Door Courtesy Light Switch (RH)
*9 Wireless Door Lock Buzzer *10 Indoor Electrical Key Antenna Assembly No. 1
*11 Indoor Electrical Key Antenna Assembly No. 2 *12 Indoor Electrical Key Antenna Assembly No. 3
*13 Back Door Lock Assembly *14 Door Control Receiver
*15
  • Front Door Outside Handle LH


    • Door Electrical Key Antenna LH

    • Lock Sensor

    • Unlock Sensor

*16
  • Front Door Outside Handle RH


    • Door Electrical Key Antenna RH

    • Lock Sensor

    • Unlock Sensor

*17 Electrical Key Antenna *18 Back Door Opener Switch Assembly
*19 Electrical Key Transmitter Sub-assembly *20 Back Door Opener Switch
*21 Back Door Lock Switch - -
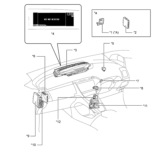
A01LPCNE01
Text in Illustration (LHD Models:)
*1 ID Code Box (Immobiliser Code ECU) *2 Certification ECU (Smart Key ECU Assembly)
*3 Combination Meter Assembly *4 Multi-information Display
*5 Turn Signal Flasher Assembly *6 Main Body ECU (Multiplex Network Body ECU)
*7 Stop Light Switch Assembly *8 Power Switch
*9 Power Management Control ECU *10 Transmission Control ECU Assembly
*11 Shift Lever Position Sensor (Shift Lock Control Unit Assembly) *12 P Position Switch (Transmission Shift Main Switch)
*a Refer to the Service Bulletin for the installation position of the part. - -
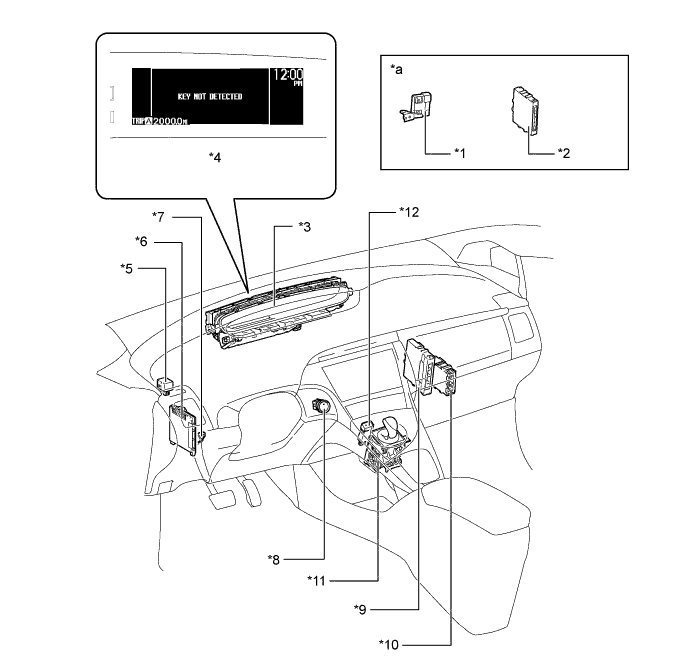
A01LPCEE01
Text in Illustration (RHD Models:)
*A Models for Europe - -
*1 ID Code Box (Immobiliser Code ECU) *2 Certification ECU (Smart Key ECU Assembly)
*3 Combination Meter Assembly *4 Multi-information Display
*5 Turn Signal Flasher Assembly *6 Main Body ECU (Multiplex Network Body ECU)
*7 Stop Light Switch Assembly *8 Power Switch
*9 Power Management Control ECU *10 Transmission Control ECU Assembly
*11 Shift Lever Position Sensor (Shift Lock Control Unit Assembly) *12 P Position Switch (Transmission Shift Main Switch)
*a Refer to the Service Bulletin for the installation position of the part. - -