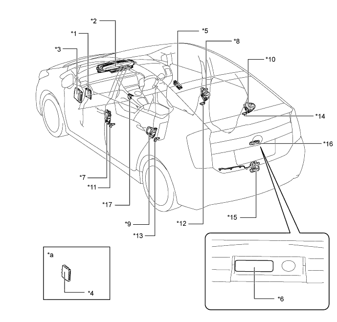
| *1 | Main Body ECU (Multiplex Network Body ECU) | *2 | Combination Meter Assembly |
| *3 | Power Management Control ECU | *4 | Certification ECU (Smart Key ECU Assembly) |
| *5 | Multiplex Network Master Switch Assembly - Door Control Switch |
*6 | Back Door Opener Switch |
| *7 | Front Door Lock Assembly LH | *8 | Front Door Lock Assembly RH |
| *9 | Rear Door Lock with Motor Assembly LH | *10 | Rear Door Lock with Motor Assembly RH |
| *11 | Front Door Courtesy Light Switch Assembly (LH) | *12 | Front Door Courtesy Light Switch Assembly (RH) |
| *13 | Rear Door Courtesy Light Switch Assembly (LH) | *14 | Rear Door Courtesy Light Switch Assembly (RH) |
| *15 | Back Door Lock Assembly | *16 | Back Door Opener Switch Assembly |
| *a | Refer to Service Bulletin for the installation position of the part. | - | - |
| *1 | Main Body ECU (Multiplex Network Body ECU) | *2 | Combination Meter Assembly |
| *3 | Power Management Control ECU | *4 | Certification ECU (Smart Key ECU Assembly) |
| *5 | Multiplex Network Master Switch Assembly - Door Control Switch |
*6 | Back Door Opener Switch |
| *7 | Front Door Lock Assembly LH | *8 | Front Door Lock Assembly RH |
| *9 | Rear Door Lock with Motor Assembly LH | *10 | Rear Door Lock with Motor Assembly RH |
| *11 | Front Door Courtesy Light Switch Assembly (LH) | *12 | Front Door Courtesy Light Switch Assembly (RH) |
| *13 | Rear Door Courtesy Light Switch Assembly (LH) | *14 | Rear Door Courtesy Light Switch Assembly (RH) |
| *15 | Back Door Lock Assembly | *16 | Back Door Opener Switch Assembly |
| *17 | Double Lock Door Control Relay Assembly | - | - |
| *a | Refer to Service Bulletin for the installation position of the part. | - | - |