ПРОТИВОУГОННАЯ СИСТЕМА РАСПОЛОЖЕНИЕ ДЕТАЛЕЙ

A01J2SLE01
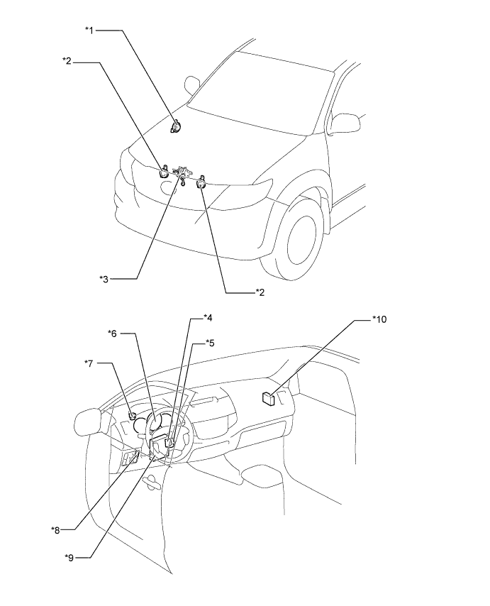
Обозначения на рисунке
*1 Аварийная сирена в сборе *2 Звуковой сигнал в сборе
*3 Защитный выключатель освещения проема (выключатель освещения проема капота двигателя) *4 Выключатель разблокировки ключа в сборе
*5 Замок зажигания *6 Щиток приборов в сборе
*7 Выключатель проблескового режима указателя поворота в сборе *8 Контрольная лампа безопасности
*9

Распределительный блок со стороны водителя в сборе

- Интегрированное реле № 1

*10

ЭБУ противоугонной системы в сборе

- Датчик удара

- Приемник системы блокировки дверей

A01J2UGE01
Обозначения на рисунке
*1 Лампа освещения салона № 1 в сборе *2 Выключатель освещения проема левой передней двери в сборе
*3 Выключатель освещения проема левой задней двери в сборе *4 Выключатель освещения проема правой передней двери в сборе
*5

Замок двери багажного отделения в сборе

- Выключатель освещения проема двери багажного отделения

*6 Выключатель освещения проема правой задней двери в сборе
*7 Лампа освещения салона № 2 в сборе - -