АУДИОВИЗУАЛЬНАЯ СИСТЕМА РАСПОЛОЖЕНИЕ ДЕТАЛЕЙ

A01J2WME01
Обозначения на рисунке
*A для моделей с системой громкой связи стандарта "Bluetooth" *B Для моделей с системой монитора
*1 Микрофон телефона в сборе *2 Телескопическая антенна (антенна в сборе с держателем)
*3 Левый передний динамик № 2 в сборе *4 Левый передний динамик № 1 в сборе
*5 Левый задний динамик в сборе *6 Задняя телекамера в сборе
*7 Правый задний динамик в сборе *8 Правый передний динамик № 1 в сборе
*9 Правый передний динамик № 2 в сборе *10 Лампа индивидуального освещения в сборе
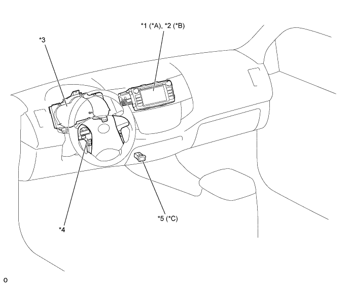
A01J2OVE03
Обозначения на рисунке
*A Для моделей с базовой аудиосистемой *B Для моделей с аудиосистемой с дисплеем
*C для моделей с переходником стереогнезда № 1 в сборе - -
*1 Радиоприемник в сборе *2 Радиоприемник с дисплеем
*3 Щиток приборов в сборе *4 Переключатель на рулевом колесе в сборе
*5 Переходник стереогнезда № 1 в сборе - -