СИСТЕМА ПОДУШЕК БЕЗОПАСНОСТИ ДЕТАЛЬНОЕ ОПИСАНИЕ


  1. НАЗНАЧЕНИЕ ОСНОВНЫХ УСТРОЙСТВ


    1. Основные узлы и детали системы подушек безопасности имеют следующие функции:

      Устройство Функция
      Центральный блок управления системы SRS Центральный блок управления системы SRS получает сигналы от датчика замедления и датчика системы безопасности, встроенных в центральный блок управления системы SRS, и от одного из передних датчиков системы SRS, по которым определяет необходимость развертывания подушки безопасности водителя и передней подушки безопасности пассажира, а также выполняет диагностику неисправностей системы.
      Накладка рулевого колеса (пиропатрон со стороны водителя) Включает насос, оболочку и прочие детали. Насос подает газ в соответствии с сигналом развертывания от центрального блока управления системы SRS и развертывает оболочку.
      Передняя подушка безопасности пассажира в сборе
      Передний датчик системы SRS В переднем датчике системы SRS применяется датчик замедления электрического типа. Замедление автомобиля при фронтальном столкновении вызывает деформацию датчика, которая преобразуется в электрический сигнал. По этому сигналу можно точно определить силу первоначального столкновения.

      Щиток приборов в сборе

      - Контрольная лампа аварийного состояния SRS

      Контрольная лампа аварийного состояния SRS загорается для предупреждения водителя, когда центральный блок управления системы SRS обнаруживает неисправность в системе подушек безопасности SRS.
  2. УСЛОВИЯ РАБОТЫ


    1. Система SRS срабатывает автоматически, если при столкновении сила удара превышает определенную величину. В центральный блок управления системы SRS встроены датчик системы безопасности и датчик замедления. Датчик системы безопасности рассчитан на срабатывание при меньшей величине замедления по сравнению с датчиком системы SRS.


      1. В случае фронтального столкновения центральный блок управления системы SRS по сигналам от датчика замедления и переднего датчика системы SRS определяет, требуется ли развертывание подушек безопасности. Если одновременно срабатывает датчик системы безопасности, в пиропатроны подается ток для активации устройств системы SRS, как показано на рисунке ниже. Однако сигнал зажигания для развертывания может формироваться при наличии сигнала включения датчика замедления, даже если сигнал от переднего датчика системы SRS отсутствует.

        A01J2NHE01
  3. КОНСТРУКЦИЯ


    1. Накладка рулевого колеса (пиропатрон со стороны водителя)


      1. В накладку рулевого колеса встроены насос и оболочка подушки безопасности.

        A01J2NBE01
        Обозначения на рисунке
        *1 Оболочка *2 Насос
        *a Сечение A - A - -
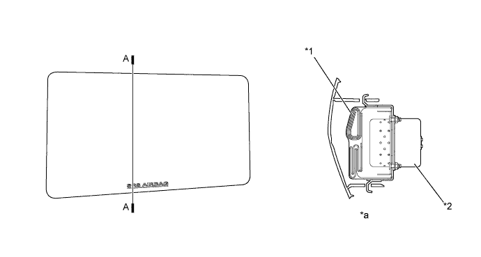
    2. Передняя подушка безопасности пассажира в сборе


      1. Передняя подушка безопасности пассажира находится в верхней части панели приборов со стороны переднего пассажира.

      2. Передняя подушка безопасности пассажира состоит из насоса и оболочки.

        A01J2QJE01
        Обозначения на рисунке
        *1 Оболочка *2 Насос
        *a Сечение A - A - -
  4. УПРАВЛЕНИЕ В СИСТЕМЕ


    1. Подушки безопасности для защиты от фронтального столкновения


      1. Защиту при фронтальном столкновении обеспечивают подушки безопасности двух типов: подушка безопасности в накладке рулевого колеса (подушка безопасности водителя) и передняя подушка безопасности пассажира в сборе. Все эти подушки безопасности развертываются одновременно.

        A01J2WSE02
  5. ДИАГНОСТИКА


    1. Общая информация


      1. Когда центральный блок управления системы SRS обнаруживает неисправность в системе SRS, он сохраняет информацию о неисправности в памяти и включает контрольную лампу аварийного состояния SRS.


        • Центральный блок управления системы SRS передает данные о неисправностях в виде 5-значных кодов DTC в портативный диагностический прибор II или на контрольную лампу аварийного состояния SRS.

          A01J2R4E01
    2. Коды DTC системы подушек безопасности SRS


      1. 5-значные коды DTC можно считать, подключив портативный диагностический прибор II к DLC3.

      2. При развертывании подушки безопасности системы SRS центральный блок управления системы SRS включает контрольную лампу аварийного состояния SRS. Однако в отличие от обычной функции диагностики DTC не сохраняется в памяти. Выключить контрольную лампу аварийного состояния SRS невозможно. После срабатывания подушки безопасности требуется заменить центральный блок управления системы SRS новым блоком.