СИСТЕМА УПРАВЛЕНИЯ ТОРМОЗАМИ ДЕТАЛЬНОЕ ОПИСАНИЕ


  1. НАЗНАЧЕНИЕ ОСНОВНЫХ УСТРОЙСТВ

    Устройство Функция
    Блок управления рабочими цилиндрами тормозов в сборе Изменяет путь подачи тормозной жидкости согласно сигналам от ЭБУ системы противоскольжения, полученным во время работы систем управления тормозами, и тем самым регулирует давление этой жидкости, подаваемой в рабочие тормозные цилиндры.
    Реле электродвигателя (встроенное в ЭБУ системы противоскольжения) Подает питание на электродвигатель насоса.
    Реле электромагнитного клапана (встроенное в ЭБУ системы противоскольжения) Подает питание на электромагнитные клапаны.
    Датчики частоты вращения Определяет частоту вращения одного из 4 колес.
    Датчик замедления Определяет ускорение автомобиля в прямом и обратном направлениях.
    Выключатель стоп-сигналов в сборе Регистрирует сигнал нажатия педали тормоза.
    Выключатель стояночного тормоза Служит для регистрации положения рычага стояночного тормоза.
    Индикатор-переключатель раздаточной коробки (положение L4)*1 Регистрирует положение L4.
    Датчик положения блокировки заднего дифференциала*2 Служит для определения рабочего состояния привода блокировки заднего дифференциала.
    Контрольная лампа ABS Горит, оповещая водителя о том, что ЭБУ системы противоскольжения обнаружил неисправность в системе АБС.
    ЭБУ системы противоскольжения Оценивает условия движения автомобиля по сигналам датчиков и передает управляющие сигналы в блок управления рабочими цилиндрами тормозов.

    • *1: для моделей с полным приводом

    • *2: для моделей с приводом переключения блокировки дифференциала

  2. СИСТЕМА УПРАВЛЕНИЯ


    1. Антиблокировочная система тормозов (АБС)


      1. Система АБС предотвращает блокировку колес при резком нажатии на педаль тормоза, а также при торможении на скользкой поверхности. Это обеспечивает надлежащее тормозное усилие в условиях проскальзывания автомобиля, что обусловливает прекрасную курсовую устойчивость и эффективность торможения.

        A01J2LDE01
        Текст на рисунке
        *A Для моделей с АБС *B Для моделей без АБС
        *a Включение тормозов - -
  3. КОНСТРУКЦИЯ


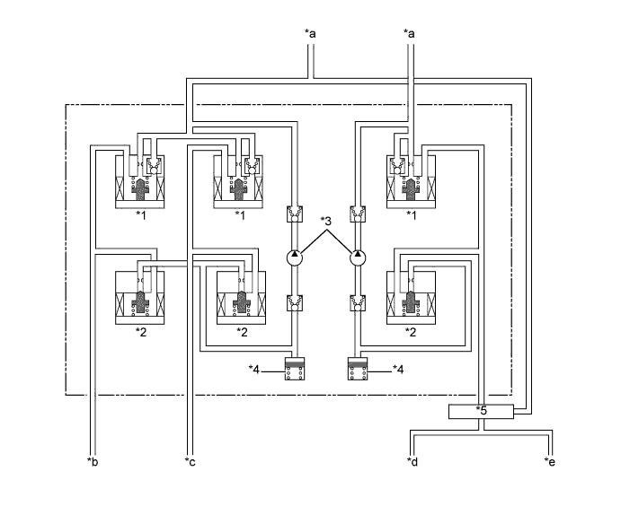
    1. Блок управления рабочими цилиндрами тормозов в сборе


      1. Блок управления рабочими цилиндрами тормозов в сборе состоит из секции блока управления и ЭБУ системы противоскольжения.

        A01J2RSE01
        Обозначения на рисунке
        *1 ЭБУ системы противоскольжения *2 Модуль привода
      2. Секция блока управления состоит из 3 электромагнитных клапанов удержания давления, 3 редукционных электромагнитных клапанов, 2 насосов и 2 бачков.

        A01J2L1E01
        Обозначения на рисунке
        *1 Электромагнитный клапан удержания давления *2 Электромагнитный редукционный клапан
        *3 Насос *4 Бачок
        *5 Клапан управления тормозной системы - -
        *a От главного цилиндра *b Левый передний тормоз
        *c Правый передний тормоз *d Левый задний тормоз
        *e Правый задний тормоз - -
    2. Датчик частоты вращения


      1. Датчик частоты вращения определяет частоту вращения колеса и передает соответствующие сигналы в ЭБУ системы противоскольжения.

        A01J2VRE01
        Обозначения на рисунке
        *1 Передний датчик частоты вращения *2 Задний датчик частоты вращения
      2. В системе управления двигателем применяется индуктивный датчик частоты вращения.

        A01J2P5E01
    3. Датчик замедления


      1. Датчик замедления служит для определения ускорения автомобиля в прямом и обратном направлениях.

        A01J2TLE01
        Обозначения на рисунке
        *1 Датчик замедления - -
  4. ПРИНЦИП РАБОТЫ


    1. АБС


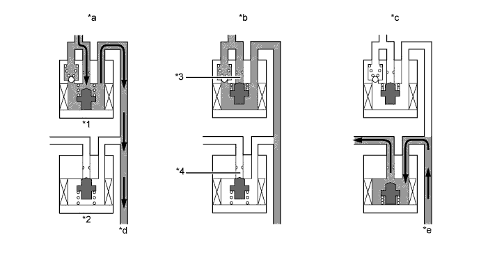
      1. На основании сигналов, полученных от 4 датчиков частоты вращения и датчика замедления, в ЭБУ системы противоскольжения происходит вычисление частоты вращения каждого колеса и замедления*, с оценкой вероятности проскальзывания колес. В соответствии с вероятностью пробуксовки ЭБУ системы противоскольжения регулирует давление жидкости в рабочих цилиндрах каждого из колес, управляя электромагнитными клапанами в блоке управления рабочими цилиндрами тормозов в 3 режимах: режиме повышения, режиме удержания и режиме понижения давления.

        A01J2P3E01
        Обозначения на рисунке
        *1 Электромагнитный клапан удержания давления *2 Электромагнитный редукционный клапан
        *3 Канал A *4 Канал B
        *a Режим повышения давления *b Режим удержания давления
        *c Режим понижения давления *d К суппорту тормоза или рабочему цилиндру
        *e От суппорта тормоза или рабочего цилиндра - -
        Действие блока управления рабочими цилиндрами тормозов при работе АБС
        Режим давления Режим повышения давления Режим удержания давления Режим понижения давления
        Электромагнитный клапан удержания давления (канал А) Выкл (открыт) Вкл (закрыт)
        Электромагнитный редукционный клапан (канал B) Выкл (закрыт) Вкл (открыт)
        Давление в рабочем тормозном цилиндре Повышается Удерживается Понижается
  5. Функция работы в аварийном режиме


    1. Если в ЭБУ системы противоскольжения, датчиках или блоке управления рабочими цилиндрами тормозов возникает неисправность, система управления тормозами продолжает функционировать, исключив неисправный узел и используя только нормально работающие узлы.

  6. ДИАГНОСТИКА


    1. Когда ЭБУ системы противоскольжения обнаруживает неисправность в системе управления тормозами, включаются контрольные лампы. Одновременно в памяти ЭБУ системы противоскольжения сохраняется диагностический код неисправности (DTC).

    2. Система самодиагностики имеет функцию проверки сигналов датчиков (режим активной диагностики).

    3. Более подробную информацию о DTC и функции проверки см. в руководстве по ремонту для данной модели.