СИСТЕМА ОСЕЙ ОБЩИЕ СВЕДЕНИЯ


  1. ОПИСАНИЕ


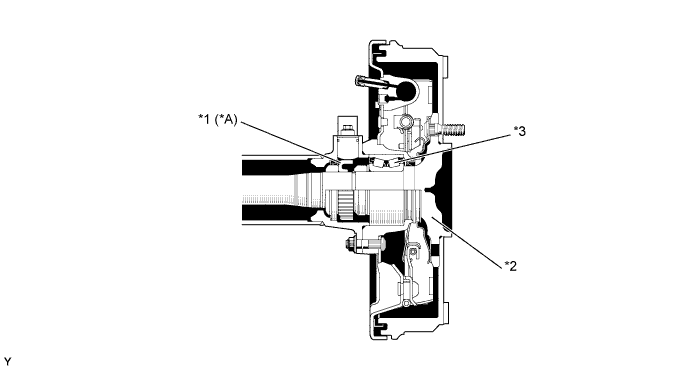
    1. Передний мост


      1. Используется цельный двухрядный конический роликовый подшипник.

      2. На моделях с системой управления тормозами ротор датчика частоты вращения встраивается во внутреннее кольцо подшипника.

        A01J2WBE01
        Обозначения на рисунке (для моделей с полным приводом):
        *A Для моделей с системой управления тормозами - -
        *1 Ротор датчика частоты вращения *2 Двухрядный конический роликовый подшипник
        *3 Ступица переднего колеса - -
    2. Задний мост


      1. Используется цельный двухрядный радиально-упорный роликовый подшипник.

      2. На моделях с системой управления тормозами ротор датчика частоты вращения встраивается во внутреннее кольцо подшипника.

        A01J2XJE01
        Обозначения на рисунке (для моделей с полным приводом):
        *A Для моделей с системой управления тормозами - -
        *1 Ротор датчика частоты вращения *2 Вал задней полуоси
        *3 Двухрядный конический роликовый подшипник - -