СИСТЕМА ПОЛНОГО ПРИВОДА ДЕТАЛЬНОЕ ОПИСАНИЕ


  1. УСЛОВИЯ РАБОТЫ


    1. Межосевой дифференциал можно блокировать и разблокировать во время движения автомобиля. При этом межосевой дифференциал не должен переключаться в состояние блокировки, пока автомобиль совершает поворот, а также при пробуксовке колес.

    2. На моделях с механической трансмиссией передаточные числа высшей и низшей передач раздаточной коробки можно переключать только тогда, когда автомобиль неподвижен, а педаль сцепления нажата.

    3. На моделях с автоматической трансмиссией передаточные числа высшей и низшей передач раздаточной коробки можно переключать только тогда, когда автомобиль неподвижен, а рычаг переключения передач находится в положении N.

  2. КОНСТРУКЦИЯ


    1. Раздаточная коробка в сборе


      1. В редукционном механизме применяется планетарный редуктор.

      2. Для плавного переключения с нижней передачи на верхнюю служит механизм синхронизации.*


        • *: для моделей с механической трансмиссией

      3. В качестве межосевого дифференциала используется LSD (дифференциал повышенного трения) TORSEN*. LSD этого типа обеспечивает надлежащее распределение крутящего момента во время разгона и движения с высокой скоростью.

        Tech Tips

        *: TORSEN является зарегистрированной торговой маркой JTEKT Corporation.

        A01J2KZE03
        Обозначения на рисунке
        *A Для моделей с автоматической трансмиссией или системой блокировки заднего дифференциала или системой управления тормозами *B Для моделей с автоматической трансмиссией
        *1 Планетарная передача низшей ступени раздаточной коробки в сборе *2 Первичный вал раздаточной коробки
        *3 Передний выходной вал раздаточной коробки *4 Передняя ведомая звездочка
        *5 Передняя приводная цепь раздаточной коробки *6 Передняя ведущая звездочка
        *7 Задний выходной вал раздаточной коробки *8 Ступица муфты раздаточной коробки
        *9 Шестерня переднего привода раздаточной коробки *10 Передняя соединительная муфта привода
        *11 Межосевой дифференциал *12 Индикатор-переключатель раздаточной коробки (датчик положения L4)
        *13 Индикатор-переключатель раздаточной коробки (датчик нейтрального положения) *14 Индикатор-переключатель раздаточной коробки (положения блокировки межосевого дифференциала)
        *a Схема переключения передач - -
    2. Планетарная передача низшей ступени раздаточной коробки в сборе


      1. Планетарная передача низшей ступени раздаточной коробки в сборе используется в планетарном редукторе для переключения передаточных чисел высшей и низшей передач раздаточной коробки.

      2. Планетарная передача низшей ступени раздаточной коробки в сборе состоит из солнечной шестерни планетарной передачи, 4 сателлитов планетарной передачи, коронной шестерни планетарной передачи и водила планетарной передачи.

      3. Солнечная шестерня планетарной передачи объединена с первичным валом раздаточной коробки. Шлицевая часть ступицы муфты раздаточной коробки закреплена в задней части водила планетарной передачи.

      4. На водило планетарной передачи установлены 4 сателлита планетарной передачи. Вал каждого сателлита прикреплен к водилу планетарной передачи. Шлицевая часть планетарной передачи низшей ступени раздаточной коробки закреплена в задней части водила планетарной передачи.

      5. Коронная шестерня планетарной передачи прикреплена к картеру раздаточной коробки, а ее внутренние зубцы введены в зацепление с сателлитами планетарной передачи.

      6. В данном планетарном редукторе путь передачи мощности переключается в соответствии с перемещением соединительной муфты высшей и низшей передач раздаточной коробки. Мощность, поступающая на первичный вал раздаточной коробки, передается корпусу межосевого дифференциала через соединительную муфту высшей и низшей передач раздаточной коробки.

        A01J2MQE03
        Обозначения на рисунке
        *1 Первичный вал раздаточной коробки *2 Сателлит планетарной передачи
        *3 Корпус межосевого дифференциала *4 Шлицевая часть ступицы муфты раздаточной коробки
        *5 Соединительная муфта верхнего и нижнего диапазонов раздаточной коробки *6 Шлицевая часть планетарной передачи низшей ступени раздаточной коробки
        *7 Водило планетарной передачи *8 Коронная шестерня планетарной передачи
        *9 Солнечная шестерня планетарной передачи - -
    3. Межосевой дифференциал


      1. В качестве межосевого дифференциала используется LSD (дифференциал повышенного трения) TORSEN*. Кроме того, используется механизм, который обеспечивает включение и выключение блокировки межосевого дифференциала.

      2. LSD TORSEN* представляет собой дифференциал повышенного трения с ограничением крутящего момента. Он создает ограниченный крутящий момент, пропорциональный крутящему моменту привода, и мгновенно изменяет распределение крутящего момента между передними и задними колесами.

      3. При движении по прямой крутящий момент распределяется в отношении 40/60 (передние/задние колеса), что позволяет обеспечить надлежащую реакцию рулевого управления на начальной стадии поворота. При разгоне на повороте распределение крутящего момента смещается в сторону задних колес.

      4. Используемый межосевой дифференциал состоит из корпуса межосевого дифференциала, солнечной шестерни, коронной шестерни, муфты, 8 сателлитов, дисков сцепления и водила планетарной передачи.

      5. Крутящий момент подводится к корпусу межосевого дифференциала.

      6. Корпус межосевого дифференциала соединен с водилом планетарной передачи.

      7. Солнечная шестерня посредством ступицы муфты раздаточной коробки и шестерни переднего привода раздаточной коробки соединяется с передней ведущей звездочкой (со стороны выхода передних колес).

      8. Коронная шестерня посредством муфты соединяется с задним выходным валом раздаточной коробки (с стороны выхода задних колес).

      9. Межосевой дифференциал блокируется и разблокируется в соответствии с перемещением передней соединительной муфты привода.

        Tech Tips

        *: TORSEN является зарегистрированной торговой маркой JTEKT Corporation.

        A01J2MJE01
        Обозначения на рисунке
        *1 Диск сцепления № 1 *2 Муфта
        *3 Задний выходной вал раздаточной коробки *4 Солнечная шестерня
        *5 Корпус межосевого дифференциала *6 Диск сцепления № 3
        *7 Диск сцепления № 2 *8 Ступица муфты раздаточной коробки
        *9 Диск сцепления № 4 *10 Шестерня переднего привода раздаточной коробки
        *11 Передняя ведущая звездочка *12 Водило планетарной передачи
        *13 Передняя соединительная муфта привода *14 Ведущая шестерня (сателлит)
        *15 Коронная шестерня - -
  3. ПРИНЦИП РАБОТЫ


    1. Переключение передаточных чисел высшей и низшей передач раздаточной коробки


      1. Положение высшей передачи


        • В положении высшей передачи внутренние зубья соединительной муфты высшей и низшей передач раздаточной коробки сцепляются со шлицевой частью ступицы муфты раздаточной коробки.

        • Кроме того, соединительная муфта высшей и низшей передач раздаточной коробки соединена с корпусом межосевого дифференциала.

        • Вращение первичного вала раздаточной коробки сообщается солнечной шестерне планетарной передачи, шлицевой части ступицы муфты раздаточной коробки, соединительной муфте высшей и низшей передач раздаточной коробки и корпусу межосевого дифференциала.

        A01J2M2E02
        Обозначения на рисунке
        *1 Солнечная шестерня планетарной передачи *2 Первичный вал раздаточной коробки
        *3 Шлицевая часть ступицы муфты раздаточной коробки *4 Корпус межосевого дифференциала
        *5 Соединительная муфта верхнего и нижнего диапазонов раздаточной коробки *6 Водило планетарной передачи (вал сателлита планетарной передачи)
        *7 Коронная шестерня планетарной передачи *8 Сателлит планетарной передачи
        A01J2OA Крутящий момент A01J2L7 Перемещение
      2. Положение низшей передачи


        • В положении низшей передачи наружные зубья соединительной муфты высшей и низшей передач раздаточной коробки сцепляются со шлицевой частью планетарной передачи низшей ступени раздаточной коробки.

        • Кроме того, соединительная муфта высшей и низшей передач раздаточной коробки соединена с корпусом межосевого дифференциала.

        • Вращение первичного вала раздаточной коробки сообщается (с редукцией) солнечной шестерне планетарной передачи, сателлитам планетарной передачи, валам сателлитов планетарной передачи, водилу планетарной передачи, шлицевой части планетарной передачи низшей ступени раздаточной коробки, соединительной муфте высшей и низшей передач раздаточной коробки и корпусу межосевого дифференциала.

        A01J2LNE02
        Обозначения на рисунке
        *1 Солнечная шестерня планетарной передачи *2 Первичный вал раздаточной коробки
        *3 Корпус межосевого дифференциала *4 Соединительная муфта верхнего и нижнего диапазонов раздаточной коробки
        *5 Шлицевая часть планетарной передачи низшей ступени раздаточной коробки *6 Водило планетарной передачи (вал сателлита планетарной передачи)
        *7 Коронная шестерня планетарной передачи *8 Сателлит планетарной передачи
        A01J2OA Крутящий момент A01J2L7 Перемещение
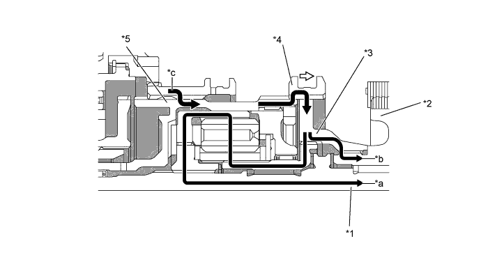
    2. Включение/выключение блокировки межосевого дифференциала


      1. Положение блокировки


        • В положении блокировки передняя соединительная муфта привода соединяет корпус межосевого дифференциала и шестерню переднего привода раздаточной коробки, блокируя межосевой дифференциал.

        A01J2M5E02
        Обозначения на рисунке
        *1 Задний выходной вал раздаточной коробки *2 Передняя ведущая звездочка
        *3 Шестерня переднего привода раздаточной коробки *4 Передняя соединительная муфта привода
        *5 Корпус межосевого дифференциала - -
        *a Крутящий момент заднего выходного вала *b Крутящий момент переднего выходного вала
        *c Входной крутящий момент - -
        A01J2OA Крутящий момент A01J2L7 Перемещение
    3. Принцип работы межосевого дифференциала


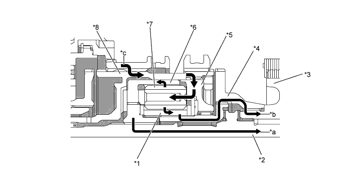
      1. Действие в нормальном режиме движения


        • При движении в нормальном режиме (частота вращения передних колес = частота вращения задних колес) крутящий момент, создаваемый корпусом межосевого дифференциала, передается (передние колеса: 40/задние колеса: 60), как показано ниже, без использования функции дифференциала повышенного трения.

        A01J2QME02
        Обозначения на рисунке
        *1 Солнечная шестерня *2 Задний выходной вал раздаточной коробки
        *3 Передняя ведущая звездочка *4 Шестерня переднего привода раздаточной коробки
        *5 Водило планетарной передачи *6 Коронная шестерня
        *7 Ведущая шестерня (сателлит) *8 Корпус межосевого дифференциала
        *a Крутящий момент заднего выходного вала *b Крутящий момент переднего выходного вала
        *c Входной крутящий момент - -
        A01J2OA Крутящий момент - -
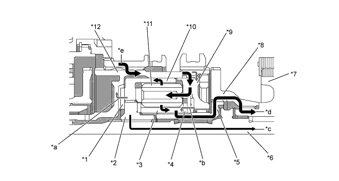
      2. Действие при заносе передних колес


        • При заносе передних колес (частота вращения передних колес > частота вращения задних колес), когда частоты вращения солнечной шестерни и коронной шестерни различаются, распределение крутящего момента, создаваемого корпусом межосевого дифференциала, перед передачей момента мгновенно изменяется, как описано ниже:


          • Солнечная шестерня сообщает крутящий момент водилу планетарной передачи, прижимая диск сцепления № 4. Водило планетарной передачи передает крутящий момент корпуса межосевого дифференциала через диск сцепления № 1 коронной шестерне.

          • Коронная шестерня передает крутящий момент на выход, прижимая диск сцепления № 1.

          • Благодаря рассмотренным функциям дифференциала повышенного трения изменяется распределение крутящего момента.

        A01J2S2E02
        Обозначения на рисунке
        *1 Диск сцепления № 1 *2 Муфта
        *3 Солнечная шестерня *4 Диск сцепления № 4
        *5 Ступица муфты раздаточной коробки *6 Задний выходной вал раздаточной коробки
        *7 Передняя ведущая звездочка *8 Шестерня переднего привода раздаточной коробки
        *9 Водило планетарной передачи *10 Коронная шестерня
        *11 Ведущая шестерня (сателлит) *12 Корпус межосевого дифференциала
        *a Прижатие диска сцепления № 1 *b Прижатие диска сцепления № 4
        *c Крутящий момент заднего выходного вала *d Крутящий момент переднего выходного вала
        *e Входной крутящий момент - -
        A01J2OA Крутящий момент - -
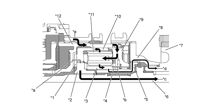
      3. Действие при заносе задних колес


        • При заносе задних колес (частота вращения передних колес < частота вращения задних колес), когда частоты вращения солнечной шестерни и коронной шестерни различаются, распределение крутящего момента, создаваемого корпусом дифференциала, перед передачей момента мгновенно изменяется, как описано ниже:


          • Коронная шестерня сообщает крутящий момент корпусу межосевого дифференциала, прижимая диск сцепления № 1. Корпус межосевого дифференциала передает крутящий момент водила планетарной передачи через диск сцепления № 4 солнечной шестерне.

          • Солнечная шестерня передает крутящий момент на выход, прижимая диск сцепления № 4.

          • Благодаря рассмотренным функциям дифференциала повышенного трения изменяется распределение крутящего момента.

        A01J2RWE03
        Обозначения на рисунке
        *1 Диск сцепления № 1 *2 Муфта
        *3 Солнечная шестерня *4 Диск сцепления № 4
        *5 Ступица муфты раздаточной коробки *6 Задний выходной вал раздаточной коробки
        *7 Передняя ведущая звездочка *8 Шестерня переднего привода раздаточной коробки
        *9 Водило планетарной передачи *10 Коронная шестерня
        *11 Ведущая шестерня (сателлит) *12 Корпус межосевого дифференциала
        *a Прижатие диска сцепления № 1 *b Прижатие диска сцепления № 4
        *c Крутящий момент заднего выходного вала *d Крутящий момент переднего выходного вала
        *e Входной крутящий момент - -
        A01J2OA Крутящий момент - -