СИСТЕМА МЕХАНИЧЕСКОЙ ТРАНСМИССИИ ДЕТАЛЬНОЕ ОПИСАНИЕ


  1. КОНСТРУКЦИЯ


    1. Зубчатая передача


      1. Механизм синхронизации трансмиссии на всех передачах имеет постоянное зацепление.

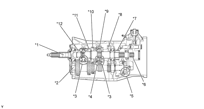
        A01J2UQE01
        Обозначения на рисунке (для моделей с двигателем 1GR-FE):
        *1 Первичный вал *2 Промежуточный вал
        *3 Одноконусный механизм синхронизации *4 Трехконусный механизм синхронизации
        *5 Механизм синхронизации передачи заднего хода *6 Выходной вал
        *7 5-я передача *8 1-я передача
        *9 Передача заднего хода *10 2-я передача
        *11 3-я передача *12 4-я передача
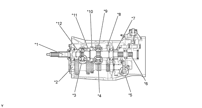
        A01J2MZE01
        Обозначения на рисунке (для моделей с двигателем 2TR-FE):
        *1 Первичный вал *2 Промежуточный вал
        *3 Одноконусный механизм синхронизации *4 Трехконусный механизм синхронизации
        *5 Механизм синхронизации передачи заднего хода *6 Выходной вал
        *7 5-я передача *8 1-я передача
        *9 Передача заднего хода *10 2-я передача
        *11 3-я передача *12 4-я передача
        Механизм синхронизации
        Передача 1-я 2-я 3-я, 4-я и 5-я Заднего хода
        Тип механизма синхронизации

        Трехконусный*1

        Одноконусный*2

        Трехконусный Одноконусный Заднего хода

        • *1: для моделей с двигателем 1GR-FE

        • *2: для моделей с двигателем 2TR-FE

    2. Механизм синхронизации передачи заднего хода


      1. Механизм синхронизации передачи заднего хода состоит из 2 сухарей, пружины сухарей и возвратной пружины сухарей.

        A01J2MEE01
        Обозначения на рисунке
        *1 Задающая шестерня 5-й передачи *2 Скользящая муфта
        *3 Сухарь *4 Пружина сухарей
        *5 Возвратная пружина сухарей *6 Пружинное стопорное кольцо
  2. ПРИНЦИП РАБОТЫ


    1. Механизм синхронизации передачи заднего хода


      1. При переключении на 5-ю передачу 2 сухаря двигаются синхронно со скользящей муфтой (F1). Точка "A" действует как центр вращения, и 2 сухаря смещаются, отжимая блокирующее кольцо синхронизатора исключительно на величину передаточного отношения рычажного механизма (F2). Усилие, необходимое для переключения, может быть снижено только за счет этой величины.

        A01J2UOE01
        Обозначения на рисунке
        *1 Скользящая муфта *2 Сухарь
        *3 Блокирующие кольца синхронизатора - -
        *a А - -
        A01J2OA Направление перемещения скользящей муфты A01J2L7 F1
        A01J2VX F2 - -
      2. При переключении на заднюю передачу 2 сухаря двигаются синхронно со скользящей муфтой (F1). Когда в качестве опоры служит точка "В", 2 сухаря смещаются, сдвигая блокирующее кольцо синхронизатора (F2). В результате происходит торможение вращения промежуточного вала, и предотвращается шум шестерен.

        A01J2TTE01
        Обозначения на рисунке
        *1 Скользящая муфта *2 Сухарь
        *3 Блокирующие кольца синхронизатора - -
        *a B - -
        A01J2OA Направление перемещения скользящей муфты A01J2L7 F1
        A01J2VX F2 - -