СИСТЕМА МЕХАНИЧЕСКОЙ ТРАНСМИССИИ ДЕТАЛЬНОЕ ОПИСАНИЕ


  1. CONSTRUCTION


    1. Gear Train


      1. The transmission synchromesh mechanism is an all-speed constant mesh type.

        A01J2OCE01
        Text in Illustration
        *1 Input Shaft *2 Counter Shaft
        *3 Single-cone Type Synchromesh Mechanism *4 Triple-cone Type Synchromesh Mechanism
        *5 Reverse Synchromesh Mechanism *6 Output Shaft
        *7 5th Gear *8 1st Gear
        *9 Reverse Gear *10 2nd Gear
        *11 3rd Gear *12 4th Gear
        Synchromesh Mechanism
        Gear 1st 2nd 3rd, 4th and 5th Reverse
        Synchromesh Mechanism Type Single-cone Triple-cone Single-cone Reverse
    2. Reverse Synchromesh Mechanism


      1. The reverse synchromesh mechanism consists of 2 shifting keys, a shifting key spring and a shifting key return spring.

        A01J2MEE01
        Text in Illustration
        *1 Counter 5th Gear *2 Hub Sleeve
        *3 Shifting Key *4 Shifting Key Spring
        *5 Shifting Key Return Spring *6 Snap Ring
  2. OPERATION


    1. Reverse Synchromesh Mechanism


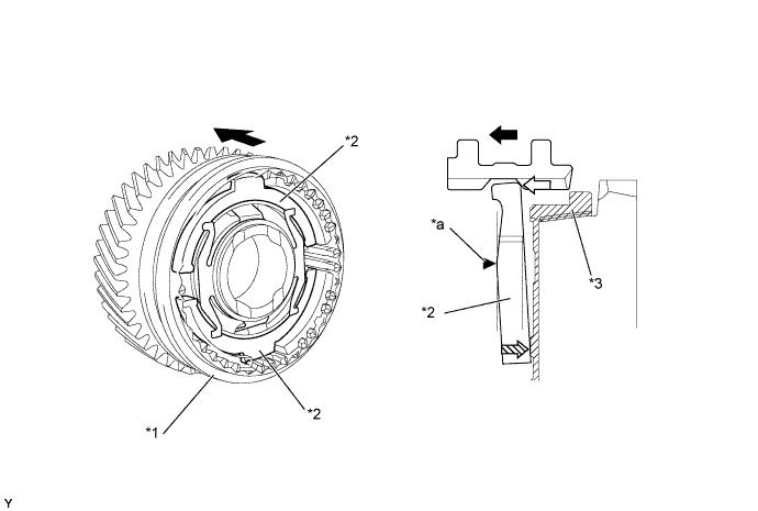
      1. While shifting into 5th, the 2 shifting keys move in unison with the hub sleeve (F1). With "A" acting as the fulcrum, the 2 shifting keys move to push the synchronizer ring only for the amount of the lever ratio (F2). The shift effort can be reduced only by this amount.

        A01J2UOE01
        Text in Illustration
        *1 Hub Sleeve *2 Shifting Key
        *3 Synchronizer Ring - -
        *a A - -
        A01J2OA Hub Sleeve Moving Direction A01J2L7 F1
        A01J2VX F2 - -
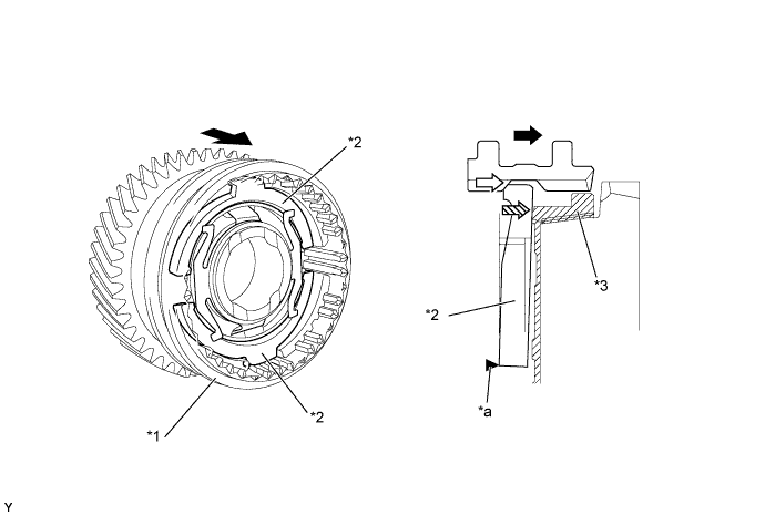
      2. While shifting into reverse, the 2 shifting keys move in unison with the hub sleeve (F1). With "B" acting as the fulcrum, the 2 shifting keys move to push the synchronizer ring (F2). As a result, a brake is applied to the rotation of the counter shaft and gear noise is prevented.

        A01J2TTE01
        Text in Illustration
        *1 Hub Sleeve *2 Shifting Key
        *3 Synchronizer Ring - -
        *a B - -
        A01J2OA Hub Sleeve Moving Direction A01J2L7 F1
        A01J2VX F2 - -