СИСТЕМА АВТОМАТИЧЕСКОЙ ТРАНСМИССИИ ДЕТАЛЬНОЕ ОПИСАНИЕ


  1. НАЗНАЧЕНИЕ ОСНОВНЫХ УСТРОЙСТВ

    Устройство Функция
    Гидротрансформатор в сборе
    • Передает мощность двигателя в трансмиссию.

    • Увеличивает крутящий момент двигателя.

    Масляный насос Создает давление масла, необходимое для работы трансмиссии.

    Муфта прямой повышающей передачи (C0)

    Соединяет солнечную шестерню повышающей планетарной передачи и водило повышающей планетарной передачи.

    Муфта переднего хода (C1)

    Соединяет первичный вал и коронную шестерню передней планетарной передачи.

    Муфта прямой передачи (C2)

    Соединяет первичный вал и солнечную шестерню передней и задней планетарных передач.

    Тормоз повышающей передачи (B0)

    Препятствует вращению солнечной шестерни повышающей планетарной передачи по часовой стрелке или против часовой стрелки.

    Инерционный тормоз 2-й передачи (B1)

    Препятствует вращению солнечной шестерни передней и задней передач по часовой стрелке или против часовой стрелки.

    Тормоз 2-й передачи (B2)

    Препятствует вращению наружного кольца F1по часовой стрелке или против часовой стрелки, а также вращению солнечной шестерни передней и задней передач против часовой стрелки.

    Тормоз 1-й передачи и передачи заднего хода (B3)

    Препятствует вращению водила задней планетарной передачи по часовой стрелке или против часовой стрелки.

    Муфта свободного хода повышающей передачи (C0)

    Соединяет солнечную шестерню повышающей планетарной передачи и водило планетарной передачи, когда мощность двигателя передается на первичный вал повышающей передачи.

    Муфта свободного хода в сборе (F1)

    Препятствует вращению солнечной шестерни передней и задней планетарных передач против часовой стрелки во время действия B2.

    Муфта свободного хода № 2 (F1)

    Препятствует вращению водила задней планетарной передачи против часовой стрелки.
    Шестерни планетарной передачи Изменяют путь передачи мощности в соответствии с режимами муфт и тормозов, обеспечивая соответствующее увеличение или уменьшение частоты вращения выходного вала.
    Электромагнитные клапаны переключения передач S1 и S2 Переключают клапаны переключения передач.
    Электромагнитный клапан переключения передач SLT Регулирует линейное давление.
    Электромагнитный клапан переключения передач SL Управляет муфтой блокировки.
    Датчик температуры ATF Определяет температуру ATF.
    Датчик частоты вращения первичного вала (NCO) Определяет частоту вращения первичного вала трансмиссии.
    Датчик частоты вращения выходного вала (SP2) Определяет частоту вращения выходного вала трансмиссии.
    Датчик положения паркинга/нейтрали в сборе Определяет положение рычага переключения передач (P, R, N, D, 2, L).
    ЭБУ блокировки селектора в сборе Датчик положения селектора передач Регистрирует перевод рычага переключения передач в положение 3.
    Индикатор-переключатель раздаточной коробки (датчик положения L4) Служит для определения пониженной передачи в раздаточной коробке.
    Индикатор-переключатель раздаточной коробки (датчик нейтрального положения) Служит для определения нейтрального положения раздаточной коробки.
    ECM
    • Управляет всеми электромагнитными клапанами переключения передач и регулирует мощность двигателя в соответствии с сигналами от различных датчиков и переключателей.

    • Служит для диагностики и сохранения в памяти данных о неисправном участке в том случае, если блоком ECM регистрируется неисправность.

    Щиток приборов в сборе Индикатор положения рычага переключения Отображает положение рычага переключения передач.
    MIL Горит или мигает, информируя водителя о том, что ECM обнаружил неисправность.
    Контрольная лампа температуры ATF Загорается для предупреждения водителя, когда температура ATF становится высокой.
    DLC3 Диагностические коды неисправностей (DTC) можно считать, подключив портативный диагностический прибор II.
  2. УПРАВЛЕНИЕ В СИСТЕМЕ

    Электронное управление автоматической трансмиссией
    Управление Функция
    Управление порядком переключения передач ECM подает ток в электромагнитные клапаны переключения передач S1 и/или S2 на основании сигналов от различных датчиков для переключения передач.
    Управление линейным давлением Система приводит в действие электромагнитный клапан переключения передач SLT, управляющий линейным давлением, согласно данным ECM и режиму работы трансмиссии.
    Регулирование крутящего момента двигателя Временно уменьшает угол опережения зажигания двигателя для улучшения ощущения переключения во время повышения или понижения передачи.
    Управление, препятствующее продольному наклону кузова при переключении из положения N в положение D Когда рычаг переключения передач переводится из положения N в положение D, перед 1-й передачей временно включается 4-я передача, чтобы уменьшить продольный наклон кузова.
    Регулировка моментов включения/выключения блокировки Исходя из сигналов от различных датчиков, ECM подает ток в электромагнитный клапан переключения передач SL и включает или выключает муфту блокировки.

    1. Управление линейным давлением


      1. Чтобы получить заданную характеристику линейного давления, соответствующую сигналам всех датчиков, ECM приводит в действие электромагнитный клапан переключения передач SLT для регулирования давления дроссельной заслонки.

      2. Это дает возможность первичному клапану-регулятору точно управлять линейным давлением в соответствии с мощностью двигателя, тем самым сглаживая характеристики переключения.

        A01J2OTE01
    2. Регулирование крутящего момента двигателя


      1. Включение муфт и тормозов планетарного редуктора в трансмиссии осуществляется плавно за счет кратковременного уменьшения угла опережения зажигания в двигателе при переключении на более высокую или более низкую передачу. Когда ECM исходя из сигналов принимает решение о необходимости переключения передачи, он приводит в действие электромагнитные клапаны переключения передач, чтобы выполнить переключение. Как только начинается переключение передачи, ECM уменьшает угол опережения зажигания, чтобы уменьшить крутящий момент двигателя. В результате снижаются усилия включения муфт и тормозов планетарных редукторов, и переключение передачи происходит плавно.

        A01J2QOE01
    3. Регулировка моментов включения/выключения блокировки


      1. Когда рычаг переключения передач находится в положении D или 3, ECM регулирует моменты включения/выключения блокировки, обеспечивая снижение расхода топлива на высшей передаче.

        Регулировка моментов включения/выключения блокировки
        Передача Положение рычага переключения передач
        D 3
        1-я X X
        2-я X X
        3-я X
        4-я -

        Tech Tips

        ○: действует

        X: не действует

  3. ФУНКЦИИ


    1. Система блокировки селектора


      1. Система блокировки селектора не позволяет устанавливать рычаг переключения передач в какое-либо положение помимо P, если замок зажигания не находится в состоянии ON (ВКЛ), и не нажата педаль тормоза. Это предотвращает непреднамеренное трогание автомобиля с места.

      2. Система блокировки селектора работает под управлением ЭБУ блокировки селектора и обеспечивает блокировку селектора и блокировку ключа.

      3. ЭБУ блокировки селектора определяет положение рычага переключения передач с помощью встроенного датчика положения P и принимает сигналы, поступающие от выключателя стоп-сигналов и замка зажигания. После получения этих сигналов ЭБУ блокировки селектора включает соленоид блокировки селектора и соленоид блокировки ключа, чтобы снять блокировку селектора и ключа.

      4. Функция блокировки ключа не дает извлечь ключ из замка зажигания после выключения зажигания, если рычаг переключения передач не установлен в положение P. Поэтому при парковке водитель вынужден выбирать положение P.

      5. Предусмотрена кнопка разблокировки селектора, которая позволяет вручную отключить механизм блокировки селектора.

        A01J2N3E01
  4. КОНСТРУКЦИЯ


    1. Гидротрансформатор в сборе


      1. В трансмиссии используется компактный облегченный мощный гидротрансформатор. Работа гидротрансформатора в режиме гибкого управления муфтой блокировки обеспечивает дополнительную экономию топлива.

        A01J2O3E01
        Обозначения на рисунке
        *1 Муфта блокировки *2 Ротор турбины
        *3 Муфта свободного хода *4 Статор
        *5 Рабочее колесо насоса - -
    2. Масляный насос в сборе


      1. Масляный насос приводится в движение гидротрансформатором. Он смазывает планетарные редукторы и создает рабочее давление жидкости для гидропривода. Двигатель посредством рабочего колеса насоса непрерывно вращает ведущую шестерню переднего масляного насоса. Насос обладает достаточной производительностью для того, чтобы создавать необходимое давление жидкости во всех диапазонах частот вращения, а также в режиме заднего хода.

        A01J2S5E01
        Обозначения на рисунке
        *1 Сальник *2 Корпус переднего масляного насоса в сборе
        *3 Ведущая шестерня переднего масляного насоса *4 Крышка масляного насоса
        *5 Вал статора в сборе *6 Ведомая шестерня переднего масляного насоса
    3. Планетарный редуктор


      1. Зубчатая передача включает в себя три многодисковых муфты, три многодисковых тормоза, один ленточный тормоз, три муфты свободного хода и три планетарных передачи, каждая из которых состоит из солнечной шестерни, сателлита и коронной шестерни.

        A01J2NIE01
        Обозначения на рисунке
        *1 Первичный вал повышающей передачи *2 Планетарная повышающая передача в сборе
        *3 Первичный вал *4 Передняя планетарная передача в сборе
        *5 Выходной вал *6 Задняя планетарная передача в сборе
        *7

        Муфта свободного хода № 2 (F1)

        *8

        Тормоз 1-й передачи и передачи заднего хода (B3)

        *9

        Муфта свободного хода в сборе (F1)

        *10

        Тормоз 2-й передачи (B2)

        *11

        Муфта переднего хода (C1)

        *12

        Муфта прямой передачи (C2)

        *13

        Инерционный тормоз 2-й передачи (B1)

        *14

        Муфта свободного хода повышающей передачи (C0)

        *15

        Муфта прямой повышающей передачи (C0)

        *16

        Тормоз повышающей передачи (B0)

        A01J2U9E01
        Обозначения на рисунке
        *1 Первичный вал повышающей передачи *2 Планетарная повышающая передача в сборе
        *3 Первичный вал *4 Передняя планетарная передача в сборе
        *5 Задняя планетарная передача в сборе *6 Выходной вал
    4. Корпус клапанов трансмиссии в сборе


      1. Блок клапанов трансмиссии в сборе включает в себя верхний и нижний корпусы клапанов, а также 4 электромагнитных клапанов переключения.

        A01J2SXE01
        Обозначения на рисунке
        *1 Верхний корпус клапанов *2 Нижний корпус клапанов
        *3 Электромагнитный клапан переключения передач SL *4 Электромагнитный клапан переключения передач SLT
        *5 Электромагнитный клапан переключения передач S2 *6 Электромагнитный клапан переключения передач S1
        *7 Пластина - -
        A01J2V3E04
        Обозначения на рисунке (верхний корпус клапанов)
        *1 Релейный клапан блокировки *2 Клапан переключения 3-4
        *3 Клапан регулятора движения по инерции на 2-й передаче *4

        Обратный клапан B3

        *5

        Обратный клапан C2

        *6 Реверсивный клапан управления
        *7 Клапан переключения 2-3 *8 Вспомогательный клапан-регулятор
        A01J2WLE03
        Обозначения на рисунке (нижний корпус клапанов)
        *1 Первичный клапан-регулятор *2 Клапан переключения 1-2
        *3 Клапан регулятора слабого движения по инерции *4 Клапан управления гидроаккумулятора
        *5 Электромагнитный регулирующий клапан *6 Обратный клапан отсечки
        *7 Клапан управления блокировкой - -
    5. Электромагнитные клапаны переключения передач S1 и S2


      1. Электромагнитные клапаны переключения передач S1 и S2 представляют собой 2-ходовые электромагнитные клапаны.

      2. Для улучшения эксплуатационной надежности упор каждого электромагнитного клапана снабжен фильтром.

        A01J2LRE01
        Обозначения на рисунке (электромагнитные клапаны переключения передач S1 и S2)
        *1 Фильтр - -
        A01J2OA Магистральное давление A01J2L7 Управляющее давление
        Назначение электромагнитных клапанов переключения передач S1 и S2
        Электромагнитный клапан переключения передач Функция
        S1 Управляет клапаном переключения передач 2-3.
        S2 Управляет клапанами переключения передач 1-2 и 3-4 .
    6. Электромагнитные клапаны переключения передач SLT и SL


      1. На основании сигналов, поступающих от ECM, электромагнитный клапан переключения передач SLT по линейному закону регулирует линейное давление, создавая гидравлическое давление, которое пропорционально силе тока, протекающего через катушку электромагнита.

        A01J2M0E02
      2. Электромагнитный клапан переключения передач SL представляет собой 2-ходовой электромагнитный клапан.

      3. Для улучшения эксплуатационной надежности упор электромагнитного клапана снабжен фильтром.

        A01J2LRE01
        Обозначения на рисунке (электромагнитный клапан переключения передач SL)
        *1 Фильтр - -
        A01J2OA Магистральное давление A01J2L7 Управляющее давление
        Назначение электромагнитных клапанов переключения передач SLT и SL
        Электромагнитный клапан переключения передач Функция
        SLT
        • Управление линейным давлением

        • Регулирование обратного давления гидроаккумулятора

        SL
        • Регулирование давления муфты блокировки

        • Регулирование обратного давления гидроаккумулятора

    7. Датчик температуры ATF


      1. Датчик температуры ATF, установленный на выпуске масла, определяет температуру ATF, необходимую для переключения и выполнения различных функций управления, и передает соответствующий сигнал в ECM.

        A01J2RNE01
        Обозначения на рисунке
        *1 Датчик температуры ATF - -
    8. Датчики частоты вращения


      1. В рассматриваемой автоматической трансмиссии применяются датчик частоты вращения первичного вала (для получения сигнала NCO) и датчик частоты вращения выходного вала (для получения сигнала SP2). С их помощью ECM может определять порядок переключения передач и, соответственно, регулировать крутящий момент двигателя и гидравлическое давление в зависимости от условий движения.

      2. Эти датчики представляют собой датчики индуктивного типа.

      3. Датчик частоты вращения первичного вала определяет частоту вращения первичного вала трансмиссии. В качестве задающего ротора для этого датчика используется барабан муфты прямой повышающей передачи.

      4. Датчик частоты вращения выходного вала измеряет частоту вращения выходного вала.

        A01J2KUE01
        Обозначения на рисунке
        *1 Барабан муфты прямой повышающей передачи *2 Датчик частоты вращения первичного вала
        *3 Датчик частоты вращения выходного вала *4 Выходной вал
    9. Датчик положения паркинга/нейтрали в сборе и датчик положения селектора передач


      1. ECM использует датчик положения паркинга/нейтрали в сборе и датчик положения селектора передач для определения положения рычага переключения передач.

      2. Датчик положения паркинга/нейтрали передает в ECM сигналы положений R, 2, L и NSW. Кроме того, с помощью этого датчика осуществляется передача сигналов положений P, R, N, 2 и L на индикатор положения рычага переключения, который находится на щитке приборов.

      3. Датчик положения селектора передач встроен в ЭБУ блокировки селектора в сборе. Он передает сигнал "3" в ECM. Кроме того, с помощью этого датчика осуществляется передача сигнала положений D и 3 на индикатор положения рычага переключения, который находится на щитке приборов.

        A01J2V8E01
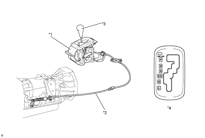
    10. Механизм управления переключением передач


      1. В трансмиссии используется рычаг переключения передач кулисного типа с тросом механизма переключения передач.

      2. Механизм управления переключением передач включает в себя напольный механизм переключения передач в сборе и трос механизма переключения передач в сборе.

        A01J2POE01
        Обозначения на рисунке
        *1 Напольный механизм переключения передач в сборе *2 Трос механизма переключения передач в сборе
        *3 Рукоятка рычага переключения передач - -
        *a Схема переключения передач - -
  5. ПРИНЦИП РАБОТЫ


    1. Передача мощности в трансмиссии

      Условия работы
      Положение рычага переключения передач и диапазон передач Положение рычага переключения передач Электромагнитный клапан переключения передач Сцепление Тормоз Муфта свободного хода
      S1 S2

      C0

      C1

      C2

      B0

      B1

      B2

      B3

      F0

      F1

      F2

      P Парковочная Вкл Выкл - - - - - - - - -
      R Заднего хода Вкл Выкл - - - - - -
      N Нейтральное положение Вкл Выкл - - - - - - - - -
      D 1-я Вкл Выкл - - - - - -
      2-я Вкл Вкл - - - - -
      3-я Выкл Вкл - - - - -
      4-я Выкл Off (Выкл.) - - - - - -
      3 1-я Вкл Выкл - - - - - -
      2-я Вкл Вкл - - - - -
      3-я Выкл Вкл - - - - -
      2 1-я Вкл Выкл - - - - - -
      2-я* Вкл Вкл - - (○) - -
      L 1-я* Вкл Выкл - - - - (○) -

      Tech Tips

      ○: действует

      (○): действует при торможении двигателем

      -: Не действует

      *: во время торможения двигателем


      1. 1-я передача (рычаг переключения передач в положении D, 3 или 2)

        A01J2L5
        Обозначения на рисунке
        A01J2X6 действует - -
      2. 2-я передача (рычаг переключения передач в положении D или 3)

        A01J2TQ
        Обозначения на рисунке
        A01J2X6 действует - -
      3. 3-я передача (рычаг переключения передач в положении D или 3)

        A01J2TP
        Обозначения на рисунке
        A01J2X6 действует - -
      4. 4-я передача (рычаг переключения передач в положении D)

        A01J2UC
        Обозначения на рисунке
        A01J2X6 действует - -
      5. Торможение двигателем на 1-й передаче (рычаг переключения передач в положении L)

        A01J2W6
        Обозначения на рисунке
        A01J2X6 действует A01J2TC действует при торможении двигателем
      6. Торможение двигателем на 2-й передаче (рычаг переключения передач в положении 2 или L)

        A01J2XQ
        Обозначения на рисунке
        A01J2X6 действует A01J2TC действует при торможении двигателем
      7. Передача заднего хода (рычаг переключения передач в положении R)

        A01J2VN
        Обозначения на рисунке
        A01J2X6 действует - -
  6. РАБОТА В АВАРИЙНОМ РЕЖИМЕ


    1. Аварийный режим работы сводит к минимуму ухудшение эксплуатационных качеств автомобиля при выходе из строя какого-либо датчика или электромагнитного клапана.

      Перечень действий в аварийном режиме
      Неисправная деталь Функция
      Датчик частоты вращения выходного вала (SP2) При неисправности датчика частоты вращения выходного вала управление переключением передач осуществляется с использованием сигнала датчика частоты вращения первичного вала (NCO) и сигнала частоты вращения коленчатого вала двигателя (NE).
      Датчик температуры ATF При неисправности датчика температуры ATF система осуществляет управление, используя фиксированное значение температуры ATF, равное 80°C (176°F).
      Электромагнитные клапаны переключения передач S1 / S2 Неисправный электромагнитный клапан переключения передач обесточивается, и управление осуществляется с помощью оставшихся работоспособных электромагнитных клапанов.
      Электромагнитный клапан переключения передач SLT При неисправности электромагнитного клапана переключения передач SLT подача тока в электромагнитный клапан прекращается. По этой причине управление линейным давлением прекращается, и толчок при включении передачи усиливается. Тем не менее, переключение осуществляется путем обычного регулирования давления муфты.
      Электромагнитный клапан переключения передач SL При неисправности электромагнитного клапана переключения передач SL подача тока в электромагнитный клапан прекращается. В результате отключается управление блокировкой, и повышается расход топлива.
  7. ДИАГНОСТИКА


    1. Когда ECM обнаруживает неисправность, он производит диагностику и сохраняет в памяти данные о неисправном узле. Кроме того, ECM включает или заставляет мигать контрольную лампу неисправности (MIL) на щитке приборов, информируя водителя о неисправности.

    2. Также ECM сохраняет в памяти DTC (диагностические коды неисправности).

    3. Считать коды DTC можно, подключив портативный диагностический прибор II к разъему DLC3.

    4. Более подробную информацию см. в руководстве по ремонту для данной модели.