СИСТЕМА АВТОМАТИЧЕСКОЙ ТРАНСМИССИИ РАСПОЛОЖЕНИЕ ДЕТАЛЕЙ

A01J2M3E01
Обозначения на рисунке
*1 Датчик частоты вращения первичного вала (NCO) *2 Электромагнитный клапан переключения передач SL
*3 Электромагнитный клапан переключения передач SLT *4 Электромагнитный клапан переключения передач S2
*5 Электромагнитный клапан переключения передач S1 *6 Датчик частоты вращения выходного вала (SP2)
*7 Датчик положения паркинга/нейтрали в сборе *8 Датчик температуры ATF
*9 Индикатор-переключатель раздаточной коробки (датчик положения L4) *10 Индикатор-переключатель раздаточной коробки (датчик нейтрального положения)
A01J2U6E02
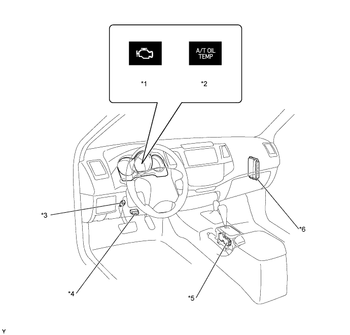
Обозначения на рисунке
*1 MIL *2 Контрольная лампа температуры ATF
*3 Выключатель стоп-сигналов в сборе *4 DLC3
*5

ЭБУ блокировки селектора в сборе

- Датчик положения селектора передач

*6 ECM