СИСТЕМА РУЛЕВОЙ КОЛОНКИ ДЕТАЛЬНОЕ ОПИСАНИЕ


  1. КОНСТРУКЦИЯ


    1. Ручной механизм регулировки наклона


      1. Ручной механизм регулировки наклона обеспечивает регулировку положения рулевого колеса в вертикальном направлении с помощью рычага. Таким образом, водитель может выбрать наиболее комфортное положение при движении.

      2. Фиксация ручного механизма регулировки наклона осуществляется рычагом наклона.

        A01J2O6E01
        Обозначения на рисунке
        *1 Рычаг наклона - -
        *a Свободное положение рычага регулировки наклона *b Фиксированное положение рычага регулировки наклона
        *c Диапазон перемещения составляет 28,0 мм (1,1 дюйма) - -
    2. Травмобезопасный механизм


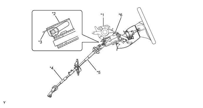
      1. Энергопоглощающий механизм, встроенный в рулевую колонку, состоит из нижней скобы, амортизирующей пластины, разрывной скобы, телескопического соединения рулевого вала с муфтой в сборе и промежуточного рулевого вала № 2 в сборе.

      2. Рулевая колонка закреплена на усилении панели приборов с помощью нижней скобы и разрывной скобы. Рулевая колонка и узел тяги рулевого управления с усилителем соединяются втягивающимся узлом № 2 промежуточного рулевого вала.

        A01J2VDE01
        Обозначения на рисунке
        *1 Усиление панели приборов *2 Нижняя скоба
        *3 Амортизирующая пластина *4 Промежуточный вал рулевого управления № 2 в сборе
        *5 Телескопическое соединение рулевого вала с муфтой *6 Разрывная скоба
      3. Перемещение рулевого механизма в сборе во время столкновения (первичное столкновение) приводит к сжиманию промежуточного рулевого вала № 2 в сборе, что способствует сокращению выдвижения рулевой колонки в сборе и рулевого колеса в салон.

      4. Когда при столкновении ударное воздействие передается на рулевое колесо (вторичное воздействие), рулевое колесо способствует поглощению удара. Кроме того, разрывная и нижняя скобы разделяются, в результате чего рулевая колонка уходит вперед. В этот момент амортизирующая пластина деформируется, и телескопическое соединение рулевого вала с муфтой в сборе втягивается, поглощая энергию вторичного столкновения.

        A01J2TYE01
        Обозначения на рисунке
        *1 Амортизирующая пластина *2 Нижняя скоба
        *3 Телескопическое соединение рулевого вала с муфтой *4 Промежуточный вал рулевого управления № 2 в сборе
        *a До столкновения *b После столкновения