СИСТЕМА СМАЗКИ ДЕТАЛЬНОЕ ОПИСАНИЕ


  1. CONSTRUCTION


    1. Oil Pump


      1. A cycloid rotor type oil pump is used. This oil pump is integrated with the timing chain cover.

      2. This oil pump is directly driven by the crankshaft.

      3. Ordinarily, the timing chain cover with oil pump construction has only a single position for mounting the oil pump rotor to the crankshaft, when installing the timing chain cover. However, in this engine, the inner shape of the oil pump rotor and the shape of the area of the crankshaft on which the rotor is mounted have been designed to provide 4 different assembly patterns. Thus, the serviceability for assembling the timing chain cover has been improved.

        A01J2UJE01
        Text in Illustration
        *1 Timing Chain Cover *2 Oil Pump
        *3 Crankshaft *4 Oil Pump Rotor
        *a View from A - -
    2. Oil Nozzle


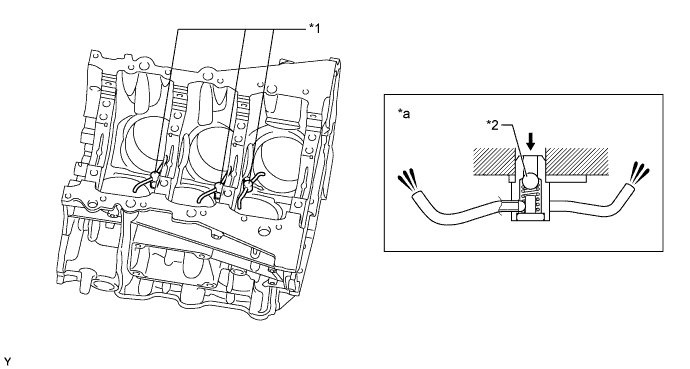
      1. Oil nozzles are provided in the center of the right and left banks of the cylinder block for cooling and lubricating the pistons.

      2. These oil nozzles contain a check valve to prevent oil from being fed when the oil pressure is low. This prevents the overall oil pressure in the engine from dropping.

        A01J2QEE01
        Text in Illustration
        *1 Oil Nozzle *2 Check Valve
        *a Oil Nozzle Cross Section - -
        A01J2OA Oil - -
    3. Oil Filter Bracket


      1. The oil filter is mounted on an oil filter bracket placed on the left bank. Therefore, the oil filter can be replaced easily.

      2. During an oil filter replacement, the filter is removed upward. Therefore, the oil filter bracket is designed to catch the oil that leaks from the oil filter. The oil that is initially caught by the oil filter bracket is discharged from a drain pipe that is provided underneath.

        A01J2RHE01
        Text in Illustration
        *1 Oil Filter *2 Oil Filter Bracket
        *3 Drain Pipe with Cap - -

        Tech Tips


        • Before removing the oil filter, prepare to catch the oil that will be discharged from the drain pipe. Use a vessel to catch the oil as illustrated below, or attach a hose to the drain pipe and catch the oil on a tray.

        • After completing the oil drain operation, do not forget to replace the rubber cap on the drain pipe.

          A01J2MPE01
          Text in Illustration
          *1 Oil Filter *2 Vessel
          *3 Drain Hose - -