СИСТЕМА ОХЛАЖДЕНИЯ ОБЩИЕ СВЕДЕНИЯ


  1. OUTLINE


    1. The cooling system uses a pressurized forced-circulation system with an open air type reservoir tank.

    2. A thermostat with a bypass valve is located on the water inlet housing to maintain suitable temperature distribution in the cooling system.

    3. An aluminum radiator core is used for weight reduction.

    4. A 3-stage linear temperature-controlled fluid coupling assembly is used.

    5. A water-cooled oil cooler is used.

    6. Toyota Genuine Super Long Life Coolant (SLLC) is used.

      A01J2XKE01
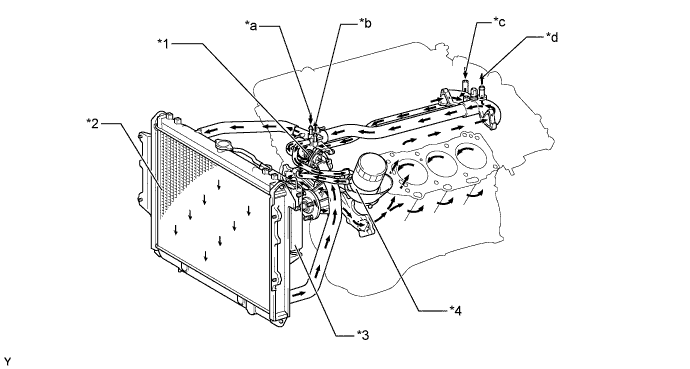
      Text in Illustration
      *1 Thermostat *2 Radiator Assembly
      *3 Reservoir Tank *4 Oil Cooler Assembly
      *a From Throttle Body *b To Throttle Body
      *c From Heater Core *d To Heater Core
  2. SPECIFICATION


    1. Engine Coolant


      1. Toyota Genuine SLLC is used. The maintenance intervals are as shown in the table below:

        Engine Coolant Type Toyota Genuine Super Long Life Coolant (SLLC) or similar high quality ethylene glycol based non-silicate, non-amine, non-nitrite and non-borate coolant with long-life hybrid organic acid technology (coolant with long-life hybrid organic acid technology is a combination of low phosphates and organic acids). Do not use plain water alone.
        Maintenance Intervals First Time 160000 km (100000 miles)
        Subsequent Every 80000 km (50000 miles)
        Color Pink

        Tech Tips

        SLLC is pre-mixed (50% coolant and 50% deionized water). Therefore, no dilution is needed when SLLC in the vehicle is added or replaced.

    2. Thermostat

      Thermostat Opening Temperature 80°C to 84°C (176°F to 183°F)